ecosmart PHFT30S Fire Table

Thank You for Choosing us !
Our goal is to provide high quality outdoor furniture with outstanding customer service-all at an affordable price.
Please let us know how we are doing!
Problems?
If you meet any problems during use, you can contact us [email protected]
Warnings
DANGER
- CARBON MONOXIDE HAZARD
- This appliance can produce carbon monoxide which has no odor. Using it in an enclosed space can kill you.
- For outdoor use only.
- Never use in the unventilated or enclosed areas.
- IF YOU SMELL GAS:
- Shut off gas to the appliance.
- Extinguish any open flame.
- If odor continues, keep away from the appliance and immediately call your gas supplier or fire department for help.
WARNING
- WARNING indicates an imminently hazardous situation which, if not avoided, will result in death or serious injury.
- Do not store or use gasoline or other flammable vapors and liquids in the vicinity of this or any other appliance. An LP-cylinder not connected for use shall not be stored in the vicinity of this or any other appliance.
WARNING
- If the propane gas tank is leaking gas, you may hear, see, or smell a hiss. Do the following:
- Disconnect the propane gas tank.
- Do not attempt to fix the problem by yourself.
- Move yourself and all persons away from the immediate area.
- Do not use a flame to check for gas leaks.
- Keep gas tank at least 5 ft away from unit when lit. (if external tank)
- The maximum gas supply pressure is 250 psi
WARNING
- Improper installation, adjustment, alteration, service or maintenance can cause injury or property damage.
- Read the owners manual thoroughly before installing or servicing this equipment. If the information in this manual is not followed exactly, a fire or explosion may result causing property damage, personal injury, or loss of life.
WARNING
- The installation of this unit must adhere to local codes or either the National Fuel Gas Code, ANSI Z223. 1/NFPA54, OR CAN/CGA- B149.1, National Gas and Propane Installation Code.
- This unit is to be used with propane gas only! (sold separately), is not intended for natural gas.
- Do not use any solid fuel or charcoal for this unit.
- Do not use any more than 1/4in depth lava rocks/ pumice stones/Lava Glass above the burner holes. Doing so will suffocate the flame.
WARNING
- Applying too much propane may result in gas pooling and will not burn. Allow fresh air into the unit so that the remaining gas may escape.
- Use LP propane tanks with the following dimensions: diameter 12inch, height 18inch, capacity 20lbs.
- You must use a propane tank that has a collar to protect the gas valve.
- DO NOT fill tank over 80 Percent full.
- The LP gas tank must have a listed overfilling prevention device and a QCCI or Type I, (CGA810) LP gas tank connection.
- The gas supply tank should be constructed and marked with the specifications for the LP gas tanks of the U.S. Department of Transportation or the National Standard of Canada CAN/CSA-B339, LP gas tanks, spheres and tubes for Transportation of Dangerous Goods and Commission.
- Discontinue use if any part of the propane tank is damaged. Rust and dents may be hazardous and should be inspected by a gas supplier.
WARNING
- The tank system must be set up for vapor with drawal.
- Keep away from the unit for the first 20 minutes after igniting your unit for the first time,as pumice stones/fire glass could pop out and cause injury.Should any rocks pop out,discard them.
- Always ensure that lava rocks/pumice stones/fire glass are completely dry before use.
- Do not paint or color any part of this Fire Table.
- Do not sit or rest hands or feet on this Fire Table.
WARNING
- Never place hands or fingers onto upper portion of this unit while in use.
- Keep all electrical cords and fuel supply hose away from heated surfaces.
- Combustible material should Not be within 72 inches of the top of the unit,and within 48 inches around the entire unit. Combustible materials could be and are not limited to any items that may catch fire such as dry vegetation, wood, branches, leaves, plants, buildings, structures, fabrics, clothing, sawdust, all chemicals, and all flammable liquids. Do not paint or color any part of this Fire Table.
- Do not operate on a boat or vehicle.
- This unit can only be used on any stationary outdoor flat surface ONLY.
- All Fire Burner to cool down completely before placing lid.
- Do not store a spare Propane Gas Tank on or near this unit.
- Check for leaks after not using the unit for long periods of time.
WARNING
- Do not operate unit until all parts are fully assembled.
- Do not attempt to move it while in use.
- This unit is not intended for cooking.
- Young children must never operate this fire table.They should be carefully supervised AT ALL TIMES while near the area of the appliance.
- Do not hang clothing or any other flammable materials from the fire pit, or place on or near the fire pit.
- Do not set the protective cover over the unit until it is turned off and completely cooled down.
- Combustible material should not be within 72 inches of the top of the unit, or within 48 inches around the entire unit.
- If the flame goes out while burning, turn the gas valve off. Wait 5 minutes before repeating the initial lighting procedure. Once you have a flame started, hold down the control knob for 1 minute.
WARNING
- Inspect all elements of this heating unit before each use. If there is damage, the burner must be replaced.
- Keep the hose out from any pathways to eliminate any accidental damage. (if external tank)
- Installation and repair should be done by a qualified service person. The appliance should be inspected before use and at least annually by a qualified service person. More frequent cleaning may be required as necessary.
- You must follow all steps to properly assemble this heating item. Make sure the gas valve is turned “OFF” before assembling. Do NOT attempt to assemble without proper tools.
Parts Diagram & List


Assembly Instructions
- Step 1:
Check that the control knob (13) for the gas supply system is turned to the “OFF” position before starting any assembly.
- Step 2:
Place a 20 lbs Propane Gas Tank (not included) into a secure position.Put it into the tank holder (16).Turn the wing screw on the outside of the tank holder (16) clockwise to tighten the tank into the tank holder.
DANGER: Propane tank must be a minimum of 60 inches away at all times.
- Step 3:
Turn the cylinder valve (21) on the tank clockwise direction to TURN OFF SUPPLY of the LP Gas supply-Attach the pressembled Regulator(12/19) from the Fire Table to the Cylinder Value(21) by turning the Black Regulator Coupling Nut(20) clockwise. Make sure it is fastened securely and tighten connections-by HAND only.
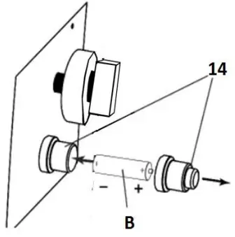
- Step 4:
Remove the Electronic igniter Cap(14) on the Electronic igniter (14) by unscrewing and slide the Battery(17) into the battery slot(14).Make sure the positive side of the Battery(17) faces outwards.Screw the Electronic Igniter Cap(14) over the battery,tightly.
- Step 5:
- Subject to your preference,you may pour Lava Rocks over the Burner Ring.
- The Guard MUST NOT BE BLOCKED.Refer to guidance below:
- Do not place more than 1/4 inch depth of lava rocks above the burner holes.Doing so will suffocate the flame.
- Do not place more than 6.6lb of lava rocks above the burner holes.Doing so will suffocate the flame.
WARNING: Fire Table and LP-Cylinder must be at a minimum of 60 inches apart.
DANGER: To ensure proper function,the Guard (01) on the Burner (08) should never have lava rocks (07) covered over it.
Operation
FOR YOUR SAFETY, READ BEFORE LIGHTING
- Before performing a leak test, make sure that no sparks can occur and you are in a spacious outdoor area.
- Connect the propane gas tank to the regulator and turn the valve on the unit to the “off” position.
- Brush a soap and water mixture on all connections.
- Make sure the igniter battery has been installed properly. The igniter will not operate otherwise.
- Before operating, smell around the appliance and next to the ground for gas odors. If you smell gas or a leak is discovered, immediately turn the gas valve off, disconnect propane gas tank and do not use the appliance until the leak is repaired.
- After turning the gas supply, if bubbles occur on any connection there may be a leak.
- Do not use the appliance if any part has been submerged under water. Immediately call a qualified service technician to inspect the unit and to replace the part.
- Do not use the heating unit without inspecting the gas hose (if applicable).
- If there are signs of wear or abrasion, please immediately replace the hose.
- Pumice stones/lava rocks/Lava Glass could pop up and strike somebody’s face during the process of lighting this unit; stand away from the unit for the first 20 minutes after igniting.
- Inspect the Gas Hose(12) before using the Fire Table.
- If there are signs of wear or abrasion on the hose,you must replace the Gas Hose(12).The Gas Hose must be supplied directly by manufacturer.
- Wait 10 minutes after extinguishing flame prior to replacing a lid(if applicable) or protective cover on to the Fire Table.
LIGHTING INSTRUCTIONS
- Make sure the control knob (13) is in the “off” position
- Push and hold the electronic igniter (14) to create sparks within the electrode, continue to hold.
- Push in the control knob (13) and turn to the “low” position. Keep holding the control knob (13) to allow gas to flow for 15 seconds.
- If ignition does not occur within a few seconds release the control knob (13) and rotate to the “off” position. Wait for 5 minutes for gas to clear and then repeat the above lighting instructions.
- Once the product is lit, the flame intensity may be controlled by turning the control knob (13) between the “low” and “high” positions.
- Observe flame height when lit:
- Flame color should be yellow/blue.
- Flame height burns at 2-20 inches high.
HOW TO EXTINGUISH ?
- Turn control knob (13) clockwise to the “low” position; let the knob pop up and continue turning the control knob (13) to the
“off” position. - Wait 5 minutes after extinguishing flame prior to placing a lid (if applicable) or protective cover on heating item.
- Close the cylinder valve on the propane gas tank if you don’t intend to use it for a long time.
Maintenance & Storage
To enjoy years of outstanding performance from your heater, make sure you perform the following maintenance activities on a regular basis:
- Before performing any maintenance always disconnect propane gas tank.
- Use warm soapy water for cleaning. Never use flammable or corrosive cleaning agents.
- Keep the heating item free and clear from combustible materials.
- Visually inspect burner for obstructions and keep tank enclosure free and clear from debris.
- Use a soft brush to get rid of the mild stains, loose dirt and soil after the burner and pumice stones/lava rocks/Lava Glass completely cooled down. Wipe down with a soft cloth.
- Harsh weather conditions may cause stubborn stains, discoloration and possibly rust pitting.
- Permanent damage may occur if powder or solvent comes in contact with painted or plastic components on this heating unit.
- Keep the heating unit stored away from direct sunlight.
- If storing this unit inside, disconnect the propane gas tank from the gas valve.
- Not using manufacturer approved or supplied parts/accessories may result in a defective condition and void the warranty of this heating unit.
- Always place lid (if applicable) or protective cover on heating item when not in use. Turn control knob OFF.
NOTE: In a salt-air environment (such as near to ocean), corrosion occurs more quickly than normal. Frequently check for corroded areas and repair them promptly.
Trouble Shooting
| PROBLEM | CAUSE | SOLUTION |
|
Burner will not light using igniter | Electrode and burners are wet | Wipe dry with cloth. AA |
| Igniter battery is dead or backwards | Check that the battery is inserted correctly in the igniter or replace the battery.Make sure the plastic wrap on the battery has been removed. | |
| Igniter Pin cracked or broken – sparks a crack | Please contact us to request the parts. | |
|
Residue on Igniter Pin | Check for residue on the igniter pin or Thermocouple. If dirty,thoroughly clean the area. Check that the electronic Ignitor Cap is tightly fitted to the spring.If loose,please adjust the spring accordingly. | |
|
Burner will not light with match | No Gas Flow | Check if the LP gas tank is empty. If empty, replace and refill. If the propane tank is not empty, refer to Problem: Sudden drop in gas flow on the following page. |
| Coupling nut and regulator not fully connected | Turn the coupling nut about one half to three fourths a turn, until you feel a solid stop. Do not use tools, tighten by hand only. | |
| Obstruction of gas flow | Check for bent or kinked hose. | |
| Spider webs or insect nest in the venturi | Clean the venturi. | |
| Burner ports clogged or blocked | Reference Problem: Irregular flame pattern on the following page. Clean the burner ports as described there. | |
|
The fire table emits a lot of black smoke when in use | Hose from gas fire table is pinched | Make sure the hose is not pinched between the fire table and the source of the gas. |
| Flame is being obstructed at burner ports or mixing chamber of the burn tube is blocked or obstructed | Make sure that the gas ports on the burner are free of any lava rocks/fire glass so that the flame can flow naturally.Clear out the mixing chamber located before the Venturi. | |
|
Sudden drop in gas flow, or a reduced flame height | Out of Gas | Check for gas in the LP gas tank. |
|
Excess flow safety device may have been activated | Turn control knob to OFF, wait 30 seconds and light outdoor fire table.if flames are still too low, reset the excessive flow safety device by turning off the control knob and LP gas tank valve. Disconnect regulator. Turn burner control knob to HIGH. Wait at least 5 minutes. Turn burner control knob off. Reconnect regulator and perform a leak check at tank connection. Turn LP gas tank valve on slowly, wait 30 seconds and then light outdoor fire table. | |
|
Irregular flame pattern, flame does not run the full length of the burner |
Burner ports are clogged or blocked | Clean burner ports.Do this by inserting a paperclip into each of the burner ports to ensure they are not clogged. WARNING: Make sure burner is not on, and has had sufficient time to cool before touching it. |
| Flame blow out | High or gusting winds | Increase flame to HIGH setting. |
| Low on LP gas | Replace or refill LP gas tank. | |
| Excess flow valve tripped | Refer to Problem: Sudden drop in gas flow. | |
| Flame seems to lose heat when burning in cold weather – temperature below 50°F | Ice has built up on the outside of the LP gas tank because the vaporization process is too low | Turn the control knob and the LP gas tank to OFF. Replace with a spare LP gas tank and resume burning. Store the spare LP gas tank in a well ventilated area, away from children. |
Problem: Burner JUST LIGHT UP FOR SECOND AND WILL AUTOMATICALLY TURN OFF

- The thermocouple will be under the Pilot Guard on the top of the unit.
Please remove the Pilot guard by unscrewing it from the metal bowl with a screw driver. - Once the Pilot Guard has been removed, you will have two components exposed; the copper one is your
thermocouple. Please unscrew the nut holding the thermocouple in place. - Inside the unit, you will notice that the end of the thermocouple line is directly screwed to the gas valve. Please unscrew
the thermocouple from the back end of the gas valve. Do not take off the valve’s silver backing, only unscrew the small
nut as shown above. - Screw the end of the thermocouple to the back end of the gas valve with the silver backing.
Once this has been done, please test the unit. You may have to reset the gas valve once again as the safety mechanism may
have been set off by the new components introduced:
Resetting Your Gas Valve
- Completely detach the propane tank from the table. Do not forget to turn the propane tank valve down. Turn the heat knob to
high and leave it on that setting for about two to three minutes. - Once you have done propane tank and turn the propane tank’s valve a this, please turn the knob back to off. Hook up the
quarter of a turn at a time. - NOTE: When reattaching the propane tank, please turn the valve to release the gas back in to the unit VERY SLOWLY. We
want the unit to register gas coming through but not too much at once, this will flood the unit and you will have to start all
over! - This is so that the gas valve can register the gas coming through a little at a time. Once you have turned the gas on all the
way please go ahead and try to light the table again. This should reset your fire table’s safety mechanism
Warranty Information
- This product has been manufactured under the highest standards of quality and workmanship.
- We warrant to the original consumer that all aspects of this product will be free of defects in material and workmanship for one year from the date of purchase. A replacement for any defective part will be supplied free of charge for installation by the consumer.
- Defects or damage caused by the use of other than genuine parts are not covered under this warranty.
- This warranty shall be effective from the date of purchase as shown in the purchase receipt.
The manufacturer warranty will be voided by, and manufacturer disclaims any responsibility for, the following actions but not limited:
- Modification of the unit and/or components including the gas valve assembly.
- Use of any component part not manufactured or approved by us.
- Use and installation other than what is listed in this manual.
























