vinci play 0214 Playground Equipment Instruction Manual
Product Overview


Dimensions





Contents



ST/INOX | PLYWOOD / HDPE | HPL | |||
| 3x | E34 (Ki K3) | 3x | E8 (si) | 3x | E9 (Si) |
| 3x | E35 (K2) | 3x | E152 (s6) | 3x | E153 (s6) |
| lx | E44 (m) | 1x | PS21 | 1x | PH21 |
| lx | E80 (K2) | lx | CE2 | lx | CL2 |
| 2x | E88 (K2 K3) | lx | E4 | lx | E5 |
| lx | E38 (K2 K3) | 6x | CE1 | 6x | CL1 |
| E37 (K2 K3) | 2 x | CE4 | 2 x | CL4 | |
| 2x | E51 | lx | PS22 | lx | PH22 |
| 1x | E78 | 2x | PS1 | 2x | PH1 |
| 4x | E28 | 3x | PS2 | 3x | PH2 |
| 27x | El | 1x | PS3 | 1x | PH3 |
| 6x | E3 | 4x | PS31 | 4x | PH31 |
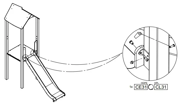
| 1x | E39 | 3x | CE31 | 3x | CL31 |
| lx | E239 | lx | E6 | lx | E7 |
| 1x | V001 | lx | CE111 | lx | CL111 |
Safety Instructions

Inductions







































