makita DRV150 Cordless Rivet Gun Instruction Manual

SPECIFICATIONS
| Model: | DRV150 | DRV250 |
| Pulling force | 10 kN | 20 kN |
| Stroke | 25 mm | 30 mm |
| Overall length | 313 mm | 323 mm |
| Rated voltage | D.C. 18 V | |
| Net weight | 1.9 – 2.2 kg | 2.1 – 2.4 kg |
- Due to our continuing program of research and development, the specifications herein are subject to change without
- Specifications may differ from country to
- The weight may differ depending on the attachment(s), including the battery cartridge. The lightest and heavi- est combination, according to EPTA-Procedure 01/2014, are shown in the table.
Applicable battery cartridge and charger
| Battery cartridge | BL1815N / BL1820 / BL1820B / BL1830 / BL1830B / BL1840 / BL1840B / BL1850 / BL1850B / BL1860B |
| Charger | DC18RC / DC18RD / DC18RE / DC18SD / DC18SE / DC18SF / DC18SH |
- Some of the battery cartridges and chargers listed above may not be available depending on your region of residence
WARNING: Only use the battery cartridges and chargers listed above. Use of any other battery cartridges and chargers may cause injury and/or fire.
Intended use
The tool is intended for installing blind rivet.
Noise
The typical A-weighted noise level determined accord- ing to EN62841-1:
Model DRV150
Sound pressure level (LpA) : 75 dB(A) Uncertainty (K) : 3 dB(A)
Model DRV250
Sound pressure level (LpA) : 74 dB(A) Uncertainty (K) : 3 dB(A)
The noise level under working may exceed 80 dB (A).
NOTE: The declared noise emission value(s) has been measured in accordance with a standard test method and may be used for comparing one tool with another.
NOTE: The declared noise emission value(s) may also be used in a preliminary assessment of exposure.
WARNING: Wear ear protection.
WARNING: The noise emission during actual use of the power tool can differ from the declared value(s) depending on the ways in which the tool is used especially what kind of workpiece is processed.
WARNING: Be sure to identify safety measures to protect the operator that are based on an estimation of exposure in the actual conditions of use (taking account of all parts of the operating cycle such as the times when the tool is switched off and when it is running idle in addition to the trigger time).
Vibration
The vibration total value (tri-axial vector sum) determined according to EN62841-1: Model DRV150
Work mode: Installing blind rivet Vibration emission (ah) : 2.5 m/s2 or less Uncertainty (K) : 1.5 m/s2 Model DRV250
Work mode: Installing blind rivet Vibration emission (ah) : 2.5 m/s2 or less Uncertainty (K) : 1.5 m/s2
NOTE: The declared vibration total value(s) has been measured in accordance with a standard test method and may be used for comparing one tool with another.
NOTE: The declared vibration total value(s) may also be used in a preliminary assessment of exposure.
WARNING: The vibration emission during actual use of the power tool can differ from the declared value(s) depending on the ways in which the tool is used especially what kind of workpiece is processed.
WARNING: Be sure to identify safety measures to protect the operator that are based on an estimation of exposure in the actual conditions of use (taking account of all parts of the operating cycle such as the times when the tool is switched off and when it is running idle in addition to the trigger time).
EC Declaration of Conformity
For European countries only
The EC declaration of conformity is included as Annex A to this instruction manual.
SAFETY WARNINGS
General power tool safety warnings
WARNING: Read all safety warnings, instructions, illustrations and specifications provided with this power tool. Failure to follow all instructions
listed below may result in electric shock, fire and/or serious injury.
Save all warnings and instructions for future reference.
The term “power tool” in the warnings refers to your mains-operated (corded) power tool or battery-operated (cordless) power tool.
Cordless rivet gun safety warnings
- Hold the tool firmly.
- Keep hands away from moving parts.
- Always be sure you have a firm footing. Be sure no one is below when using the tool in high locations.
- Be careful not to drop the broken off mandrel from high locations. Doing so may cause an accident or injury.
- Do not scatter the broken off mandrels on the floor. You may be injured by the sharp end of the broken off mandrel or by slipping on the mandrel.
- Do not point the tool at a person or yourself when operating the tool. The rivet or broken off mandrel may accidentally ejected, and you may be injured.
Important safety instructions for battery cartridge
- Before using battery cartridge, read all instructions and cautionary markings on (1) battery charger, (2) battery, and (3) product using battery.
- Do not disassemble battery cartridge.
- If operating time has become excessively shorter, stop operating immediately. It may result in a risk of overheating, possible burns and even an explosion.
- If electrolyte gets into your eyes, rinse them out with clear water and seek medical attention right away. It may result in loss of your eyesight.
- Do not short the battery cartridge: (1) Do not touch the terminals with any conductive material.
(2) Avoid storing battery cartridge in a container with other metal objects such as nails, coins, etc.
(3) Do not expose battery cartridge to water or rain.
A battery short can cause a large current flow, overheating, possible burns and even a breakdown. - Do not store the tool and battery cartridge in locations where the temperature may reach or exceed 50 °C (122 °F).
- Do not incinerate the battery cartridge even if it is severely damaged or is completely worn out. The battery cartridge can explode in a fire.
- Be careful not to drop or strike battery.
- Do not use a damaged battery.
- The contained lithium-ion batteries are subject to the Dangerous Goods Legislation requirements.
For commercial transports e.g. by third parties, forwarding agents, special requirement on packaging and labeling must be observed.
For preparation of the item being shipped, consulting an expert for hazardous material is required.
Please also observe possibly more detailed national regulations.
Tape or mask off open contacts and pack up the battery in such a manner that it cannot move around in the packaging. - When disposing the battery cartridge, remove it from the tool and dispose of it in a safe place. Follow your local regulations relating to disposal of battery.
- Use the batteries only with the products specified by Makita. Installing the batteries to non-compliant products may result in a fire, excessive heat, explosion, or leak of electrolyte.
- If the tool is not used for a long period of time, the battery must be removed from the tool.
SAVE THESE INSTRUCTIONS.
CAUTION: Only use genuine Makita batteries. Use of non-genuine Makita batteries, or batteries that have been altered, may result in the battery bursting
causing fires, personal injury and damage. It will also void the Makita warranty for the Makita tool and charger.
Tips for maintaining maximum battery life
- Charge the battery cartridge before completely discharged. Always stop tool operation and charge the battery cartridge when you notice less tool power.
- Never recharge a fully charged battery cartridge. Overcharging shortens the battery service life.
- Charge the battery cartridge with room temperature at 10 °C – 40 °C (50 °F – 104 °F). Let a hot battery cartridge cool down before charging it.
- Charge the battery cartridge if you do not use it for a long period (more than six months).
CAUTION: Always be sure that the tool is switched off and the battery cartridge is removed before adjusting or checking function on the tool.
Installing or removing battery cartridge
CAUTION: Always switch off the tool before installing or removing of the battery cartridge.
CAUTION: Hold the tool and the battery cartridge firmly when installing or removing battery cartridge. Failure to hold the tool and the battery cartridge firmly may cause them to slip off your hands
and result in damage to the tool and battery cartridge and a personal injury.
FUNCTIONAL DESCRIPTION
CAUTION: Always be sure that the tool is witched off and the battery cartridge is removed before adjusting or checking function on the tool.
Installing or removing battery cartridge
CAUTION: Always switch off the tool before installing or removing of the battery cartridge.
CAUTION: Hold the tool and the battery cartridge firmly when installing or removing battery cartridge. Failure to hold the tool and the battery cartridge firmly may cause them to slip off your hands
nd result in damage to the tool and battery cartridge and a personal injury
Fig.1: 1. Red indicator 2. Button 3. Battery cartridge
To remove the battery cartridge, slide it from the tool while sliding the button on the front of the cartridge. To install the battery cartridge, align the tongue on the battery cartridge with the groove in the housing and slip it into place. Insert it all the way until it locks in place with a little click. If you can see the red indicator on the upper side of the button, it is not locked completely.
CAUTION: Always install the battery cartridge fully until the red indicator cannot be seen. If not, it may accidentally fall out of the tool, causing injury to you or someone around you.
CAUTION: Do not install the battery cartridge forcibly. If the cartridge does not slide in easily, it is not being inserted correctly.
Indicating the remaining battery capacity
Only for battery cartridges with the indicator
► Fig.2: 1. Indicator lamps 2. Check button Press the check button on the battery cartridge to indicate the remaining battery capacity. The indicator lamps light up for a few seconds.
NOTE: Depending on the conditions of use and the ambient temperature, the indication may differ slightly from the actual capacity.
Tool / battery protection system
The tool is equipped with a tool/battery protection sys- tem. This system automatically cuts off power to the motor to extend tool and battery life. The tool will auto- matically stop during operation if the tool or battery is placed under one of the following conditions:
Overload protection
When the battery is operated in a manner that causes it to draw an abnormally high current, the tool automat- ically stops without any indication. In this situation, turn the tool off and stop the application that caused the tool to become overloaded. Then turn the tool on to restart.
Overheat protection
When the tool or battery is overheated, the tool stops automatically and the lamp blinks. In this case, let the tool and battery cool before turning the tool on again.
Overdischarge protection
When the battery capacity is not enough, the tool stops automatically. In this case, remove the battery from the tool and charge the battery.
Switch action
WARNING: Before installing the battery cartridge into the tool, always check to see that the switch trigger actuates properly and returns to the “OFF” position when released
► Fig.3: 1. Switch trigger

To start the tool, simply pull the switch trigger. When you release the switch trigger, the tool stops and the returns to the initial position.
The tool may not in the initial position in the following cases. Return the tool to the initial position by pulling and releasing the switch trigger before operating the tool.
- When using the tool for the first time.
- After replacing the battery cartridge.
- When the tool stops because of the overload.
- After performing the maintenance.
Lighting up the front lamp
► Fig.4: 1. Lamp

CAUTION: Do not look in the light or see the source of light directly. Pull the switch trigger to light up the lamp. The lamp keeps on lighting while the switch trigger is being pulled.
The lamp goes out approximately 10 seconds after releasing the switch trigger.
NOTE: Use a dry cloth to wipe the dirt off the lens of the lamp. Be careful not to scratch the lens of lamp, or it may lower the illumination.
To remove the head assembly, follow the steps below.
- Loosen the nut of the head, and then remove the head.
► Fig.5: 1. Nut 2. Head
- Loosen the nose piece with a wrench while holding the head with another wrench.
► Fig.6: 1. Nose piece 2. Head
- Loosen the jaw case with a wrench while holding the joint with another wrench.
► Fig.7: 1. Jaw case 2. Joint
- Remove the jaw pusher, spring, and pipe.
► Fig.8: 1. Jaw pusher 2. Spring 3. Pipe
NOTICE: When installing the jaw pusher, be sure to attach the spring to the jaw pusher.
To install the head assembly, perform the removal procedure in reverse. Be sure to tighten the jaw case and nose piece with two wrenches firmly.
Hook
CAUTION: Always remove the battery when hanging the tool with the hook.
CAUTION: Never hook the tool at high location or on potentially unstable surface.
CAUTION: When hanging the tool with the hook, hang it carefully. Otherwise, the tool may drop and cause an injury
► Fig.9: 1. Groove 2. Hook 3. Screw

The hook is convenient for temporarily hanging the tool.
This can be installed on either side of the tool.
To install the hook, insert it into a groove in the tool housing on either side and then secure it with a screw.
To remove, loosen the screw and then take it out.
NOTICE: Be sure to install the mandrel container to the tool before operating the tool. If the mandrel container is not installed to the tool, the tool will not operate.
To remove the mandrel container, rotate it counter clockwise. To install the mandrel container, rotate it clockwise.
► Fig.10: 1. Mandrel container
OPERATION
CAUTION: Keep your hand or face away from the front part of the tool. The rivet or broken off mandrel may accidentally ejected, and you may be injured.
Installing a blind rivet
CAUTION: Before the mandrel container becomes full, empty it regularly by removing the mandrel container. Otherwise, the tool may be damaged, and the damaged parts may cause an injury.
CAUTION: When inserting a blind rivet into the nose piece, be sure to switch off the tool.
Otherwise, you may be injured with the tool tip.
CAUTION: Do not the leave a blind rivet in the nose piece. If the tool is switched on accidentally, the blind rivet is ejected and may cause an injury.
NOTICE: After installing a blind rivet, be sure to eject the broken off mandrel into the mandrel container by tilting the tool backward before installing next blind rivet. If the end of the broken off mandrel sticks out from the nose piece, switch off the tool and remove the mandrel. Otherwise, the broken off mandrels may become clogged and cause a malfunction of the tool.
- Insert the blind rivet into the nose piece.
► Fig.11: 1. Blind rivet 2. Nose piece
- Press the tool tip against the workpiece, and then pull the switch trigger. After the mandrel is broken off, release the switch trigger.
► Fig.12
Before the mandrel container becomes full, empty it regularly by removing the mandrel container.
Available blind rivets
NOTICE: Using nose piece, jaw, jaw pusher, or pipe that does not match the mandrel diameter may cause poor fastening, clogging of the mandrel, or malfunction of the tool.
Refer to the table below for the combination of rivet, nose piece, jaw, jaw pusher, and pipe.
NOTE: Some items in the table may be included in the tool package as standard accessories and some items in the table are provided as optional accessories. They may differ from country to country.
For DRV150
| Rivet | Nose piece | Mark on jaw | Jaw pusher | Pipe | ||||
| Size | Diameter of mandrel | Mark on nose piece | Hole diameter | Hole diameter | Color | Hole diameter | Color | |
| ø2.4 mm (3/32″) | ø1.4 – 1.6 mm | 2.4 | ø1.9 mm | 4.8 | ø1.9 mm | Gray | ø2.2 mm | Silver |
| ø3.2 mm (1/8″) | ø1.8 – 2.1 mm | 3.2 | ø2.4 mm | 4.8 | ø2.5 mm | Black | ø2.6 mm | Black |
| ø4.0 mm (5/32″) | ø2.2 – 2.6 mm | 4.0 | ø3.0 mm | 4.8 | ø3.1 mm | Gray | None * | – |
| ø4.8 mm (3/16″) | ø2.6 – 3.2 mm | 4.8 | ø3.6 mm | 4.8 | ø3.6 mm | Black | None * | – |
*. Pipe is not necessary for operation.
For DRV250
| Rivet | Nose piece | Mark on jaw | Jaw pusher | Pipe | ||||
| Size | Diameter of mandrel | Mark on nose piece | Hole diameter | Hole diameter | Color | Hole diameter | Color | |
| ø2.4 mm (3/32″) | ø1.4 – 1.6 mm | 2.4 | ø1.9 mm | 4.8 | ø1.9 mm | Gray | ø2.2 mm | Silver |
| ø3.2 mm (1/8″) | ø1.8 – 2.1 mm | 3.2 | ø2.4 mm | 4.8 | ø2.5 mm | Black | ø2.6 mm | Black |
| ø4.0 mm (5/32″) | ø2.2 – 2.6 mm | 4.0 | ø3.0 mm | 4.8 | ø3.1 mm | Gray | ø3.4 mm | Silver |
| ø4.8 mm (3/16″) | ø2.6 – 3.2 mm | 4.8 | ø3.6 mm | 4.8 or 6.4 | ø3.6 mm | Black | ø4.1 mm | Black |
| ø6.0 mm (1/4″) * | ø3.1 – 3.5 mm | 6.0 | ø4.0 mm | 6.4 | ø4.0 mm | Gray | ø4.1 mm | Black |
| ø6.4 mm (1/4″) * | ø3.5 – 3.9 mm | 6.4 | ø4.4 mm | 6.4 | ø4.6 mm | Black | ø4.5 mm | Silver |
MAINTENANCE
CAUTION: Always be sure that the tool is switched off and the battery cartridge is removed before attempting to perform inspection or maintenance.
NOTICE: Never use gasoline, benzine, thinner, alcohol or the like. Discoloration, deformation or cracks may result.
To maintain product SAFETY and RELIABILITY, repairs, any other maintenance or adjustment should be performed by Makita Authorized or Factory Service Centers, always using Makita replacement parts.
Cleaning the jaws and jaw case
Interval of cleaning: Every 3,000 installations of rivet If the dust is accumulated, it deteriorates the movement of jaws and may accelerate wear of jaws and jaw case.
To clean the jaws and jaw case, follow the steps below.
- Remove the jaw case. For the removal procedure,
refer to the removal instructions for the head assembly. - Remove the jaws from the jaw case.
► Fig.13: 1. Jaw case 2. Jaw
- Clean the jaws and jaw case with a brush. Remove metal powder clogged between the teeth of the jaws.
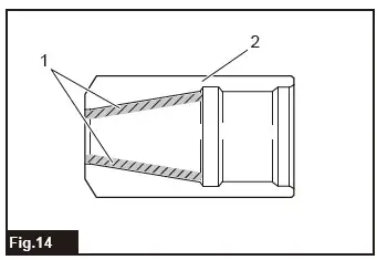
- Apply molybdenum disulfide based grease evenly to the inner periphery of the jaw case.
► Fig.14: 1. Area to apply grease 2. Jaw case
- Install the jaws to the jaw case.
► Fig.15: 1. Jaw 2. Jaw case
NOTICE: When installing the jaws, be sure to align the tips of jaws. - Install the jaw case. If the grease is adhered to the tips of the jaws, wipe off the grease with a dry cloth.
► Fig.16: 1. Area where grease should not to be adhered 2. Jaw
- Install the head assembly.
- Wipe off the grease from the jaws. Insert a rivet into the nose piece, then move it up and down, and left and right, then remove it from the nose piece, and then wipe the grease from the rivet with a dry
cloth. Repeat the same procedure twice or 3 times.
NOTICE: If the grease is adhered to the tip or inside of the jaw, the jaws may slip during operation.
Replacing the jaws in the jaw case
If the jaws in the jaw case are worn out, replace them with new ones. To replace the jaws, follow the same procedure for cleaning the jaws and jaw case. When installing jaws to the jaw case, install new jaws.
Removing jammed rivet
If the rivet is jammed inside the tool, remove it using a tool such as pin. If it is difficult to remove the jammed rivet, replace the jaw pusher or pipe with a new one.
For replacement procedure, refer to the instruction for installing or removing the head assembly.
OPTIONAL ACCESSORIES
CAUTION: These accessories or attachments are recommended for use with your Makita tool specified in this manual. The use of any other accessories or attachments might present a risk of injury to persons. Only use accessory or attachment for its stated purpose.
If you need any assistance for more details regarding these accessories, ask your local Makita Service
Center.
- Nose piece
- Jaw pusher
- Jaw
- Pipe
- Grease
- Makita genuine battery and charger
NOTE: Some items in the list may be included in the tool package as standard accessories. They may differ from country to country.






























