TRUPER HILA-1800 Electric Pressure Washer

Product Information
- Product Name: Electric Pressure Washer
- Model Number: HILA-1800
- Code: 101594
- Maximum Pressure: 1,800 PSI
- Minimum and Maximum Water Input Pressure: 36 PSI – 50 PSI
- Maximum Flow Rate: 1.5 GPM
- Maximum Input Temperature: N/A
- Voltage: 127 V
- Frequency: 60 Hz
- Current: 12 A
- Power: 1,500 W
- Noise Level: 92 dB
- Vibration Level: 1.8 m/s2
- Weight: 11.5 lb
- Work Cycle: 50 minutes’ work per 20 minutes’ rest Maximum 6 hours daily.
- Conductors Insulation: Class II
- IP Grade: IPX5
- Power cord grips used in this product: Type Y
- Tool build quality: Reinforced
- Thermal insulation on motor winding: Class F
Product Usage Instructions
CAUTION: Before using the tool, read the manual thoroughly to ensure proper usage and avoid hazards of fatal injuries.
Power Requirements:
WARNING: When using an extension cable, verify that the gauge is enough for the power that your product needs. A lower gauge cable will cause voltage drop in the line, resulting in power loss and overheating.
The following table shows the right size to use depending on cable’s length and the ampere capability shown in the tool’s nameplate. When in doubt use the next higher gauge.
| Ampere Capacity | Number of Conductors | Extension Gauge (from 5.9′ to 49.2′) | Extension Gauge (higher than 49.2′) |
|---|---|---|---|
| from 0 A and up to 10 A | 3 (one grounded) | 16 AWG | 14 AWG |
| from 10 A and up to 13 A | 3 (one grounded) | 12 AWG | 12 AWG |
| from 13 A and up to 15 A | 3 (one grounded) | 10 AWG | 10 AWG |
| from 15 A and up to 20 A | 3 (one grounded) | 8 AWG | 6 AWG |
WARNING: When operating power tools outdoors, use a grounded extension cable labeled “For Outdoors Use.” These extensions are specially designed for operating outdoors and reduce the risk of electric shock.
Usage Recommendations:
- Do not expose the tool to rain, liquids, and/or dampness.
- Use the tool only with a supply outlet or an elevated tank asit does not suck water from ponds or tanks.
- Always use the filters and clean them after each use. Replace the filter when it is cracked or worn.
- Fulfill the working cycles: 50 minutes of work and 20 minutes of rest. Daily maximum 6 hours.
- Perform periodic maintenance to your machine (page 9).
Assembly: Refer to page 7 of the manual for assembly instructions.
Start Up Maintenance: Refer to page 8 of the manual for start-up maintenance instructions.
Troubleshooting: Refer to page 10 of the manual for troubleshooting information.
Authorized Service Centers: Refer to page 11 of the manual for authorized service center information.
Warranty Policy: Refer to page 12 of the manual for warranty policy information.
Note: The illustrations in this manual are for reference only. They might be different from the real tool.
CAUTION
To gain the best performance of the tool, prolong the duty life, make the Warranty valid if necessary, and to avoid hazards of fatal injuries please read and understand this Manual before using the tool.
Keep this manual for future references.
The illustrations in this manual are for reference only. They might be different from the real tool.
Use and care recommendations

THIS MACHINE DOES NOT SUCK WATER
FROM PONDS OR TANKS.
It must be connected to a supply outlet or an elevated tank.

ALWAYS USE THE FILTERS AND CLEAN THEM AFTER EACH USE.
Replace the filter when it is cracked or worn.

FULFILL THE WORKING CYCLES.
50 min of work and 20 min of rest. Daily maximum 6 hours.

Perform periodic MAINTENANCE to your machine (page 9).
Technical Data

Power cord grips used in this product: Type “Y” Tool build quality: Reinforced
Thermal insulation on motor winding: Class F
WARNING Avoid the risk of electric shock or severe injury. When the power cable gets damaged it should only be replaced by the manufacturer or at a Authorized Service Center. The build quality of the electric insulation is altered if spills or liquid gets into the tool while in use. Do not expose to rain, liquids and/or dampness.
WARNING Before gaining access to the terminals all power sources should be disconnected.
Power Requirements

WARNING Tools with double insulation and reinforced insulation are equipped with a polarized plug (one prong is wider than the other). This plug will only fit in the right way into a polarized outlet. If the plug cannot be introduced into the outlet, reverse the plug. If it still doesn’t fit, call a qualified electrician to install for you a polarized outlet. Do not alter the plug in any way. Both insulation types eliminates the need of both a grounded third power cord with three prongs or a grounded power connection.
WARNING When using an extension cable, verify the gauge is enough for the power that your product needs. A lower gauge cable will cause voltage drop in the line, resulting in power loss and overheating. The following table shows the right size to use depending on cable’s length and the ampere capability shown in the tool’s nameplate. When in doubt use the next higher gauge.

WARNING When operating power tools outdoors, use a grounded extension cable labeled “For Outdoors Use”. These extensions are specially designed for operating outdoors and reduce the risk of electric shock.
General power tool safety warnings
General power tool safety warnings
WARNING! Read carefully all safety warnings and instructions listed below. Failure to comply with any of these warnings may result in electric shock, fire and / or severe damage. Save all warnings and instructions for future references.
Work area
Keep your work area clean, and well lit.
Cluttered and dark areas may cause accidents.
Never use the tool in explosive atmospheres, such as in the presence of flammable liquids, gases or dust. Sparks generated by power tools may ignite the flammable material.
Keep children and bystanders at a safe distance while operating the tool.
Distractions may cause loosing control.
Electrical Safety
The tool plug must match the power outlet. Never modify the plug in any way. Do not use any adapter plugs with grounded power tools.
Modified plugs and different power outlets increase the risk of electric shock.
Avoid body contact with grounded surfaces, such as pipes, radiators, electric ranges and refrigerators.
The risk of electric shock increases if your body is grounded.
Do not expose the tool to rain or wet conditions.
Water entering into the tool increases the risk of electric shock.
Do not force the cord. Never use the cord to carry, lift or unplug the tool. Keep the cord away from heat, oil, sharp edges or moving parts.
Damaged or entangled cords increase the risk of electric shock.
When operating a tool outdoors, use an extension cord suitable for outdoor use.
Using an adequate outdoor extension cord reduces the risk of electric shock.
If operating the tool in a damp location cannot be avoided, use a ground fault circuit interrupter (GFCI) protected supply.
Using a GFCI reduces the risk of electric shock.
Personal safety
Stay alert, watch what you are doing and use common sense when operating a tool. Do not use a power tool while you are tired or under the influence of drugs, alcohol or medication.
A moment of distraction while operating the tool may result in personal injury.
Use personal protective equipment. Always wear eye protection.
Protective equipment such as safety glasses, anti-dust mask, non-skid shoes, hard hats and hearing protection used in the right conditions significantly reduce personal injury.

Prevent unintentional starting up. Ensure the switch is in the “OFF” position before connecting into the power source and / or battery as well as when carrying the tool.
Transporting power tools with the finger on the switch or connecting power tools with the switch in the “ON” position may cause accidents.
Remove any wrench or vice before turning the power tool on.
Wrenches or vices left attached to rotating parts of the tool may result in personal injury.
Do not overreach. Keep proper footing and balance at all times.
This enables a better control on the tool during unexpected situations.
Dress properly. Do not wear loose clothing or jewelry. Keep hair, clothes and gloves away from the moving parts.
Loose clothes or long hair may get caught in moving parts.
If you have dust extraction and recollection devices connected onto the tool, inspect their connections and use them correctly.
Using these devices reduce dust-related risks.
Power Tools Use and Care
Do not force the tool. Use the adequate tool for your application.
The correct tool delivers a better and safer job at the rate for which it was designed.
Do not use the tool if the switch is not working properly.
Any power tool that cannot be turned ON or OFF is dangerous and should be repaired before operating.
Disconnect the tool from the power source and / or battery before making any adjustments, changing accessories or storing.
These measures reduce the risk of accidentally starting the tool.
Store tools out of the reach of children. Do not allow persons that are not familiar with the tool or its instructions to operate the tool.
Power tools are dangerous in the hands of untrained users.
Service the tool. Check the mobile parts are not misaligned or stuck. There should not be broken parts or other conditions that may affect its operation. Repair any damage before using the tool.
Most accidents are caused due to poor maintenance to the tools.
Keep the cutting accessories sharp and clean.
Cutting accessories in good working conditions are less likely to bind and are easier to control.
Use the tool, components and accessories in accordance with these instructions and the projected way to use it for the type of tool when in adequate working conditions.
Using the tool for applications different from those it was designed for, could result in a hazardous situation.
Service
Repair the tool in a using only identical spare parts.
This will ensure that the safety of the power tool is maintained.
Children or people with reduced physical; sensory or mental capabilities shall not operate the tool, neither inexperienced people or without knowledge in the use of the tool, unless supervised by a person responsible of their safety or if receiving previous instructions about the tool operation. Children shall be kept under supervision to double-check they will not play with the tool. Tight supervision shall be used with children or disabled persons to prevent from using or being close to any household tool.
Safety Warnings for using Pressure Washers
- A certified electrician shall carry out the connection to the power supply. It is recommended to include in said supply a residual current device to interrupt the power supply if the grounded leakage current is exceeding 30 mA per 30 s or a device that delivers the ground circuit.
WARNING
- This device has been designed to be used with the cleaning agent supplied or recommended by the manufacturer. Using other type of cleaning agents or chemical substances may seriously affect the device safety.
WARNING
- Do not use the device in the presence of third parties unless wearing protective clothes.
WARNING
- High-pressure jet may be dangerous if misused. The jet shall not be aimed directly against any living being, active electric equipment or the device.
- Do not aim the jet against yourselves or third parties to clean clothes or shoes.
- Disconnect the device from the power supply before carrying out user´s maintenance.
- The pressure washer shall not be used by children or people with no training in its use.
- To guarantee the device safety, use original or factory approved spare parts.
WARNING
- High pressure nozzles, guards and couplings are important for the device safety. Use only nozzles, guard and couplings recommended by the manufacturer.
- Do not use the device if the power cable of important parts in the device show damage, for example, safety devices, high-pressure nozzles, high-pressure gun, etc.
- If using an extension cord for the power cable, the plug and power supply shall be constructed against water seeping in.
WARNING
- An inadequate extension cable can be dangerous.
Before operating de pressure washer
CAUTION
- Pressurized spray is very powerful and dangerous if misused. It is not recommended for painted surfaces, wood surfaces or articles attached with adhesive.
WARNING
- Do not use bleach, chloride, chemical products or any other cleaner containing acid or that is not specific for pressure washers. Otherwise the devise can be seriously damaged.
- To minimize the amount of water entering in contact with the pressure washer during the operation, set it as far as possible from the place to be washed.
When operating the pressure washer
WARNING
- Wear eye protection and thick clothes.
- When spraying, always use both hands to gain total control of the lance.
WARNING
- Never touch the nozzle or the water spray while the pressure washer is in operation.
- To allow free air circulation while being operated DO NOT cover it.
WARNING
- Keep all the connections dry an above ground.
- Do not touch the plug with wet hands
After operating the pressure washer
- Disconnect the power cable when not using the pressure washer and before removing the high-pressure hose.
CAUTION
- When the pressure washer is not being used and to prevent an accidental discharge, enable the trigger lock in the spraying gun.
- Never make knots nor fold the high-pressure hose. It may get damaged.
CAUTION
- Do not use or store this product when temperature falls below 40 °F. The warranty will not cover damage due to freezing.
Automatic stop
- The pressure washer is built with a stopping device that detects when the spraying gun trigger is released. It opens and electric circuit in the motor to stop the pressure washer.
WARNING
- If the Automatic Stop fails, DO NO USE the pressure washer. Contact a
Authorized Service Center. Using the pressure washer in this condition may damage the device and / or cause personal injuries

Parts



Assembly
- Some parts of your pressure washer do not come assembled, follow these steps to place them:
- Place the handle on top of the pressure washer and fasten it with the included screws.
- Attach the accessory bracket to the rear of your pressure washer and secure with the included screws.
- Place the wheels in the bottom side holes of your pressure washer.
- Finally place the supports for the gun and for the electric cable on the upper sides of your pressure washer.
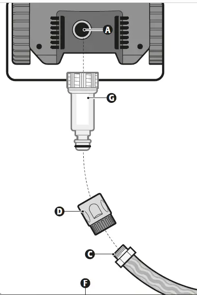
- Remove the packaging caps in the device water inlet and outlet.
- Fix the filter (G) into the water inlet of the pressure washer (A).
CAUTION
Before disconnecting the garden hose, leave the water running through to expel any object inside it.
- Connect the garden hose (C, not included) to the fast connector (D) and the fast connector to the filter (G).
- Connect the high-pressure hose (H) into the pressure washer high pressure outlet (F). Turn clockwise to tighten the connection.
- Keep the button ( I ) pressed when connecting the high-pressure hose end (H1) into the high-pressure gun. When the hose end butts, release the button to secure the hose and prevent leaks.
- Insert the “T” shaped lock of the lance (extension) (K) into the high-pressure gun notch, in a vertical position. When the lance is touching the spring, depress to fight the spring force and simultaneously turn the lance, a ¼ turn clockwise until the lance fits firmly in position.
- Repeat this procedure to set some of the lances (with turbo nozzle, adjustable nozzle or detergent tank) (L) into the lance (extension) (K) end.


Start Up
Turning ON
- Open the water faucet. Keep it open while using the pressure washer.
- Completely untangle the power cable and connect the plug into the power supply. In this step, do not turn ON the pressure washer.
- Press and hold the high-pressure gun trigger to release the air trapped inside the pressure washer. Release the trigger when the water flows constantly.
- Turn the switch into position I (ON). The motor will start momentarily and then, it will stop.

Using standing water
- To use standing water instead of running water, set the standing water container at least 1 meter high regarding the ground level. It is necessary to have a safe and adequate connection (flexible hose).
- Before operating the pressure washer, double check the high-pressure hose is disconnected.
- Connect the flexible hose coming out of the standing water container into the pressure washer inlet. Verify the flow into the pressure washer is constant.
- Turn ON the pressure washer until water starts flowing. Leave the pressure washer ON one minute maximum.
- Turn OFF the pressure washer and connect the high-pressure hose. Now, you are ready to use the pressure washer.
WARNING It is important that the standing water container is full all the time. Using the pressure Washer dry more than 2 minutes will damage the high-pressure pump and it is not cover with the Warranty.
Spraying

- Press the gun trigger to start spraying.
- To stop spraying, just release the trigger.
- The gun has a blocking button (A) to prevent accidental spraying. Pointing the gun to the front, the button will show to the left when the trigger is blocked and to the right, when it is released.
Lance Nozzle

- Adjustable mist nozzle:
Turn the nozzle to open or close the mist angle.
The mist, with the open angle encompasses a wider surface and is ideal to rinse surfaces.
With the angle closed, mist is aimed to one point and is ideal to clean. - Turbo spray nozzle:
High-pressure mist pattern for optimal cleaning. Keep the nozzle at a 8” minimum distance from the surface to be washed.
Maintenance
WARNING Disconnect the power cable from the power supply before carrying adjustments, service or maintenance to the pressure washer.
Cleaning and care
- Keep the pressure washer free of dust. Never use water or chemical cleaners to clean the pressure washer. Clean only with a clean and dry cloth.
- Always keep the air vents clean and free of obstructions to guarantee the adequate cooling of the motor.
- Regularly inspect all the mounting screws and make sure the screws are tight. If one screw is losing, tighten immediately.
- The shield and the motor are the pressure water heart. Use care no grease or water affect them.
- Regularly check the power cable to detect any type of damage. If damaged, replace the cable in a Authorized Service Center.
Lubrication of connections
The pressure washer hose, high-pressure gun and lances connections shall be cleaned regularly to prevent leaks and damage to each connection seals.
Lubrication of nozzles
- Nozzles shall be regularly lubricated with non-soluble oil or light oil.
- A blocked nozzle makes the pressure pump pressure rise too much. It shall be cleaned immediately.
- Remove blockage in the nozzle introducing the nozzle cleaner through the center orifice.
- Purge the nozzle with water. Restart the pressure washer and press the spray gun trigger.
If pressure is still high, repeat steps 1 and 2.
Lubrication of the pressure washer
- The pressure washer design includes a permanent lubrication system. It is not necessary to check and replace oil.
CAUTION
If there is an oil leak, go to a Authorized Service Center.
Water filter
Any foreign particles that enter the pressure washer pump can damage it. To avoid this possibility, the pressure washer has two water filters.
- Filters should always be clean to keep water flowing and prevent damage to the pump.
- Cleaning the internal filter (A):
- Remove the filter carefully.
- Rinse it and place it inside the machine.
Cleaning the external filter (B):
- After each use, unscrew the filter. Disassemble it and rinse the two parts.
- Reassemble it and verify that the thread screws tightly without forcing it. Do not overtighten to avoid damaging the thread.
- Replace filters when they are broken or wear and tear.

Carbon brushes replacement
- Carbon brushes shall be checked periodically and be replaced always in a Authorized Service Center when worn.
- After being replaced, ask the technician to inspect if the carbon brushes move freely in the carbon brushes housing. Ask to turn ON the pressure washer 5 minutes to even out the carbon brushes and commuter contact.
- Only use original spare carbons specifically designed with the hardness and electric resistance for each type of motor. Carbon brushes that are lout of specification may damage the motor.
- When replacing carbon brushes always replace both.
Winter storage
- Turn OFF the pressure washer and depress the trigger to release the pressure trapped inside the unit.
- Remove the garden hose and the pressure hose.
- Turn ON the pressure washer and leave it running 5 seconds to eliminate almost all the water trapped inside the pump.
- Disconnect the pressure washer and put away the cable.
- Store the pressure washer and the accessories in a dry environment with controlled temperature. Do not store the pressure washer and the accessories where temperature can drop to 40 °F.
CAUTION
DAMAGE DUE TO FREEZING IS NOT COVERED BY THE WARRANTY.
Troubleshooting
Problem: Possible Cause: Solution
- The pressure washer is not starting.
- Pressure washer is not connected.
- Faulty power supply.
- Blown fuse.
- Defective extension cable.
- Connect the pressure washer.
- Use a different power supply.
- Replace the fuse. Turn OFF other machines.
- Replace the extension cable.
- Pressure is not constant.
- The pump is drawing in air.
- Dirty, worn, or stuck valves.
- Worn pump seals.
- Check the hoses and connections have no leaks.
- Clean the dirty parts and replace the worn ones.
- Go to a Authorized Service Center if the problem still persists.
- The pressure washer stops while working.
- Blown fuse.
- Incorrect power supply.
- Thermal sensor is activated.
- Nozzle partially blocked.
- Replace the fuse.
- Turn OFF other machines. Check the voltage supply is matching the specified voltage specified in this instruction.
- Allow the pressure washer to cool down.
- Clean the nozzle.
- The fuse blows.
- The fuse is too small.
- Change to an installation higher than the ampere consumption of the pressure washer.
- Try not using the extension cable.
- The fuse is too small.
- The pressure washer is pulsating.
- Air in the hose.
- Wrong water supply.
- Nozzle partially blocked.
- Air filter blocked.
- Tangled hose.
- Run the pressure washer with the trigger open until it runs regularly and pressure restarts.
- Check the water supply meets the required specifications. Avoid using long and thin hoses. Minimum ½”.
- Clean the nozzle.
- Clean the filter.
- Straighten the hose.
- The pressure washer starts but no water comes out.
- Frozen pump, hoses or accessories.
- No water supplies.
- The water filter is blocked.
- The nozzle is blocked.
- Wait for the thawing of the pump, hoses or accessories.
- Connect the water input.
- Clean the filter.
- Clean the nozzle.
In the event of any problem contacting a Truper Authorized Service Center, please see our webpage www.truper.com to get an updated list, or call our toll-free numbers 800 690-6990 or 800 018-7873 to get information about the nearest Service Center.
AGUASCALIENTES
DE TODO PARA LA CONSTRUCCIÓN
GRAL. BARRAGÁN #1201, COL. GREMIAL, C.P. 20030, AGUASCALIENTES, AGS. TEL.: 449 994 0537
BAJA CALIFORNIA
SUCURSAL TIJUANA
AV. LA ENCANTADA, LOTE #5, PARQUE INDUSTRIAL EL FLORIDO II, C.P 22244, TIJUANA, B.C.
TEL.: 664 969 5100
BAJA CALIFORNIA SUR
FIX FERRETERÍAS
FELIPE ÁNGELES ESQ. RUIZ CORTÍNEZ S/N, COL. PUEBLO NUEVO, C.P. 23670, CD. CONSTITUCIÓN, B.C.S.
TEL.: 613 132 1115
CAMPECHE
TORNILLERÍA Y FERRETERÍA AAA
AV. ÁLVARO OBREGÓN #324, COL. ESPERANZA
C.P. 24080 CAMPECHE, CAMP. TEL.: 981 815 2808
CHIAPAS
FIX FERRETERÍAS
AV. CENTRAL SUR #27, COL. CENTRO, C.P. 30700, TAPACHULA, CHIS. TEL.: 962 118 4083
CHIHUAHUA
SUCURSAL CHIHUAHUA
AV. SILVESTRE TERRAZAS #128-11, PARQUE INDUSTRIAL BAFAR, CARRETERA MÉXICO CUAUHTÉMOC, C.P. 31415, CHIHUAHUA, CHIH. TEL. 614 434 0052
CIUDAD DE MÉXICO
FIX FERRETERÍAS
EL MONSTRUO DE CORREGIDORA, CORREGIDORA # 35, COL. CENTRO, C.P. 06060, CUAUHTÉMOC, CDMX.
TEL: 55 5522 5031 / 5522 4861
COAHUILA
SUCURSAL TORREÓN
CALLE METAL MECÁNICA #280, PARQUE INDUSTRIAL ORIENTE, C.P. 27278, TORREÓN, COAH.
TEL.: 871 209 68 23
COLIMA
BOMBAS Y MOTORES BYMTESA DE MANZANILLO BLVD. MIGUEL DE LA MADRID #190, COL. 16 DE SEPTIEMBRE, C.P. 28239, MANZANILLO, COL.
TEL.: 314 332 1986 / 332 8013
DURANGO
TORNILLOS ÁGUILA, S.A. DE C.V.
MAZURIO #200, COL. LUIS ECHEVERRÍA, DURANGO, DGO.TEL.: 618 817 1946 / 618 818 2844
ESTADO DE
MÉXICOSUCURSAL CENTRO JILOTEPEC
PARQUE INDUSTRIAL # 1, COL. PARQUE INDUSTRIAL JILOTEPEC, JILOTEPEC, EDO. DE MÉX. C.P. 54257
TEL: 761 782 9101 EXT. 5728 Y 5102
GUANAJUATO
CÍA. FERRETERA NUEVO MUNDO S.A. DE C.V.
AV. MÉXICO – JAPÓN #225, CD. INDUSTRIAL, C.P. 38010, CELAYA, GTO. TEL.: 461 617 7578 / 79 / 80 / 88
GUERRERO
CENTRO DE SERVICIO ECLIPSE
CALLE PRINCIPAL MZ.1 LT. 1, COL. SANTA FE, C.P. 39010, CHILPANCINGO, GRO. TEL.: 747 478 5793
HIDALGO
FERREPRECIOS S.A. DE C.V.
LIBERTAD ORIENTE #304 LOCAL 30, INTERIOR DE PASAJE ROBLEDO, COL. CENTRO, C.P. 43600, TULANCINGO, HGO. TEL.: 775 753 6615 / 775 753 6616
JALISCO
SUCURSAL GUADALAJARA
AV. ADOLFO B. HORN # 6800, COL: SANTA CRUZ DEL VALLE, C.P.: 45655, TLAJOMULCO DE ZUÑIGA, JAL.
TEL.: 33 3606 5285 AL 90
MICHOACÁN
FIX FERRETERÍAS
AV. PASEO DE LA REPÚBLICA #3140-A, COL.
EX-HACIENDA DE LA HUERTA, C.P. 58050, MORELIA, MICH. TEL.: 443 334 6858
MORELOS
FIX FERRETERÍAS
CAPITÁN ANZURES #95, ESQ. JOSÉ PERDIZ, COL. CENTRO, C.P. 62740, CUAUTLA, MOR.
TEL.: 735 352 8931
NAYARIT
HERRAMIENTAS DE TEPIC
MAZATLAN #117, COL. CENTRO, C.P. 63000, TEPIC, NAY. TEL.: 311 258 0540
NUEVO LEÓN
SUCURSAL MONTERREY
CARRETERA LAREDO #300, 1B MONTERREY PARKS, COLONIA PUERTA DE ANÁHUAC, C.P. 66052, ESCOBEDO, NUEVO LEÓN, TEL.: 81 8352 8791 / 81 8352 8790
OAXACA
FIX FERRETERÍAS
AV. 20 DE NOVIEMBRE #910, COL. CENTRO, C.P. 68300, TUXTEPEC, OAX. TEL.: 287 106 3092
PUEBLA
SUCURSAL PUEBLA
AV PERIFÉRICO #2-A, SAN LORENZO ALMECATLA,
C.P. 72710, CUAUTLACINGO, PUE.
TEL.: 222 282 8282 / 84 / 85 / 86
QUERÉTARO
ARU HERRAMIENTAS S.A DE C.V.
AV. PUERTO DE VERACRUZ #110, COL. RANCHO DE ENMEDIO, C.P. 76842, SAN JUAN DEL RÍO, QRO.
TEL.: 427 268 4544
QUINTANA ROO
FIX FERRETERÍAS
CARRETERA FEDERAL MZ. 46 LT. 3 LOCAL 2, COL EJIDAL, C.P. 77710 PLAYA DEL CARMEN, Q.R.
TEL.: 984 267 3140
SAN LUIS
FIX FERRETERÍAS
AV. UNIVERSIDAD #1850, COL. EL PASEO, C.P. 78320, SAN LUIS POTOSÍ, S.L.P. TEL.: 444 822 4341
SINALOA
SUCURSAL CULIACÁN
AV. JESÚS KUMATE SUR #4301, COL. HACIENDA DE LA MORA, C.P. 80143, CULIACÁN, SIN.
TEL.: 667 173 9139 / 173 8400
SONORA
FIX FERRETERÍAS
CALLE 5 DE FEBRERO #517, SUR LT. 25 MZ. 10, COL. CENTRO, C.P. 85000, CD. OBREGÓN, SON.
TEL.: 644 413 2392
TABASCO
SUCURSAL VILLAHERMOSA
CALLE HELIO LOTES 1, 2 Y 3 MZ. #1, COL. INDUSTRIAL, 2A ETAPA, C.P. 86010, VILLAHERMOSA, TAB.
TEL.: 993 353 7244
TAMAULIPAS
VM ORINGS Y REFACCIONES
CALLE ROSITA #527 ENTRE 20 DE NOVIEMBRE Y GRAL. RODRÍGUEZ, FRACC. REYNOSA, C.P. 88780, REYNOSA, TAMS. TEL.: 899 926 7552
TLAXCALA
SERVICIOS Y HERRAMIENTAS INDUSTRIALES PABLO SIDAR #132, COL . BARRIO DE SAN BARTOLOMÉ, C.P. 90970, SAN PABLO DEL MONTE, TLAX.
TEL.: 222 271 7502
VERACRUZ
LA CASA DISTRIBUIDORA TRUPER
BLVD. PRIMAVERA. ESQ. HORTENSIA S/N, COL. PRIMAVERA C.P. 93308, POZA RICA, VER.
TEL.: 782 823 8100 / 826 8484
YUCATÁN
SUCURSAL MÉRIDA
CALLE 33 #600 Y 602, LOCALIDAD ITZINCAB Y MULSAY, MPIO. UMÁN, C.P. 97390, MÉRIDA, YUC.
TEL.: 999 912 2451
Warranty policy
Code : Model
- 101594: HILA-1800
Warranty. Duration: 5 year. Coverage: parts, components and workmanship against manufacturing or operating defects, except if used under conditions other than normal; when it was not operated in accordance with the instructive; was altered or repaired by personnel not authorized by Truper®. To make the warranty valid, only present the product in the establishment where you bought it or in Corregidora 35, Centro, Cuauhtémoc, CDMX, 06060, where you can also purchase parts, components, consumables and accessories. The costs of transportation of the product that derive from its fulfillment of its service network are included. Truper will not require any proof of purchase to make the warranty effective. Phone number 800-018-7873. Made in China. Imported by Truper, S.A. de C.V. Parque Industrial 1, Parque Industrial Jilotepec, Jilotepec, Edo. de Méx.
C.P. 54257, Phone number 761 782 9100.
Stamp of the business. Delivery date:




















