msi G274 68.6 cm (27″) 1920 x 1080 pixels Full HD Gaming Monitor
Getting Started
This chapter provides you with information on hardware setup procedures. While connecting devices, be careful in holding the devices and use a grounded wrist strap to avoid static electricity.
Package Contents
| Monitor | Optix G274 Optix G274R Optix G274RW |
| Documentation | Quick Start Guide |
| Registration Card | |
|
Accessories | Stand with Screw(s) |
| Stand Base with Screw(s) | |
| Stand Cover with Screw(s) | |
| Power Cord | |
| Power Adapter | |
| Cables | DisplayPort Cable (Optional) |
Important
- Contact your place of purchase or local distributor if any of the items is damaged or missing.
- Package contents may vary by country.
- The included power cord is exclusively for this monitor and should not be used with other products.
Installing the Monitor Stand
- Leave the monitor in its protective foam packaging. Align the stand bracket to the monitor groove.
- Tighten the stand bracket with screws.
- Connect the base to the stand and tighten the base screw to secure the base.
- Make sure the stand assembly is properly installed before setting the monitor upright.
Important
- Place the monitor on a soft, protected surface to avoid scratching the display panel. ∙ Do not use any sharp objects on the panel.
- The groove for installing the stand bracket can also be used for the wall mount. Please contact your dealer for a proper wall mount kit.
Optix G274![]()
Optix G274R/ Optix G274RW![]()
Adjusting the Monitor
This monitor is designed to maximize your viewing comfort with its adjustment capabilities.
Important
- Avoid touching the display panel when adjusting the monitor. ∙ Please slightly tilt the monitor backward before pivoting it.
Optix G274![]()
Optix G274R/ Optix G274RW![]()
Monitor Overview
Optix G274![]()
Optix G274R/ Optix G274RW![]()
| 1 | Power LED Lit in white after the monitor is turned on. If no signal input, the LED will turn into orange. Lit in orange when the monitor is in Stand-by mode. |
| 2 | Power Button & Navi Key |
| 3 | Cable Routing Hole |
| 4 | HDMI 2.0 Port |
| 5 | DisplayPort 1.2 Port |
| 6 | Headphone Jack |
| 7 | Power Jack |
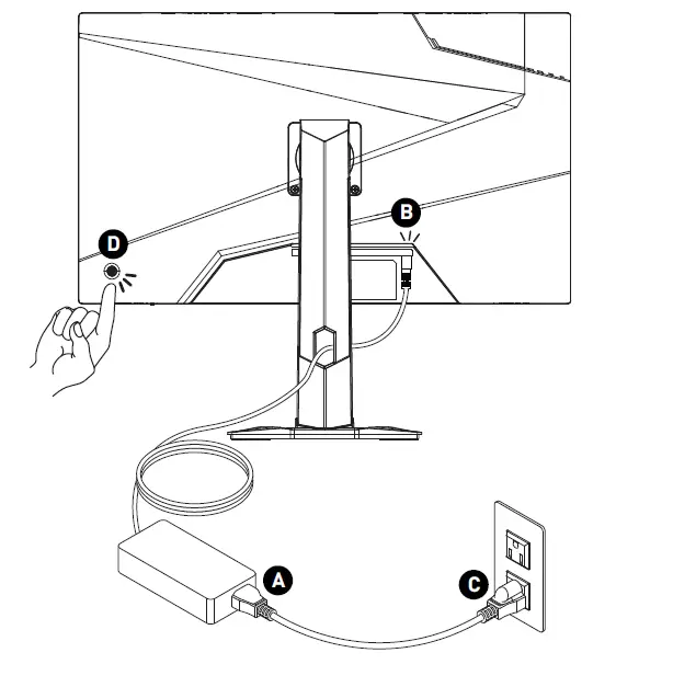
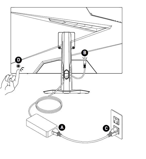
Connecting the Monitor to PC
- Turn off your computer.
- Connect the video cable from the monitor to your computer.
- Assemble the monitor power adapter & power cord. (Figure A)
- Connect the power adapter to the monitor power jack. (Figure B)
- Plug the power cord into the electrical outlet. (Figure C)
- Turn on the monitor. (Figure D)
- Power on the computer and the monitor will auto detect the signal source.
Optix G274![]()
Optix G274R/ Optix G274RW![]()
OSD Setup
This chapter provides you with essential information on OSD Setup.
Important
All information is subject to change without prior notice.
The monitor comes with a Navi Key, a multi-directional control that helps navigate the On-Screen Display (OSD) menu.
Optix G274![]()
Optix G274R/ Optix G274RW![]()
Up/Down/Left/Right:
- selecting function menus and items
- adjusting function values
- entering into/exiting from function menus
Press (OK):
- launching the On-Screen Display (OSD)
- entering submenus
- confirming a selection or setting
Hot Key
- Users may enter into preset function menus by moving the Navi Key up, down, left or right when the OSD menu is inactive.
- Users may customize their own Hot Keys to enter into different function menus.
Important
When receiving HDR signals, Night Vision, MPRT, Low Blue Light, HDCR, Brightness, Contrast, Color Temperature will be grayed out.
Gaming
| 1st Level Menu | 2nd/3rd Level Menu | Description |
| Game Mode | User | ∙ Use Up or Down Button to select and preview mode effects. ∙ Press the OK Button to confirm and apply your mode type. |
| FPS | ||
| Racing | ||
| RTS | ||
| RPG | ||
| Night Vision | OFF | ∙ This function optimizes background brightness and is recommended for FPS games. |
| Normal | ||
| Strong | ||
| Strongest | ||
| A.I. |
| 1st Level Menu | 2nd/3rd Level Menu | Description | |
| Response Time | Normal | ∙ Users can adjust Response Time in any mode. ∙ Response Time will be grayed out while MPRT Sync is enabled. | |
| Fast | |||
| Fastest | |||
| MPRT | OFF | ∙ When MPRT is enabled, Brightness cannot be enabled and will be grayed out. ∙ HDCR and MPRT cannot be enabled simultaneously. ∙ Response time will be grayed out while MPRT is enabled. ∙ MPRT is available when the refresh rate is over 85Hz. ∙ MPRT has to be disabled while Adaptive-Sync is set to ON. | |
| ON | |||
| Refresh Rate | Location | Left Top | ∙ Location is adjustable in OSD Menu. Press the OK Button to confirm and apply your Refresh Rate Location. ∙ This monitor follows and works at the Operating System’s preset Screen Refresh Rate. |
| Right Top | |||
| Left Bottom | |||
| Right Bottom | |||
| OFF | |||
| ON | |||
| Alarm Clock | Location | Left Top | ∙ After setting the time, press the OK Button to activate the timer. ∙ Users have to manually restore their preset Alarm Clock after any AC power loss and reconnection. |
| Right Top | |||
| Left Bottom | |||
| Right Bottom | |||
| OFF | |||
| 15:00 | 00:01 ~ 99:59 | ||
| 30:00 | |||
| 45:00 | |||
| 60:00 | |||
| 1st Level Menu | 2nd/3rd Level Menu | Description | |
| Screen Assistance | None |
| ∙ Users can adjust Screen Assistance in any mode. |
| Adaptive-Sync | OFF | ∙ Adaptive-Sync prevents screen tearing. | |
| ON | |||
Professional
| 1st Level Menu | 2nd Level Menu | Description |
| Pro Mode | User | ∙ Use Up or Down Button to select and preview mode effects. ∙ Press the OK Button to confirm and apply your mode type. ∙ The default setting “Eco” mode meets the requirements of TÜV Rheinland’s “Low Blue Light (Hardware Solution)” standard and Eyesafe certification. |
| Anti-Blue | ||
| Movie | ||
| Office | ||
| sRGB | ||
| Eco | ||
| Low Blue Light | OFF | ∙ Low Blue Light protects your eyes against blue light. When enabled, Low Blue Light adjusts the screen color temperature to a more yellow glow. ∙ When Pro Mode is set to Anti-Blue, it is mandatory to enable Low Blue Light. ∙ This monitor is a Low Blue Light backlight monitor, it would decrease the blue light emitted without adjusting OSD function. |
| ON | ||
| HDCR | OFF | ∙ HDCR enhances image quality by increasing the contrast of images. ∙ When HDCR is set to ON, Brightness will be grayed out. ∙ HDCR and MPRT cannot be enabled simultaneously. |
| ON |
| 1st Level Menu | 2nd Level Menu | Description |
| MPRT | OFF | ∙ When MPRT is enabled, Brightness cannot be enabled and will be grayed out. ∙ HDCR and MPRT cannot be enabled simultaneously. ∙ Response time will be grayed out while MPRT is enabled. ∙ MPRT is available when the refresh rate is over 85Hz. ∙ MPRT has to be disabled while Adaptive- Sync is set to ON. |
| ON | ||
| Image Enhancement | OFF | ∙ Image Enhancement enhances image edges to improve their acutance. |
| Weak | ||
| Medium | ||
| Strong | ||
| Strongest |
Image
| 1st Level Menu | 2nd/3rd Level Menu | Description | |
| Brightness | 0-100 | ∙ Properly adjust Brightness according to the surrounding lighting. ∙ Brightness will be grayed out when MPRT or HDCR are enabled. | |
| Contrast | 0-100 | ∙ Properly adjust Contrast to relax your eyes. | |
| Sharpness | 0-5 | ∙ Sharpness improves clarity and details of images. | |
| Color Temperature | Cool | ∙ Use Up or Down Button to select and preview mode effects. ∙ Press the OK Button to confirm and apply your mode type. ∙ Users can adjust Color Temperature in Customization mode. | |
| Normal | |||
| Warm | |||
| Customization | R (0-100) | ||
| G (0-100) | |||
| B (0-100) | |||
| 1st Level Menu | 2nd/3rd Level Menu | Description |
| Screen Size | Auto | ∙ Users can adjust Screen Size in any mode, any resolution and any screen refresh rate. |
| 4:3 | ||
| 16:9 |
Input Source
| 1st Level Menu | 2nd Level Menu | Description |
| HDMI1 | ∙ Users can adjust Input Source in any mode. | |
| HDMI2 | ||
| DP | ||
| Auto Scan | OFF | ∙ Users can use the Navi Key to select Input Source at below status: • While “Auto Scan” is set to “OFF” with the monitor at power saving mode; • While “No Signal” message box is shown on the monitor. |
| ON | ||
Navi Key
| 1st Level Menu | 2nd Level Menu | Description |
| Up Down Left Right | OFF | ∙ All Navi Key items can be adjusted via OSD Menus. |
| Brightness | ||
| Game Mode | ||
| Screen Assistance | ||
| Alarm Clock | ||
| Input Source | ||
| Refresh Rate | ||
| Info. On Screen | ||
| Night Vision |
Setting
| 1st Level Menu | 2nd Level Menu | Description |
| Language | 繁體中文 | ∙ Users have to press the OK Button to confirm and apply the Language setting. ∙ Language is an independent setting. Users’ own language setting will override the factory default. When users set Reset to Yes, Language will not be changed. |
| English | ||
| Français | ||
| Deutsch | ||
| Italiano | ||
| Español | ||
| 한국어 | ||
| 日本語 | ||
| Русский | ||
| Português | ||
| 简体中文 | ||
| Bahasa Indonesia | ||
| Türkçe | ||
| (More languages coming soon) | ||
| Transparency | 0~5 | ∙ Users can adjust Transparency in any mode. |
| OSD Time Out | 5~30s | ∙ Users can adjust OSD Time Out in any mode. |
| Power Button | OFF | ∙ When set to OFF, users can press the power button to turn off the monitor. |
| Standby | ∙ When set to Standby, users can press the power button to turn off the panel and backlight. | |
| Info. On Screen | OFF | ∙ The information of the monitor status will be shown on the right side of the screen. ∙ Users can enable or disable the Info. On Screen. |
| ON |
| 1st Level Menu | 2nd Level Menu | Description |
| HDMI CEC | OFF | ∙ HDMI CEC (Consumer Electronics Control) supports Sony PlayStation®, Nintendo® Switch™, Xbox Series X/S, and various audio-visual devices that are CEC-capable. ∙ If HDMI CEC is set to ON: • The monitor will automatically power on when the CEC device is turned on. • The CEC device will enter power saving mode when the monitor is turned off. • When Sony PlayStation®, Nintendo® Switch™, or Xbox Series X/S is connected, Game and Pro Mode will be automatically set to User mode (Default) and can be adjusted to users’ preferred modes later. |
| ON | ||
| Reset | YES | ∙ Users can Reset and restore settings to original OSD Default in any mode. |
| NO |
Specifications
| Monitor | Optix G274 | Optix G274R Optix G274RW |
| Size | 27 inch | |
| Curvature | Flat | |
| Panel Type | IPS | |
| Resolution | 1920 x 1080 | |
| Aspect Ratio | 16:9 | |
| Brightness | 250 nits (typ.) | |
| Contrast Ratio | 1000:1 | |
| Refresh Rate | 170Hz | |
| Response Time | 1ms (MPRT) | |
| I/O | ∙ Power Jack x1 ∙ Headphone Jack x1 ∙ HDMI 2.0 Port x2 ∙ DisplayPort 1.2 Port x1 | |
| View Angles | 178°(H) , 178°(V) | |
| DCI-P3*/ sRGB | 92%/ 135% | |
| Surface Treatment | Anti-glare | |
| Display Colors | 16.7M | |
| Monitor Power Options | 12V 3A | |
| Power Adapter Specs Power Input Power Output | Model: ADS-40NP-12-1 12036E 100~240Vac, 50~60Hz, 1A 12V 3A | |
| Adjustment (Height) | 0 ~ 100mm | 0 ~ 130mm |
| Adjustment (Tilt) | -5° ~ 20° | |
| Adjustment (Swivel) | -75° ~ 75° | -45° ~ 45° |
| Adjustment (Pivot) | -90° ~ 90° | -90° ~ 90° |
| Kensington Lock | Yes | |
| Monitor | Optix G274 | Optix G274R Optix G274RW | |
| VESA Mounting | ∙ Plate Type: 100 x 100 mm ∙ Screw Type: M4 x 10 mm • Thread Diameter: 4 mm • Thread Pitch: 0.7 mm • Thread Length: 10 mm | ||
| Dimension (W x H x D) | 613.5 x 231.9 x 472.0 mm | 613.4 x 196.4 x 532.0 mm | |
| Weight | 5.3 kg (net) 7.2 kg (gross) | 5.9 kg (net) 8.0 kg (gross) | |
| Environment | Operating | ∙ Temperature: 0℃ to 40℃ ∙ Humidity: 20% to 90%, non-condensing ∙ Altitude: 0 ~ 5000m | |
| Storage | ∙ Temperature: -20℃ to 60℃ ∙ Humidity: 10% to 90%, non-condensing | ||
Preset Display Modes
| Standard | Resolution | Optix G274 Optix G274R Optix G274RW | ||
| HDMI | DP | |||
| VGA | 640×480 | @60Hz | V | V |
| @67Hz | V | V | ||
| @72Hz | V | V | ||
| @75Hz | V | V | ||
| Dos-Mode | 720×480 | @60Hz | V | V |
| 720×576 | @50Hz | V | V | |
| SVGA | 800×600 | @56Hz | V | V |
| @60Hz | V | V | ||
| @72Hz | V | V | ||
| @75Hz | V | V | ||
| XGA | 1024×768 | @60Hz | V | V |
| @70Hz | V | V | ||
| @75Hz | V | V | ||
| SXGA | 1280×1024 | @60Hz | V | V |
| @75Hz | V | V | ||
| WXGA+ | 1440×900 | @60Hz | V | V |
| WSXGA+ | 1680×1050 | @60Hz | V | V |
| Full HD | 1920×1080 | @60Hz | V | V |
| @85Hz | V | V | ||
| @144Hz | V | V | ||
| @165Hz | V | V | ||
| @170Hz | V * | |||
| Video Timing Resolution | 720P | V | V | |
| 1080P @60Hz | V | V | ||
| 1080P @120Hz | V | V | ||
Users have to set DP OverClocking to ON. This is the highest refresh rate supported by DP OverClocking. If any monitor error occurs during overclocking, please downscale the refresh rate.
Troubleshooting
The power LED is off.
- Press the monitor power button again.
- Check if the monitor power cable is properly connected.
No image.
- Check if the computer graphics card is properly installed.
- Check if the computer and monitor are connected to electrical outlets and are turned on.
- Check if the monitor signal cable is properly connected.
- The computer may be in Standby mode. Press any key to activate the monitor.
The screen image is not properly sized or centered.
Refer to Preset Display Modes to set the computer to a setting suitable for the monitor to display.
No Plug & Play.
- Check if the monitor power cable is properly connected.
- Check if the monitor signal cable is properly connected.
- Check if the computer and graphics card are Plug & Play compatible.
The icons, font or screen are fuzzy, blurry or have color problems.
- Avoid using any video extension cables.
- Adjust brightness and contrast.
- Adjust RGB color or tune color temperature.
- Check if the monitor signal cable is properly connected.
- Check for bent pins on the signal cable connector.
The monitor starts flickering or shows waves.
- Change the refresh rate to match the capabilities of your monitor.
- Update your graphics card drivers.
- Keep the monitor away from electrical devices that may cause electromagnetic interference (EMI).
Safety Instructions
- Read the safety instructions carefully and thoroughly.
- All cautions and warnings on the device or User Guide should be noted.
- Refer servicing to qualified personnel only.
Power
- Make sure that the power voltage is within its safety range and has been adjusted properly to the value of 100~240V before connecting the device to the power outlet.
- If the power cord comes with a 3-pin plug, do not disable the protective earth pin from the plug. The device must be connected to an earthed mains socket-outlet.
- Please confirm the power distribution system in the installation site shall provide the circuit breaker rated 120/240V, 20A (maximum).
- Always disconnect the power cord or switch the wall socket off if the device would be left unused for a certain time to achieve zero energy consumption.
- Place the power cord in a way that people are unlikely to step on it. Do not place anything on the power cord.
- If this device comes with an adapter, use only the MSI-provided AC adapter approved for use with this device.
Battery
Please take special precautions if this device comes with a battery.
- The danger of explosion if the battery is incorrectly replaced. Replace only with the same or equivalent type recommended by the manufacturer.
- Avoid the disposal of a battery in fire or a hot oven, or mechanically crushing or cutting of a battery, which can result in an explosion.
- Avoid leaving a battery in an extremely high temperature or extremely low air pressure environment that can result in an explosion or the leakage of flammable liquid or gas.
- Do not ingest the battery. If the coin/button cell battery is swallowed, it can cause severe internal burns and can lead to death. Keep new and used batteries away from children.
European Union:
Batteries, battery packs, and accumulators should not be disposed of as unsorted household waste. Please use the public collection system to return, recycle, or treat them in compliance with local regulations.
California, USA:
The button cell battery may contain perchlorate material and requires special handling when recycled or disposed of in California.
For further information please visit: https://dtsc.ca.gov/perchlorate/
Environment
- To reduce the possibility of heat-related injuries or of overheating the device, do not place the device on a soft, unsteady surface or obstruct its air ventilators.
- Use this device only on a hard, flat, and steady surface.
- To prevent the device from tipping over, secure the device to a desk, wall, or fixed object with an anti-tip fastener that helps to properly support the device and keep it safe in place.
- To prevent fire or shock hazards, keep this device away from humidity and high temperature.
- Do not leave the device in an unconditioned environment with a storage temperature above 60℃ or below -20℃, which may damage the device.
- The maximum operating temperature is around 40℃.
- When cleaning the device, be sure to remove the power plug. Use a piece of soft cloth rather than an industrial chemical to clean the device. Never pour any liquid into the opening; that could damage the device or cause electric shock.
- Always keep strong magnetic or electrical objects away from the device.
- If any of the following situations arises, get the device checked by service personnel:
- The power cord or plug is damaged.
- Liquid has penetrated into the device.
- The device has been exposed to moisture.
- The device does not work well or you can not get it working according to the User Guide.
- The device has dropped and is damaged.
- The device has obvious sign of breakage.
TÜV Rheinland Certification
TÜV Rheinland Low Blue Light Certification
Blue light has been shown to cause eye fatigue and discomfort. MSI now offers monitors with TÜV Rheinland Low Blue Light certification to ensure users’ eye comfort and well-being. Please follow the instructions below to reduce the symptoms from extended exposure to the screen and blue light.
- Place the screen 20 – 28 inches (50 – 70 cm) away from your eyes and a little below eye level.
- Consciously blinking the eyes every now and then will help to reduce eye strain after extended screen time.
- Take breaks for 20 minutes every 2 hours.
- Look away from the screen and gaze at a distant object for at least 20 seconds during breaks.
- Make stretches to relieve body fatigue or pain during breaks.
- Use the Reader/Anti-Blue mode or turn on the optional Low Blue Light function.
TÜV Rheinland Flicker Free Certification
- TÜV Rheinland has tested this product to ascertain whether the display produces visible and invisible flicker for the human eye and therefore strains the eyes of users.
- TÜV Rheinland has defined a catalogue of tests, which sets out minimum standards at various frequency ranges. The test catalog is based on internationally applicable standards or standards common within the industry and exceeds these requirements.
- The product has been tested in the laboratory according to these criteria.
- The keyword “Flicker Free” confirms that the device has no visible and invisible flicker defined in this standard within the range of 0 – 3000 Hz under various brightness settings.
- The display will not support Flicker-Free when Anti Motion Blur/MPRT is enabled. (The availability of Anti Motion Blur/MPRT varies by products.)
Regulatory Notices CE Conformity
This device complies with the requirements set out in the Council Directive on the Approximation of the Laws of the Member States relating to Electromagnetic Compatibility (2014/30/EU), Low-voltage Directive (2014/35/EU), ErP Directive (2009/125/EC) and RoHS directive (2011/65/EU). This product has been tested and found to comply with the harmonized standards for Information Technology Equipment published under Directives of Official Journal of the European Union. FCC-B Radio Frequency Interference Statement This equipment has been tested and found to comply with the limits for a Class B digital device, pursuant to Part 15 of the FCC Rules. These limits are designed to provide reasonable protection against harmful interference in a residential installation. This equipment generates, uses and can radiate radio frequency energy and, if not installed and used in accordance with the instruction manual, may cause harmful interference to radio communications. However, there is no guarantee that interference will not occur in a particular installation. If this equipment does cause harmful interference to radio or television reception, which can be determined
by turning the equipment off and on, the user is encouraged to try to correct the interference by one or more of the measures listed below:
- Reorient or relocate the receiving antenna.
- Increase the separation between the equipment and receiver.
- Connect the equipment into an outlet on a circuit different from that to which the receiver is connected.
- Consult the dealer or an experienced radio/television technician for help.
Notice 1
The changes or modifications not expressly approved by the party responsible for compliance could void the user’s authority to operate the equipment.
Notice 2
Shielded interface cables and AC power cord, if any, must be used in order to comply with the emission limits.
This device complies with Part 15 of the FCC Rules. Operation is subject to the following two conditions:
- This device may not cause harmful interference, and
- This device must accept any interference received, including interference that may cause undesired operation.
MSI Computer Corp.
901 Canada Court, City of Industry, CA 91748, USA (626) 913-0828 www.msi.com
WEEE Statement
Under the European Union (“EU”) Directive on Waste Electrical and Electronic Equipment, Directive 2012/19/EU, products of “electrical and electronic equipment” cannot be discarded as municipal waste anymore and manufacturers of covered electronic equipment will be obligated to take back such products at the end of their useful life.
Chemical Substances Information
In compliance with chemical substances regulations, such as the EU REACH Regulation (Regulation EC No. 1907/2006 of the European Parliament and the Council), MSI provides the information of chemical substances in products at: https://csr.msi.com/global/index
RoHS Statement
Japan JIS C 0950 Material Declaration A Japanese regulatory requirement, defined by specification JIS C 0950, mandates that manufacturers provide material declarations for certain categories of electronic products offered for sale after July 1, 2006.
https://csr.msi.com/global/Japan-JIS-C-0950-Material-Declarations
India RoHS
This product complies with the “India E-waste (Management and Handling) Rule 2011” and prohibits use of lead, mercury, hexavalent chromium, polybrominated biphenyls, or polybrominated diphenyl ethers in concentrations exceeding 0.1 weight % and 0.01 weight % for cadmium, except for the exemptions set in Schedule 2 of the Rule.
Turkey EEE Regulation
- Conforms to the EEE Regulations of the Republic Of Turkey.
- Ukraine Restriction of Hazardous Substances
- The equipment complies with the requirements of the Technical Regulation, approved by the Resolution of Cabinet of the Ministry of Ukraine as of December 3, 2008, № 1057, in terms of restrictions for the use of certain dangerous substances in electrical and electronic equipment.
Vietnam RoHS
As of December 1, 2012, all products manufactured by MSI comply with Circular 30/2011/TT-BCT temporarily regulating the permitted limits for a number of hazardous substances in electronic and electric products.
Green Product Features
- Reduced energy consumption during use and stand-by
- Limited use of substances harmful to the environment and health
- Easily dismantled and recycled
- Reduced use of natural resources by encouraging recycling
- Extended product lifetime through easy upgrades
- Reduced solid waste production through take-back policy
Environmental Policy
- The product has been designed to enable proper reuse of parts and recycling and should not be thrown away at its end of life.
- Users should contact the local authorized point of collection for recycling and dispose of their end-of-life products.
- Visit the MSI website and locate a nearby distributor for further recycling information.
- Users may also reach us at [email protected] for information regarding proper
Warning!
Overuse of screens is likely to affect eyesight.
Recommendations:
- Take a 10-minute break for every 30 minutes of screen time.
- Children under 2 years of age should have no screen time. For children aged 2 years and over, screen time should be limited to less than one hour per day.
Copyright and Trademarks Notice
Copyright © Micro-Star Int’l Co., Ltd. All rights reserved. The MSI logo used is a registered trademark of Micro-Star Int’l Co., Ltd. All other marks and names mentioned may be trademarks of their respective owners. No warranty as to accuracy or completeness is expressed or implied. MSI reserves the right to make changes to this document without prior notice.
Technical Support
If a problem arises with your product and no solution can be obtained from the user’s manual, please contact your place of purchase or a local distributor. Alternatively, please visit https://www.msi.com/support/ for further guidance.




















