90GSFRN-C-03OM Condensing 90+% AFUE Gas Furnace
Owner’s Manual
NOTE: Read the entire instruction manual before starting the installation.
Our products are designed, tested, and built in accordance with DOE standardized procedures; however, actual operating results and efficiencies may vary based on manufacturing and supplier tolerances, equipment configuration, operating conditions, and installation practices.
NOTE: To the Installer: This manual must be left with the equipment user.
USER: Please read all instructions in the manual and retain all manuals for future reference

In representative drawings, some models may vary in appearance.
![]()
![]()
Use of the AHRI Certified TM Mark indicates a manufacturer’s participation in the program.
For verification of certification for individual products, go to www.ahridirectory.org.
WARNING
FIRE OR EXPLOSION HAZARD
Failure to follow safety warnings exactly could result in personal injury, death, or property damage.
Do not store or use gasoline or other flammable vapors and liquids in the vicinity of this or any other appliance.
WHAT TO DO IF YOU SMELL GAS
- Do not try to light any appliance.
- Do not touch any electrical switch; do not use any phone in your building.
- Leave the building immediately.
- Immediately call your gas supplier from a neighbor’s phone.
Follow the gas supplier’s instructions. - If you cannot reach your gas supplier, call the fire department.
Installation and service must be performed by a qualified installer, service agency or gas supplier.
WARNING
CARBON MONOXIDE POISONING HAZARD
Failure to follow this warning could result in personal injury and/or death.
Carbon Monoxide (CO) is a colorless, odorless, and tasteless poisonous gas that can be fatal when inhaled. Follow all installation, maintenance, and service instructions. See additional information below regarding the installation of a CO Alarm.
Most states in the USA and jurisdictions in Canada have laws that require the use of Carbon Monoxide (CO) alarms with fuel-burning products. Examples of fuel-burning products are furnaces, boilers, space heaters, generators, water heaters, stoves/ranges, clothes dryers, fireplaces, incinerators, automobiles, and other internal combustion engines. Even if there are no laws in your jurisdiction requiring a CO Alarm, it’s highly recommended that whenever any fuel-burning product is used in or around the home or business that the dwelling be equipped with a CO Alarm(s). The Consumer Product Safety Commission recommends the use of CO Alarm(s). The CO Alarm(s) must be installed, operated, and maintained according to the CO Alarm manufacturer’s instructions. For more information about Carbon Monoxide, and local laws, or to purchase a CO Alarm online, please visit the following website. https://www.kidde.com.
WARNING
ELECTRICAL OPERATION HAZARD
Failure to follow this warning could result in personal injury, death, or property damage.
Do not use this furnace if any part has been underwater. A flood-damaged furnace is extremely dangerous. Attempts to use the furnace can result in fire or explosion. A qualified service agency should be contacted to inspect the furnace and to replace all gas controls, control system parts, and electrical parts that have been wet, or the entire furnace if deemed necessary.
WELCOME TO TODAY’S GENERATION OF COMFORT
Congratulations! In light of rising energy costs, a 90+% AFUE Condensing Gas Furnace from Carrier Corporation is among the soundest investments today’s homeowner can make.
Your new furnace is truly a triumph of technology in home heating. A revolutionary design employs two heat exchangers to “squeeze” out the maximum amount of heat from the fuel consumed. In fact, your new furnace is so efficient, over 90% of the heat generated during combustion is captured and delivered inside your home.
This furnace is among the safest, most dependable, energy-efficient furnaces you can buy today. We are proud of the technological advances incorporated into the design of this furnace. With only minimal care, your new furnace will deliver many years of money-saving home comfort and enjoyment. Spend just a few minutes with this manual to learn the operation of your new furnace and the small amount of maintenance it takes to help keep it operating at peak efficiency year after year.
WARNING
ELECTRICAL SHOCK, FIRE, OR EXPLOSION HAZARD
Failure to follow safety warnings exactly could result in dangerous operations, serious injury, death, or property damage.
Improper servicing could result in dangerous operations, serious injury, death, or property damage.
- Before servicing, disconnect all electrical power to the furnace.
- When servicing controls, label all wires prior to disconnecting.
Reconnect wires correctly. - Verify proper operation after servicing.
FURNACE COMPONENTS
(Furnace shown in upflow position; may be used in downflow or horizontal orientation or applications.)

In representative drawings, some models may vary in appearance.
Fig. 1 – Furnace Components
SAFETY CONSIDERATIONS
Installing and servicing of heating equipment can be hazardous due to gas and electrical components. Only trained and qualified personnel should install, repair, or service heating equipment.
Untrained personnel can perform basic maintenance functions such as cleaning and replacing air filters. All other operations must be performed by trained service personnel. Observe safety precautions in this manual, on tags, and on labels attached to the furnace and other safety precautions that may apply.
Recognize safety information. This is the safety alert symbol
When you see this symbol on the furnace and in instructions or manuals, be alert to the potential for personal injury.
Understand the signal words DANGER, WARNING, CAUTION, and NOTE. DANGER, WARNING, and CAUTION are used with the safety alert symbol. DANGER identifies the most serious hazards which will result in severe personal injury or death. WARNING signifies hazards that could result in personal injury or death. CAUTION is used to identify unsafe practices which may result in minor personal injury or product and property damage. NOTE is used to highlight suggestions that will result in enhanced installation, reliability, or operation.
To minimize the possibility of serious personal injury, fire, damage to your furnace, or improper operation, carefully follow these safety rules which apply to both direct-vent and non-direct-vent applications:
- Your new gas furnace may have been installed in one of two ways, as a direct-vent (2-pipe-Fig. 2) application or as a non-direct vent (1-pipe-Fig. 3) application.
- In a direct-vent (2-pipe) application, your furnace uses air from outside the home for combustion and vents flue gas to the outdoors.
This type of application will have two pipes running from the furnace to the outdoors. In some cases, the inlet air pipe may be located in an area that has access to outdoor air, such as an attic. In all cases, the outlet vent pipe must be routed to the outdoors (see Fig. 2). In this application, the vent and air intake pipes must terminate outside the structure and must not be obstructed in any way. Do not block or obstruct air openings on the furnace or spaces around the furnace. - In a non-direct vent (1-pipe) application, your furnace uses air from adjacent to the furnace for combustion and vents flue gas to the outdoors. This type of application will have only one pipe running from the furnace to the outdoors (see Fig. 3). The other pipe will terminate in the same space as the furnace and is the source of combustion air for your furnace. Therefore, the furnace must not be enclosed in an airtight room or be sealed behind solid doors. It must have adequate airflow for efficient combustion and safe ventilation.
Do not obstruct the combustion-air pipe in any way. The vent pipe must terminate outside the structure and must not be obstructed in any way. Do not block or obstruct air openings or space around the furnace.
WARNING
FIRE OR EXPLOSION HAZARD
Failure to follow warnings could result in personal injury, death, or property damage.
Keep insulation clear of the furnace and maintain clearances shown on the unit clearance label.
Do not keep combustible materials, gasoline, and other flammable liquids or vapors around your furnace.
WARNING
CARBON MONOXIDE POISONING HAZARD
Failure to follow instructions could result in severe personal injury or death due to carbon monoxide poisoning if combustion products infiltrate into the building.
Check that all openings in the outside wall around the vent (and air intake) pipe(s) are sealed to prevent infiltration of combustion products into the building.
Check that furnace vent (and air intake) terminal(s) are not obstructed in any way during all seasons.
In the representative drawings, some models may vary in appearance.
Fig. 2 – Exterior Vent Pipes
In the representative drawings, some models may vary in appearance.
Fig. 3 – Interior Combustion – Air Pipe
WARNING
FIRE OR EXPLOSION HAZARD
Failure to follow this warning could result in personal injury, death, or property damage.
Do not keep combustible materials, gasoline, and other flammable liquids or vapors around your furnace.
- Keep the area around your furnace clear and free of combustible materials, gasoline, and other flammable liquids and vapors.
Fig. 4 – NO combustible materials near the furnace - Do not cover the furnace, store trash or debris near it, or in any way block the flow of fresh air to the unit.
CAUTION
UNIT OPERATION HAZARD
Failure to follow this caution may result in intermittent unit operation.
For proper and safe operation the furnace needs air for combustion and ventilation. Do not block or obstruct air openings on the furnace, air openings to the area in which the furnace is installed, and the space around the furnace
In addition to the safety rules above, make sure that the following In addition to the safety rules above, make sure that the following combustion-air requirements are met for non-direct vent applications:
- Combustion air must be clean and uncontaminated with chlorine or fluorine. These compounds are present in many products around the home, such as water softener salts, laundry bleaches, detergents, adhesives, paints, varnishes, paint strippers, waxes, and plastics.
- Make sure the combustion air for your furnace does not contain any of these compounds. During remodeling be sure the combustion air is fresh and uncontaminated. If these compounds are burned in your furnace, the heat exchangers may deteriorate.
- A furnace installed in an attic or other insulated space must be kept free and clear of insulating material. Examine the furnace area when the furnace is installed or when insulation is added. Some insulation materials may be combustible.
- Should the gas supply fail to shut off or if overheating occurs, shut off the gas valve to the furnace before shutting off the electrical supply.
This furnace contains SAFETY DEVICES that must be MANUALLY RESET. If the furnace is left unattended for an extended period of time, have it checked periodically for proper operation. This precaution will prevent problems associated with no heat, such as frozen water pipes, etc. See the “Before You Request a Service Call” section in this manual.
BEFORE STARTING YOUR FURNACE
Examine the furnace installation to determine that:
- All flue gas-carrying areas external to the furnace (i.e. chimney, vent connector) are clear and free of obstructions.
- The vent connector is in place, slopes upward, and is physically sound without holes or gaps.
- The return-air duct connection(s) is physically sound, is sealed to the furnace casing, and terminates outside the space containing the furnace.
- The physical support of the furnace is sound without sagging cracks, gaps, etc. around the base.
- There are no obvious signs of deterioration of the furnace.
- The burner flames are in good adjustment (see Fig. 5) (by comparison with pictorial sketches or drawings of the main burner flame).

Fig. 5 – Burner Flame Adjustment
STARTING YOUR FURNACE
WARNING
Instead of a continuously burning pilot flame which wastes valuable energy, your furnace uses an automatic, hot surface ignition system to light the burners each time the thermostat signals the furnace to start.
Follow these important safeguards:
- Never attempt to manually light the burners with a match or other source of flame.
Fig. 6 – Do Not Light Burner with Match - Read and follow the operating instructions on the inside of the main furnace door, especially the item that reads as follows: “Wait 5 minutes to clear out any gas. Then smell for gas, including near the floor. If you smell gas, STOP! Follow “B” in the safety information on the furnace label. If you don’t smell gas, go to the next step.”
- If a suspected malfunction occurs with your gas control system, such as the burners do not lighting when they should, refer to the shutdown procedures inside of the main furnace door, or in the “Shutting Down Your Furnace” section and call your dealer as soon as possible.
- CHECK AIR FILTER: Before attempting to start your furnace, be sure the furnace filter is clean and in place. See the “Performing Routine Maintenance” section in this manual. Do not run the furnace without a filter in place. Then proceed as follows:
STEPS FOR STARTING YOUR FURNACE
- Set your room thermostat to the lowest temperature setting and set the “MODE” to “OFF” (see Fig. 7).

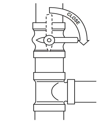
Fig. 7 – Lowest Temperature Setting - Close the external manual gas valve (see Fig. 8).
Fig. 8 – Close Valve - Turn OFF the electrical supply to the furnace (see Fig. 9).
Fig. 9 – Turn Off Electrical Supply - Remove the main furnace door (see Fig. 10).
In the representative drawings, some models may vary in appearance.
Fig. 10 – Remove Main Furnace Door (Upflow Configuration) - Turn the control switch on the gas control to the OFF position and wait five minutes (see Fig. 11). Then smell for gas, including near the floor. If you smell gas, STOP! Follow “B” on the furnace label. If you don’t smell gas, go to the next step.
Fig. 11 – Control Switch to OFF - After waiting five minutes, turn the control switch on the gas control to the ON position. Turn the control switch ON (see Fig. 12).
Fig. 12 – Control Switch to ON - Replace main furnace door (see Fig. 13).
In the representative drawing, some models may vary in appearance.
Fig. 13 – Furnace Door Replaced (Upflow Configuration) - Turn ON the electrical supply to the furnace and wait one minute (see Fig. 14).
Fig. 14 – Turn on Electrical Supply - Open the external manual gas valve (see Fig. 15).
Fig. 15 – Open Valve - Set the room thermostat “MODE” to “HEAT” and adjust the set point to a temperature slightly above the room temperature. This will automatically signal the furnace to start.
- When the furnace receives the start signal, the combustion air draft inducer is started. When the pressure switch senses that there is sufficient combustion air, the hot surface igniter is energized.
After the hot surface igniter is heated for about 20 seconds, the gas valve permits gas to flow to the main burners. After ignition and a time delay of up to 60 seconds, the furnace blower will start.
Variable-capacity furnaces start at low speed until the control makes the necessary adjustments to operate the blower at either the low- or high-heat speed.
NOTE: If the main burners fail to ignite after four attempts, the furnace control system will lock out. If lockout occurs, main burners fail to light, or blower does not come on, shut down the furnace and call your dealer for service. - Set your thermostat to the temperature that satisfies your comfort requirements.
SUGGESTION: Setting the thermostat back a few degrees—and compensating for the difference with warmer clothing—can make a big difference in your fuel consumption on extremely cold days. The few degrees at the top of your thermostat “comfort level” are the most costly degrees to obtain.
When the room temperature drops below the temperature selected on the thermostat, the furnace will switch on automatically. When the room temperature reaches the setting selected on the thermostat, the furnace will be automatically switched off.
Continuous Fan Operation -Some thermostats have a “FAN” switch with two selections: AUTO and ON. When the thermostat is set on AUTO, the furnace blower cycles on and off, controlled by the thermostat. In the ON position, the furnace blower runs continuously.
The continuous fan keeps the temperature level in your home more evenly balanced. It also continuously filters the indoor air.
On all but the base series furnace, the blower speed can be increased or decreased if desired due to changes of seasons, large gatherings in your home, etc. Simply change your FAN from ON to OFF for 1 to 3 seconds (or AUTO depending on your thermostat), and then return to ON. The blower will switch to the next higher speed. There are at least three speeds to choose from. If the blower is running at its highest speed, a request to change will direct the blower to return to its lowest speed.
SHUTTING DOWN YOUR FURNACE
Should you need to shut down your furnace for service or maintenance, you will need to turn the furnace off. The following procedures must be followed:
- Set your room thermostat to the lowest temperature setting and set the “MODE” to “OFF” (see Fig. 16).
Fig. 16 – Lowest Temperature Setting - Close the external manual gas valve (see Fig. 17).
Fig. 17 – Close the External Manual Valve - Turn off the electrical supply to the furnace (see Fig. 18).
Fig. 18 – Turn Off Electrical Supply - Remove the main furnace door (see Fig. 10).
- Turn the control switch on the gas control to the “OFF” position (see Fig. 11).
- Replace the main furnace door (see Fig. 13).
- If the furnace is being shut down because of a malfunction, call your dealer as soon as possible.
CAUTION
UNIT AND PROPERTY DAMAGE HAZARD
Failure to follow this caution may result in unit component or property damage.
The furnace is not to be installed, operated, and then turned off and left turned off in an unoccupied structure during winter. See “Winterization” procedures in this manual.
MINIMUM & MAXIMUM TEMPERATURE SETTINGS FOR YOUR FURNACE
This furnace is designed for a minimum continuous return-air temperature of 60°F (16°C) or intermittent operation down to 55°F (13°C) such as when used with a night setback thermostat. The return air temperature must not exceed 80°F (27°C). Failure to follow these return-air temperature limits may affect the reliability of heat exchangers, motors, and controls.
PERFORMANCE ROUTINE MAINTENANCE
NOTE: The qualified installer or agency must use only factory-authorized replacement parts, kits, and accessories when modifying this product.
Installing and servicing of heating equipment can be hazardous due to gas and electrical components.
Only trained and qualified personnel should install, repair, or service heating equipment. Untrained personnel can perform basic maintenance functions such as cleaning and replacing air filters.
All other operations must be performed by trained service personnel.
Observe safety precautions in this manual, on tags, and on labels attached to the furnace and other safety precautions that may apply.
With proper maintenance and care, your furnace will operate economically and dependably. Instructions for basic maintenance are found on this and the following pages. However, before beginning maintenance, follow these safety precautions:
WARNING
ELECTRICAL SHOCK HAZARD
Failure to follow this warning could result in personal injury or death.
Turn off the electrical power supply to your furnace and install a lockout tag before removing the access doors to service or perform maintenance.
CAUTION
CUT HAZARD
Failure to follow this caution may result in personal injury.
Although special care has been taken to minimize sharp edges, be extremely careful when handling parts or reaching into the furnace.
Wear safety glasses, gloves, and appropriate protective clothing.
FILTERING OUT TROUBLE
NOTE: The manufacturer has specified filters that will enable your furnace to provide lasting comfort and efficiency throughout its life.
Contact your dealer to help you choose filters for your furnace that both collect dirt before it enters your furnace, as well as provide low resistance to circulating air. Avoid filters that report high cleaning efficiencies, but do not allow air to pass easily through them.
CAUTION
UNIT PERFORMANCE HAZARD
Failure to follow this caution may result in unit component damage.
Never operate your furnace without a filter in place. Doing so may damage the furnace blower motor. An accumulation of dust and lint on internal parts of your furnace can cause a loss of efficiency.
CAUTION
PERSONAL INJURY HAZARD
Failure to follow this caution may result in personal injury.
Use care when cutting support rods in filters to protect against flying pieces and sharp rod ends. Wear safety glasses, gloves, and appropriate protective clothing.
A dirty filter will cause excessive stress on the furnace, heat exchanger, and blower motor, and can cause it to overheat and automatically shut down. The furnace filter should be checked every four weeks and cleaned or replaced if necessary.
If installed with a factory-specified disposable media filter, check or replace the filter before each heating and cooling season. Replace disposable media filters at least once a year.
If your furnace filter needs replacing, be sure to use the same size and type of filter that was originally specified.
The air filter for the furnace may be located an external filter cabinet attached to the side or bottom of the furnace casing. If the air filter has been installed in another location, contact your dealer for instructions.
To inspect, clean, and/or replace the air filter(s), follow these steps:
- Turn off the electrical supply to the furnace (see Fig. 19).
- Remove the air filter from the filter cabinet.
a. Remove the filter cabinet door (see Fig. 20 and Fig. 21).
NOTE: It may be necessary to remove one thumbscrew.
b. Slide air filter out of the furnace. Keep dirty side up (if dirty) to avoid spilling dirt (see Fig. 22 and Fig. 23). - Inspect the filter. If torn replace it.
NOTE: If a washable filter was supplied with the furnace and has been replaced by:
• Disposable media filter-Do not clean. If dirty, replace it only with a media filter having the same part number and size. Install with airflow direction arrow pointing towards the blower.
• Electronic Air Cleaner (EAC), refer to the EAC Owner’s Manual for maintenance information. - If washable filter, wash the filter (if dirty) in a sink, bathtub, or outside with a garden hose. Always use cold tap water. A mild liquid detergent may be used if necessary. Spray water through the filter in the opposite direction of airflow. Allow filter to dry.
- Reinstall a clean air filter.
- Turn on the electrical supply to the furnace.
If your furnace air filter needs to be replaced, be sure to use a factory-authorized filter of the same size that was originally specified.
Use the filter tables and compare your furnace size with the proper filter size.
Fig. 19 – Turn Off Electrical Supply
In the representative drawing, some models may vary in appearance.
Fig. 20 – Removal of Filter Cabinet Door from Side Blower Cabinet
In the representative drawing, some models may vary in appearance.
Fig. 21 – Removal of Filter Cabinet Door from Bottom Blower Cabinet

In the representative drawing, some models may vary in appearance.
Fig. 22 – Removal of Filter from Side Blower Cabinet
Representative drawing, some models may vary in appearance.
Fig. 23 – Removal of Filter from Bottom Blower Cabinet

In the representative drawing, some models may vary in appearance.
Fig. 24 – Replacement of Filter Cabinet Door to Side Blower Cabinet

In the representative drawing, some models may vary in appearance.
Fig. 25 – Replacement of Filter Cabinet Door to Bottom Blower Cabinet
Table 1 – Air Filter Located in Filter Cabinet
| FILTER CABINET HEIGHT – IN (MM) | FILTER SIZE – IN (MM) | FILTER TYPE |
| 16 (406) | (1) 16 x 25 x 3/4* (406 x 635 x 19) or (1) 16 x 25 x 4-5/16 (406 x 635 x 110) | Washable† |
| 20 (508) | (1) 20 x 25 x 3/4* (508 x 635 x 19) or (1) 20 x 25 x 4-5/16 (508 x 635 x 110) | Washable† |
| 24 (610) | (1) 24 x 25 x 3/4* (610 x 635 x 19) or (1) 24 x 25 x 4-5/16 (610 x 635 x 110) | Washable† |
COMBUSTION AIR AND VENT SYSTEM
WARNING
CARBON MONOXIDE POISONING HAZARD
Failure to follow this warning could result in personal injury or death.
If holes are found or if the vent pipe is obstructed or is not connected, toxic fumes can escape into your home. DO NOT OPERATE YOUR FURNACE. Call your dealer for service.
CAUTION
UNIT OPERATION HAZARD
Failure to follow this caution may result in intermittent unit operation.
For proper and safe operation the furnace needs air for combustion and ventilation. Do not block or obstruct air openings on the furnace, air openings to the area in which the furnace is installed, and the space around the furnace.
Visually inspect the combustion area and vent system before each heating season. Make sure that all PVC pipes leading into the combustion area and vent are free from any cracks and sags. An accumulation of dirt, soot, or rust can mean a loss of efficiency and improper performance. Buildups on the main burners can cause faulty firing. This “delayed ignition” is characterized by an alarmingly loud sound.
Check the combustion-air intake adjacent to the furnace or outside your home for blockage. Also, check the vent pipe on the outside of your home for blockage.
NOTE: If your furnace makes a loud noise when the main burners are ignited, shut down the furnace and call your servicing dealer.
Use your flashlight and follow these steps for inspecting the combustion area and vent system of your furnace:
WARNING
CARBON MONOXIDE POISONING HAZARD
Failure to follow this warning could result in personal injury or death.
If dirt, rust, soot, or scale accumulations are found, call your dealer. Do not operate your furnace.
- Turn off the electrical supply and gas supply to the furnace and remove the main furnace door (see Fig. 7, Fig. 8, Fig. 9, Fig. 10, and Fig. 11).
Fig. 26 – Gas Burner Assembly (Upflow)
Fig. 27 – Gas Burner Assembly (Downflow) - Inspect the combustion-air and vent PVC pipes for sags, holes, cracks, water leaks, blockage, or disconnections. Horizontal portions of the vent pipe must slope downward toward the furnace.
- If your furnace is free of the above conditions, turn on electrical and gas supplies to the furnace.
- Start your furnace and observe its operation. Watch the burner flames to see if they are clear blue, and almost transparent (see Fig. 28).
If you observe a suspected malfunction, or the burner flames are not clear blue, call your dealer. - Replace the main furnace door.

WINTERIZATION
CAUTION
UNIT AND PROPERTY DAMAGE HAZARD
Failure to follow this caution may result in unit component or property damage.
If the furnace is installed in an unconditioned space where the ambient temperatures may be 32° F (0° C) or lower, freeze protection measures must be taken to prevent minor property or product damage.
Since the furnace uses a condensing heat exchanger, some water will accumulate in the unit as a result of the heat transfer process. Therefore, once it has been operated, it cannot be turned off and left off for an extended period of time when temperatures will reach 32°F (0°C) or lower unless winterized. Follow these procedures to winterize your furnace:
CAUTION
UNIT COMPONENT DAMAGE HAZARD
Failure to follow this caution may result in damage to the furnace and other property damage.
Do not use ethylene glycol (Automotive antifreeze coolant or equivalent). Failure of plastic components may occur.
- Obtain propylene glycol (RV/swimming pool antifreeze or equivalent).
- Turn off gas and electrical supplies to your furnace.
WARNING
ELECTRICAL SHOCK HAZARD
Failure to follow this warning could result in personal injury or death.
Turn off the electrical power supply to your furnace and install a lockout tag before removing the access doors to service or perform maintenance. - Remove the furnace control compartment door.
- Remove one of the unused rubber plugs in the port on the collector box opposite the condensate trap. See Fig. 29
- Connect a field supplied 3/8-in. (9.5-mm) ID tube to the open port on the collector box.
- Insert a field-supplied funnel into the tube.
- Pour 1 quart of anti-freeze solution into the funnel/tube. Antifreeze should run through the inducer housing, overfill the condensate trap and flow to an open drain.
- If a condensate pump is used, check with the pump manufacturer to verify pump is safe for use with antifreeze used. Allow pump to start and pump anti-freeze to open drain.
- Remove funnel and tube from collector box.
- Replace plugin collector box.
- Remove the other plug and repeat steps 4-10.
- Replace the main door.
- When the furnace is re-started, flush the condensate pump with clear water to check for proper operation before re-starting the furnace.
- Propylene glycol need not be removed before re-starting the furnace.
Fig. 29 – Winterizing Furnace
A CHECK-UP CHECKLIST
Your furnace represents an important investment in your family’s comfort and your home’s value. To keep it performing properly and to prevent future problems, have a trained service specialist give your furnace a professional check-up annually. The following checklist can be used as a guideline to proper service:
- Inspect all flue gas passages, burners, heat exchangers, coupling box(es), and inducer assembly.
- Inspect all combustion-air and vent piping inside the structure and pipe terminations outside the structure.
- Check gas pipes leading to and inside of your furnace for leaks.
- Inspect and clean the blower motor and wheel.
NOTE: The inducer and blower motors are pre-lubricated and require no additional lubrication. These motors can be identified by the absence of oil ports on each end of the motor. - Inspect and change or clean air filter(s) if necessary.
- Inspect all supply- and return-air ducts for obstructions, air leaks, and insulation. Remedy any problem when necessary.
- Inspect the return-air duct connection(s) at the furnace to ensure it is physically sound, sealed to the furnace casing, and terminates outside the space containing the furnace.
- Inspect electrical wiring, connections, and components for loose connections.
- Perform an operational checkout to determine whether your furnace is working properly and if it requires adjustments.
- Inspect all condensate drain tubes and condensate trap assembly for leaks. The condensate removal system should be cleaned annually by a qualified service agency. Refer to the Service and Maintenance Instructions Guide for further information.
- Examine the physical support of the furnace. Support should be sound with no cracks, sagging, gaps, etc. around the base.
- Check the furnace for any obvious signs of deterioration.
- Ask your servicing dealer for further details about an economical service contract that covers seasonal inspections.

BEFORE YOU REQUEST A “SERVICE CALL”
If your furnace is not operating or not performing properly, you may save the expense of a service call by checking a few things yourself before calling for service.
NOTE: Record the LED status code BEFORE removing the blower access door or turning off 115-v power to the furnace. See the information booklet inside the main furnace door for a service code legend (see Fig. 30).
For insufficient airflow:
- Check for dirty air filter(s).
- Check for blocked return-air or supply-air grilles. Be sure they are open and unobstructed.
If the problem still exists, call your dealer for service.
If the furnace fails to operate:
Follow this checklist step by step, advancing to the next stop only if the furnace fails to start.
- Check the thermostat for proper temperature. Is the thermostat set above room temperature?
- Is the thermostat set to HEAT mode?
- Check fuses and circuit breakers. Is the electrical power supply switch on?
- Is the manual shut-off valve in the gas supply pipe leading to the furnace open?
NOTE: Turn off the electrical supply before continuing with a checklist. - Is the control switch on gas valve in the ON position? (Follow start-up procedures if you must reset the switch to the ON position.)
- Check the manual reset rollout switch located on the burner box. See Furnace Components in Fig. 1. If the furnace has experienced high-temperature conditions, this switch will shut off the furnace. Reset it by pushing the button on the switch. If it trips again, shut down the furnace and call for service. See the “Shutting Down Your Furnace” section in this manual.
- Check for obstructions around the vent termination.
If your furnace still fails to operate, call your service representative.
For your convenience, record the furnace product and serial numbers on the back page. Should you ever require service, you will have ready access to the information needed by your service representative.
This furnace has a light-emitting diode (LED) status code display to aid the installer, service technician, or homeowner while installing or servicing the unit. The LED code can be seen through the viewport in the blower access panel.
NOTE TO EQUIPMENT OWNER:
For your convenience, please record the model and serial numbers of your new equipment in the spaces provided. This information, along with the installation data and dealer contact information will be helpful should your system require maintenance or service.
FURNACE
Model # _____________________________________
Serial # ______________________________________
AIR CONDITIONER OR HEAT PUMP
Model # _____________________________________
Serial # _____________________________________
INDOOR COIL (Furnace Coil or Fan Coil)
Model # _____________________________________
Serial # _____________________________________
INSTALLATION INFORMATION:
Date Installed ________________________________
DEALERSHIP CONTACT INFORMATION:
Company Name_______________________________
Address______________________________________
Phone Number _______________________________
Technician Name _____________________________
NOTE TO INSTALLER:
This manual must be left with the equipment owner.
MAINTENANCE CHECKLIST
In addition to the type of routine maintenance you might be willing to perform; your furnace should be inspected regularly by a properly trained service technician.
You should work with your dealer or service technician to assure your inspection includes the following at a minimum.
This list may not include all maintenance items, and inspection interval times may vary depending on the operational conditions of the furnace.
| DESCRIPTION | INSPECTION INTERVAL | |||
| Monthly | Semi-Annually | Annually | ||
| Furnace-specific, external items: | ||||
| Clean or replace air filters. | X | |||
| Inspect cabinet for signs of damage. | X | |||
| Inspect and clean door louvers if needed. | X | |||
| Inspect electrical disconnect for proper function. Repair or replace as necessary. | X | |||
| Inspect external wiring for damage. | X | |||
| Inspect gas supply line and manual shut-off for leaks. | X | |||
| Ensure there is no debris or clutter that could interfere with operation of the furnace | X | |||
| Furnace-specific, internal items: | ||||
| Inspect and clean blower assembly (includes blower housing, blower wheel, and motor). | X | |||
| Inspect gas valve and check for proper manifold gas pressure Adjust as needed. | X | |||
| Inspect ignition system and safety controls. Clean and adjust as needed. | X | |||
| Inspect control box, associated controls, wiring, and connections. | X | |||
| Check combustion blower housing for lint and debris and clean as necessary. | X | |||
| Inspect burner assembly – clean as needed. | X | |||
| Inspect heat exchanger – clean as needed. | X | |||
| Inspect flue system-check for proper attachment to the furnace and any dislocated sections. and for signs of corrosion. Replace if necessary. | X | |||
| Clean out the condensate trap and refill it with water | X | |||
| Measure combustion byproducts with calibrated analyzer to ensure byproducts are within an acceptable range | X | |||
| System: | ||||
| Inspect airflow system (ductwork)-check for leaks and repair as needed. | X | |||
| Inspect the evaporator coil, drain pan, and condensate drain lines as applicable. Clean as needed. | X | |||
The manufacturer reserves the right to change, at any time, specifications and designs without notice and without obligations.
Fig. 4 – NO combustible materials near the furnace
Fig. 6 – Do Not Light Burner with Match
Fig. 8 – Close Valve
Fig. 9 – Turn Off Electrical Supply
In the representative drawings, some models may vary in appearance.
Fig. 11 – Control Switch to OFF
Fig. 12 – Control Switch to ON
In the representative drawing, some models may vary in appearance.
Fig. 14 – Turn on Electrical Supply
Fig. 15 – Open Valve
Fig. 16 – Lowest Temperature Setting
Fig. 17 – Close the External Manual Valve
Fig. 18 – Turn Off Electrical Supply
Fig. 26 – Gas Burner Assembly (Upflow)
Fig. 27 – Gas Burner Assembly (Downflow)
Fig. 29 – Winterizing Furnace


















