Haier JZY-T-QB330 Induction Gas Hob

SAFETY INSTRUCTIONS
Make sure that this instruction booklet is read thoroughly and understood before attempting to install or operate this hob. The instructions are provided in the interest of your safety.
GAS SAFETY REGULATIONS AND USE OF YOUR HOB
- Please carefully read the nameplate of the gas hob you purchased and make sure the type of gas specified on the nameplate matches the type of gas you are currently using.
- It is recommended to check the connections of gas hob for air tightness at least once a year and replace the gas-dedicated connecting pipe.
- In the use process of gas hob, note ventilation, open the window or turn on the ventilation fan on a regular basis to ensure fresh air convection and ventilation.
- In case of a leakage, avoid all the acts and sources of fire that cause gas explosion, immediately close the gas valve and open the windows and doors for ventilation.
- It is a legal requirement that all gas appliances are installed by qualified personnel only in accordance with current legislation. It is your responsibility to ensure compliance with the law.
- Repairs or servicing of this product must only be carried out by an authorised service agent using approved parts.
- No attempt must be made to modify this appliance under any circumstances.
- Cooking appliances can become very hot in use – please keep children and pets away from them.
- Do not allow children to operate or play with any part of the appliance.
- Do not use unstable pans and ensure that the handle is positioned away from the edge of the worktop.
- In the interest of hygiene and safety, please ensure the hob is kept clean.
- This appliance is designed for domestic cooking only. Commercial use will invalidate the warranty.
- Do not cover the hob or place combustible materials on or near the surface even when the hob is not in use.
- Do not fill deep fat frying containers more than one third full of oil and NEVER leave unattended.
- Before cleaning the hob, switch off at the mains.
- When cooking is finished, switch off all controls and allow to cool.
- These appliances are not intended for use by persons (including children) with reduced physical, sensory or mental capabilities, or lack of experience and knowledge, unless they have been given supervision or instruction concerning use of the appliance by a person responsible for their safety.
- If the supply cable is damaged, it must be replaced by the authorised service agent or qualified person only.
- Do not immerse the appliance or the power cable into water or any other liquid.
- Prior to installation, ensure that the local distribution conditions (nature of the gas and gas pressure) and the adjustment of the appliance are compatible.
- The adjustment conditions for this appliance are stated on the label (or data plate)
- This appliance is not connected to a combustion products evacuation device. It shall be installed and connected in accordance with current installation regulations. Particular attention shall be given to the relevant requirements regarding ventilation.
- The use of a gas cooking appliance results in the production of heat and moisture in the room in which it is installed. Ensure that the kitchen is well ventilated: keep natural ventilation holes open or install a mechanical ventilation device (mechanical extractor hood).
- Prolonged intensive use of the appliance may call for additional ventilation, for example opening of a window, or more effective ventilation, for example increasing the level of mechanical ventilation where present.
Even if you have used a gas hob before, it is important that you read these instructions thoroughly before using the appliance, paying particular attention to the installation and safety instructions. If you have any problems installing, operating or cooking with your hob, please check through these instruc-tions to ensure all of them have been adhered to.
WARNING! For your own safety, make sure that these instructions on installation, use and maintenance are followed.
Please keep these instructions in a safe place for future reference. Should the appliance be sold or transferred, please pass on these instructions to the new owner.
INTRODUCTION
Product features
- Accidental flameout protection design
In case of an accidental flameout due to air, overflow, accidental flameout protection function will start to automatically cut off internal gas access of gas hob and avoid mass gas leakage to ensure user safety. - Glass panel hob applies tempered glass with explosion-proof mesh, which is safe, durable and easy to clean.
Part name : Ignition porcelain needle

Note: the picture is the appearance sketch of the product and the specific appearance and color are subject to the purchased product.
TECHNICAL DATA

INSTALLATION INSTRUCTIONS
Installation method
When the gas hob is embedded in the cooktop, please follow the steps 1-5 to install. When the gas hob is put on the cooktop, please follow the steps 4-5 to install.
- Please choose the cabinet with table thickness greater than 16mm, width not less than 550mm; Note: The cabinet countertops should be made of fire, high temperature-resistant, thermocycling- resistant material. The coating layer and plywood on the cabinet must be fire-resistant and glued together to avoid deformation or surface detachment.
- According to the hole-digging size and requirements in the instruction, dig holes in the corresponding position of the table with fillet radius around the holes less than 50mm;
- gas hob fitted with a battery is installed in the hole of the table;
- Refer to the connection method and connect the gas hob and gas source with the gas special connecting pipe. If the rubber pipe is used, please use the pipe clamp to fix it firmly and avoid turning the gas pipe joint;
- After installation, carry out gas leakage detection, apply soap water on the connection parts, open the indoor gas valve and carefully observe whether there is a bubble. If bubbles are generated, immediately close the indoor gas main valve, and adjust the intake connection according to the connection method. If there is no bubble, please refer to the instruction manual for ignition commissioning; after commissioning, make sure that the indoor gas main valve is closed.

- Gas hobs should strictly follow the dimensions specified the diagram and keep the distance from combustible materials. If it’s surrounded by fire-resistant materials, it’s not subject to the requirements; if a range hood is installed above, it should be

- Gas hobs should strictly follow the dimensions specified the diagram and keep the distance from combustible materials. If it’s surrounded by fire-resistant materials, it’s not subject to the requirements; if a range hood is installed above, it should be
NOTE: Do not install the gas hob above poorly ventilated ovens, refrigerators, freezers, dishwashers, sterilizer, or other types of kitchen appliances. At least 100mm vacant space shall be reserved below the bottom of hob after the gas hob is embedded into cabinet and all items are prohibited to be stored in the vacant space. To ensure good ventilation and cooling of the gas hob, open 2 openings of about 50mm in diameter on the back or side of the cabinet to the atmosphere to avoid the explosion caused by the accumulation of unburned gas mixture. If the cabinet is not perforated, take ventilation measures.
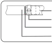
Connection method
- Gas-dedicated rubber hose If you select the gas-dedicated rubber hose (length should not exceed 1.5m) with diameter of 9.5mm, please connect the rubber hose to the intake joint of red marking of gas hob and fix it firmly with pipe clamps. The rubber hose used should meet the relevant safety standards within service period.

- Rubber hose
- Pipe clamp
- Red line
- Intake joint
NOTE: After the installation, make sure the gas connecting pipe is not twisted, squeezed, bent and is not in touch with any movable part of the cabinet, such as drawers, rails, etc .; avoid high temperature area.
USER MANUAL
Before using for the first time, make sure the gas type specified on the nameplate of the gas hob is the same as the type of gas you are currently using, and confirm that the burner parts, pot rack, knobs, gas-dedicated connecting pipe and gas pipe are correctly installed. There will be residual air in the gas line for the first-time use and ignition will be difficult, which is a normal phenomenon. Please repeat igniting until it’s normal.
Ignite and adjust the fire
First of all, install a D dry battery in the battery box at the bottom of the gas hob and follow the order in the diagram to ignite and adjust the fire.
NOTE: when adjusting the fire, please do not adjust the position near “OFF” to avoid flameout. It is normal to hear the sound of “bang” when it’s off.
- Open the indoor gas main valve

- Main gas valve diagram Press the knob downwards and turn counterclockwise to the horizontal position (the state of high flame). After the fire holes are all ignited, continue to press for 3-5 seconds and release for use after the flameout protection is launched; if the flame is extinguished when releasing, turn the knob clockwise to off position and repeat the above ignition operation.

- Adjust the fire

- Turn the knob clockwise to the vertical “off” position, turn off the gas hob.
- Make sure to close the indoor gas main valve after using the hob.
Use an appropriately sized pan
The minimum bottom diameter of the pan to be used is 120mm.
Air regulator adjustment and air volume control
When the flame is in poor condition, adjust the air regulator at the bottom of the hob. When the flame is long and yellow, turn the adjustable handle to the right to increase the air volume; when the flame is away from the fire hole, turn the adjustable handle to the left to reduce the air volume. When the flame state is normal, fasten the slot of adjustable handle with fixed throttle gear.
TROUBLESHOOTING AND HANDLING

Change the applicable gas type
In case of changes in gas type due to relocation or local uniform gas reform, etc., professional trained maintenance personnel will implement gas type changes to the gas hob. Please change the gas type according to the gas type applicable to the models in the technical data list and the dedicated sales area of the product. It is forbidden to disassemble the gas hob by yourself to avoid any safety accident.
ROUTINE INSPECTION AND MAINTENANCE
NOTE: Before cleaning and maintaining the gas hob, please close the indoor gas main valve and make sure the gas hob is in a cooling state. Do not dismantle the gas hob cooktop and internal parts during the cleaning process.As ignition porcelain needle surface is made of ceramic material, avoid crush due to hard objects in cleaning and maintenance. Otherwise it will affect the ignition performance.The thermocouple is a sensitive component that controls the on-off of the gas line. Regular cleaning is required to prevent dirt from attaching. Otherwise, the accidental flameout protection function will be affected.
Inspection
- Gas connecting pipe should be connected reliably without cracks. If leakage is found, please immediately stop using and carry out timely replacement. It is advisable to check the air tightness of the connections (as shown in the soapy water leak detection diagram, apply soap and water on the connections to check the air tightness) and replace the connecting pipe at least once a year.
- Do not stack inflammable objects around the gas hob.
- The burner parts must be properly installed in place (as shown in the burner assembly) and the fire holes should not be blocked by spills.
- Ignition porcelain needle and thermocouple surface can not have residual food, dirt and water.
Maintenance
- Cooktop, pot rack are cleaned with soft cloth dipped in neutral, non-corrosive detergent.
- In case that the gas contains impurities, after long-term use, it will form carbon deposition, sintering, etc. within fire holes of the fire cover and block the fire holes. In the use of gas hobs, if uneven or individual fire holes are found to be flameless, please turn off the gas hob, remove the fire cover in time until the burner is cooled, use a fine steel needle to remove the dirt and carbon deposition inside the fire hole and use the hob again after the treatment.
Do not apply water directly to the fire cover (as the blisters temporarily block the fire hole) and do not rub the coated surface with a harder object, which can cause irreparable damage to the black-coated surface. Please use a soft brush to clean the dirt on the surface of the fire cover. - After cleaning, please refer to the illustration of the burner assembly to properly install the inner ring fire cover, outer ring fire cover and pot rack, and confirm that the installation is in place. Otherwise, uneven flame and lifted flame caused may affect the normal use of hob. Scratches beyond repair caused by bump, impact and other improper installation will not be warranted.
- Cooktop cleaning diagram

- Burner parts diagram

- Burner parts diagram

- Soapy water leakage detection diagram

Correct Disposal of This Product:
This marking indicates that this product should not be disposed of together with other household waste. To prevent possible harm to the environment or human health from uncontrolled waste disposal, recycle it responsibly to promote sustainable re-use of material resources. To return your unwanted product, please use local return and collect systems or contact the retailer where the product was purchased. They should be able to take the appliance for environmentally-safe recycling.
ATTENTION!
This appliance must be installed in compliance with the current regulations and only installed in rooms equipped with adequate ventilation. Consult the instruction manual before proceeding with installation or use of the appliance.
Country of Destination:MALAYSIA
Diimport & Diedar oleh: Haier Electrical Appliances (Malaysia) Sdn. Bhd.(Co.Reg.No:594702-A) Unit H-08-03, Level3, Block H Persiaran Wawasan,Pusat Bandar Puchong, 47160, Puchong, Selangor, Malaysia.





























