CODE3 CD5051VDL Series Deck Dash & Visor Light

Installation and Operation Instructions
IMPORTANT! Read all instructions before installing and using. Installer: This manual must be delivered to the end user.
WARNING Failure to install or use this product according to manufacturer’s recommendations may result in property damage, serious bodily/personal injury, and/or death to you and those you are seeking to protect!!
Do not install and/or operate this safety product unless you have read and understand the safety information contained in this manual.
- Proper installation combined with operator training in the use, care, and maintenance of emergency warning devices are essential to ensure the safety of you and those you are seeking to protect.
- Exercise caution when working with live electrical connections.
- This product must be properly grounded. Inadequate grounding and/or shorting of electrical connections can cause high current arcing, which can cause personal injury and/or severe vehicle damage, including fire.
- Proper placement and installation are vital to the performance of this warning device. Install this product so that output performance of the system is maximized and the controls are placed within convenient reach of the operator so that s/he can operate the system without losing eye contact with the roadway.
- It is the responsibility of the vehicle operator to ensure during use that all features of this product work correctly. In use, the vehicle operator should ensure the projection of the warning signal is not blocked by vehicle components (i.e., open trunks or compartment doors), people, vehicles, or other obstructions.
- The use of this or any other warning device does not ensure all drivers can or will observe or react to a warning signal. Never take the right-of-way for granted. It is your responsibility to be sure you can proceed safely before entering an intersection, driving against traffic, responding at a high rate of speed, or walking on or around traffic lanes.
- This equipment is intended for use by authorized personnel only. The user is responsible for understanding and obeying all laws regarding warning signal devices. Therefore, the user should check all applicable city, state, and federal laws and regulations. The manufacturer assumes no liability for any loss resulting from the use of this warning device.
Specifications: Size:
Size: Light head only: 1.2 H x 12.8 W x 1.7 Light head with shroud: 1.3 H x 13.7 W x 2.8 D
Weight: 1.7 lbs.
Input Voltage: 12-24 VDC
Current at 12 VDC: 1.7 Amps
Power at 12 VDC: 21.1Watts
Temperature Range: -40°C to 65°C
Installation & Mounting:
Carefully remove the unit from its packaging. Examine the unit for transit damage. If damage is found, return the product to your local dealer for warranty replacement. Do not use damaged or broken parts. Determine a mounting location that ensures a clear line of sight for oncoming traffic.
Caution: When drilling into any vehicle surface, make sure that the area is free from any electrical wires, fuel lines, vehicle upholstery, etc. that could be damaged
Mounting with Shroud:
MOUNTING WITH VHB TAPE:
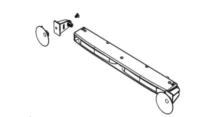
- Ensure that the light head is securely attached to the shroud.
- Install rubber gasket onto the shroud.
- Remove the suction cup from each shroud bracket.
- Clean the brackets with supplied alcohol wipe. for extra adhesion, see notes below.
- Remove one side of the adhesive liner & apply to both brackets. Apply light pressure for 20 seconds.
- Install the bracket as shown on Figures 4 & 5. Gently hand tighten the nut.
- WITHOUT removing the second adhesive liner, hold the product to desired location. Loosen & hand tighten the nut as needed to adjust the light head angle. Once desired angle is achieved, gently tighten the fastener using a 10mm wrench or socket.
- Clean mounting surface with supplied alcohol wipe. for extra adhesion, see notes below.
- Remove the second adhesive liner.
- Apply product on to the treated surface. Apply light pressure for 20 seconds.

MOUNTING WITH SUCTION CUP:
- Ensure that the light head is securely attached to the shroud.
- Install the shroud bracket as shown on Figures 4 & 5. Gently hand tighten the nut.
- Clean mounting surface with supplied alcohol wipe.
- Apply the product on to the treated surface by gently pressing the suction cups on to the glass. Apply light pressure for 20 seconds. Gently adjust the light head to its desired angle if needed.
- Once desired angle is achieved, gently tighten the fastener using a 10mm wrench or socket.
MOUNTING WITH HARDWARE (NOT PROVIDED):
- . Ensure that the light head is securely attached to the shroud.
- Install the shroud bracket as shown on Figures 4 & 5. Gently hand tighten the nut.
- Clean mounting surface with supplied alcohol wipe.
- . Install product on to the treated surface by using #8 hardware screw (not included).
- Gently adjust the light head to its desired angle if needed.
- Once desired angle is achieved, gently tighten the fastener using a 10mm wrench or socket.
*For extra adhesion, use 3M Tape Primer. For product & application information, go to: https://multimedia.3m.com/mws/media/65952O/3mtm-tape-primer-94.pdf

Standard Mounting without Shroud:
MOUNTING WITH VHB TAPE:
- Carefully remove the light head from the shroud.
CAUTION: gently release the locking tabs to avoid breaking the tabs shown in Figure A . - . Clean the light head brackets with supplied alcohol wipe.
- for extra adhesion, see notes below.
- Remove one side of the adhesive liner & apply to both brackets. Apply light pressure for 20 seconds.
- Insert bracket as shown on Figure B.
- WITHOUT removing the second adhesive liner, hold the product to desired location. Adjust the light head to its desired angle by adjusting the bracket.
- Clean mounting surface with supplied alcohol wipe.
- for extra adhesion, see notes below.
- Remove the second adhesive liner.
- Apply product on to the treated surface. Apply light pressure for 20 seconds.
- Insert the provided screws in the light head locking mechanism as shown in Figure C. This will hold the brackets in position & the light head in the desired angle.
MOUNTING WITH SUCTION CUP:
- Carefully remove the light head from the shroud.
- CAUTION: gently release the locking tabs to avoid breaking the tabs shown on Figure A.
- Remove the suction cups from the shroud mounting brackets.
- Install each suction cup to each bracket using the existing screws as shown on Figure D.
- Insert bracket as shown on Figure B.
- . Clean mounting surface with supplied alcohol wipe.
- Apply the product on to the treated surface gently pressing the suction cups on to the glass. Apply light pressure for 20 seconds. Gently adjust the light head to its desired angle if needed.
- Insert the provided screws in the light head locking mechanism as shown in Figure C. This will hold the brackets in position & the light head in the desired angle.
MOUNTING WITH HARDWARE (HARDWARE NOT PROVIDED):
- Carefully remove the light head from the shroud.
- CAUTION: gently release the locking tabs to avoid breaking the tabs shown on Figure A.
- Insert the light head bracket as shown on Figure B.
- Hold the product to desired location. Adjust the light head to its desired angle by adjusting the bracket.
- Clean mounting surface with supplied alcohol wipe.
- . Install product on to the treated surface by using #8 hardware screw (not included) as shown on Figure E.
- Insert the provided screws in the light head locking mechanism as shown in Figure C. This will hold the brackets in position & the light head in the desired angle.
For extra adhesion, use 3M Tape Primer. For product & application information, go to: https://multimedia.3m.com/mws/media/65952O/3mtm-tape-primer-94.pdf
Hardwire Wiring Instructions
All wiring should be stranded and a minimum of 20 AWG. The positive line must have an in-line 3 AMP slow-blow fuse for each directional as shown in FIGURE 9. Isolate the yellow and blue wires when not in use.
IMPORTANT!: This unit is a safety device and it must be connected to its own separate, fused power point to assure its continued operation should any other electrical accessory fail.
IMPORTANT!: This unit is a safety device and it must be connected to its own separate, fused power point to assure its continued operation should any other electrical accessory fail.
Flash pattern select:
To select a flash pattern, apply power to the RED or WHITE or both RED and WHITE wires. Apply blue to black wire for flash pattern change:
| Push Times | Function |
| 0-1 secs. | next pattern |
| 1-3 secs. | previous pattern |
| 3-5 secs. | factory default pattern |
| 5+ secs. | last pattern |
Dimming Function:
Connect blue wire to Red power wire.
Synchronization:
The CD5051VDL series is capable of syncing with other compatible CODE 3 products by following these steps:
- Set the desired flash pattern on each unit individually. It is also strongly recommended that the same style of flash pattern be used on all units to produce the most effective warning pattern. NOTE: Phases A and B for each style of flash pattern in the table denote the relative timing between units connected in a synchronizing installation. To operate simultaneously, each unit must be set to the same phase (A +A or B + B); to operate alternately, units must be set to have the opposite phase (A + B or B + A).
- . Connect the yellow sync wires together and check that the units are flashing in a synchronized manner as expected. If a pattern on one unit appears incorrect, the blue pattern select wire can be used to cycle forward or backward on that individual unit until the correct pattern is selected. NOTE: This will only change the pattern in the one unit and will not affect the other units connected to the yellow sync wire.
Flash Pattern Selection (Cigarette Adapter):
| Flash Pa�ern Chart Tabla de patrones de destello Tableau des effets clignotants Blitzmusterdiagramm | ||||||||||||||||
| SAE J595 | CA Title 13 | ECE R65 | ||||||||||||||
| Pa�ern | Mode | Descrip�on | Phase | FPM | RW | BW | AW | RWBW | RW | BW | AW | RWBW | RW | BW | AW | RWBW |
|
1 | 1 | Single Flash – Simultaneous Color 1 | A | 75 | Class 1 | Class 1 | Class 1 | N/C | Class B | Class B | Class B | N/C | N/C | N/C | N/C | N/C |
| 2 | Single Flash – Simultaneous Color 1 | B | 75 | Class 1 | Class 1 | Class 1 | N/C | Class B | Class B | Class B | N/C | N/C | N/C | N/C | N/C | |
| 3 | Single Flash – Alterna�ng Color 1 | A | 75 | N/C | N/C | N/C | N/C | N/C | N/C | N/C | N/C | N/C | N/C | N/C | N/C | |
| 4 | Single Flash – Alterna�ng Color 1 | B | 75 | N/C | N/C | N/C | N/C | N/C | N/C | N/C | N/C | N/C | N/C | N/C | N/C | |
|
2 | 5 | Double Flash – Simultaneous Color 1 | A | 75 | Class 1 | Class 1 | Class 1 | N/C | Class B | Class B | Class B | N/C | N/C | N/C | N/C | N/C |
| 6 | Double Flash – Simultaneous Color 1 | B | 75 | Class 1 | Class 1 | Class 1 | N/C | Class B | Class B | Class B | N/C | N/C | N/C | N/C | N/C | |
| 7 | Double Flash – Alterna�ng Color 1 | A | 75 | N/C | N/C | N/C | N/C | N/C | N/C | N/C | N/C | N/C | N/C | N/C | N/C | |
| 8 | Double Flash – Alterna�ng Color 1 | B | 75 | N/C | N/C | N/C | N/C | N/C | N/C | N/C | N/C | N/C | N/C | N/C | N/C | |
|
3 | 9 | Quad Flash – Simultaneous Color 1 | A | 75 | Class 1 | Class 1 | Class 1 | N/C | Class B | Class B | Class B | N/C | N/C | N/C | N/C | N/C |
| 10 | Quad Flash – Simultaneous Color 1 | B | 75 | Class 1 | Class 1 | Class 1 | N/C | Class B | Class B | Class B | N/C | N/C | N/C | N/C | N/C | |
| 11 | Quad Flash – Alterna�ng Color 1 | A | 75 | N/C | N/C | N/C | N/C | N/C | N/C | N/C | N/C | N/C | N/C | N/C | N/C | |
| 12 | Quad Flash – Alterna�ng Color 1 | B | 75 | N/C | N/C | N/C | N/C | N/C | N/C | N/C | N/C | N/C | N/C | N/C | N/C | |
|
4 | 13 | Single Flash – Simultaneous Color 1 | A | 120 | Class 1 | Class 1 | Class 1 | N/C | N/C | N/C | N/C | N/C | Class 1 | Class 1 | Class 1 | N/C |
| 14 | Single Flash – Simultaneous Color 1 | B | 120 | Class 1 | Class 1 | Class 1 | N/C | N/C | N/C | N/C | N/C | Class 1 | Class 1 | Class 1 | N/C | |
| 15 | Single Flash – Alterna�ng Color 1 | A | 120 | N/C | N/C | N/C | N/C | N/C | N/C | N/C | N/C | N/C | N/C | N/C | N/C | |
| 16 | Single Flash – Alterna�ng Color 1 | B | 120 | N/C | N/C | N/C | N/C | N/C | N/C | N/C | N/C | N/C | N/C | N/C | N/C | |
|
5 | 17 | Double Flash – Simultaneous Color 1 | A | 120 | Class 1 | Class 1 | Class 1 | N/C | N/C | N/C | N/C | N/C | Class 1 | Class 1 | Class 1 | N/C |
| 18 | Double Flash – Simultaneous Color 1 | B | 120 | Class 1 | Class 1 | Class 1 | N/C | N/C | N/C | N/C | N/C | Class 1 | Class 1 | Class 1 | N/C | |
| 19 | Double Flash – Alterna�ng Color 1 | A | 120 | N/C | N/C | N/C | N/C | N/C | N/C | N/C | N/C | N/C | N/C | N/C | N/C | |
| 20 | Double Flash – Alterna�ng Color 1 | B | 120 | N/C | N/C | N/C | N/C | N/C | N/C | N/C | N/C | N/C | N/C | N/C | N/C | |
|
6 | 21 | Quad Flash – Simultaneous Color 1 | A | 120 | Class 1 | Class 1 | Class 1 | N/C | N/C | N/C | N/C | N/C | Class 1 | Class 1 | Class 1 | N/C |
| 22 | Quad Flash – Simultaneous Color 1 | B | 120 | Class1 | Class1 | Class1 | N/C | N/C | N/C | N/C | N/C | Class 1 | Class 1 | Class 1 | N/C | |
| 23 | Quad Flash – Alterna�ng Color 1 | A | 120 | N/C | N/C | N/C | N/C | N/C | N/C | N/C | N/C | N/C | N/C | N/C | N/C | |
| 24 | Quad Flash – Alterna�ng Color 1 | B | 120 | N/C | N/C | N/C | N/C | N/C | N/C | N/C | N/C | N/C | N/C | N/C | N/C | |
|
7 | 25 | Single Flash – Simultaneous Color 1 | A | 350 | N/C | N/C | N/C | N/C | N/C | N/C | N/C | N/C | N/C | N/C | N/C | N/C |
| 26 | Single Flash – Simultaneous Color 1 | B | 350 | N/C | N/C | N/C | N/C | N/C | N/C | N/C | N/C | N/C | N/C | N/C | N/C | |
| 27 | Single Flash – Alterna�ng Color 1 | A | 350 | N/C | N/C | N/C | N/C | N/C | N/C | N/C | N/C | N/C | N/C | N/C | N/C | |
| 28 | Single Flash – Alterna�ng Color 1 | B | 350 | N/C | N/C | N/C | N/C | N/C | N/C | N/C | N/C | N/C | N/C | N/C | N/C | |
|
8 | 29 | Single Flash – Simultaneous Color 2 | A | 75 | Class 1 | Class 1 | Class 1 | Class 1 | N/C | N/C | N/C | N/C | N/C | N/C | N/C | N/C |
| 30 | Single Flash – Simultaneous Color 2 | B | 75 | Class 1 | Class 1 | Class 1 | Class 1 | N/C | N/C | N/C | N/C | N/C | N/C | N/C | N/C | |
| 31 | Single Flash – Alterna�ng Color 2 | A | 75 | N/C | N/C | N/C | N/C | N/C | N/C | N/C | N/C | N/C | N/C | N/C | N/C | |
| 32 | Single Flash – Alterna�ng Color 2 | B | 75 | N/C | N/C | N/C | N/C | N/C | N/C | N/C | N/C | N/C | N/C | N/C | N/C | |
|
9 | 33 | Double Flash – Simultaneous Color 2 | A | 120 | Class 1 | Class 1 | Class 1 | Class 1 | N/C | N/C | N/C | N/C | N/C | N/C | N/C | N/C |
| 34 | Double Flash – Simultaneous Color 2 | B | 120 | Class 1 | Class 1 | Class 1 | Class 1 | N/C | N/C | N/C | N/C | N/C | N/C | N/C | N/C | |
| 35 | Double Flash – Alterna�ng Color 2 | A | 120 | N/C | N/C | N/C | N/C | N/C | N/C | N/C | N/C | N/C | N/C | N/C | N/C | |
| 36 | Double Flash – Alterna�ng Color 2 | B | 120 | N/C | N/C | N/C | N/C | N/C | N/C | N/C | N/C | N/C | N/C | N/C | N/C | |
|
10 | 37 | Single Flash – Simultaneous Color 1 & Color 2 | A | 75 | N/C | N/C | N/C | N/C | N/C | N/C | N/C | N/C | N/C | N/C | N/C | N/C |
| 38 | Single Flash – Simultaneous Color 1 & Color 2 | B | 75 | N/C | N/C | N/C | N/C | N/C | N/C | N/C | N/C | N/C | N/C | N/C | N/C | |
| 39 | Single Flash – Alterna�ng Color 1 & Color 2 | A | 75 | N/C | N/C | N/C | N/C | N/C | N/C | N/C | N/C | N/C | N/C | N/C | N/C | |
| 40 | Single Flash – Alterna�ng Color 1 & Color 2 | B | 75 | N/C | N/C | N/C | N/C | N/C | N/C | N/C | N/C | N/C | N/C | N/C | N/C | |
|
11 | 41 | Double Flash – Simultaneous Color 1 & Color 2 | A | 120 | N/C | N/C | N/C | N/C | N/C | N/C | N/C | N/C | N/C | N/C | N/C | N/C |
| 42 | Double Flash – Simultaneous Color 1 & Color 2 | B | 120 | N/C | N/C | N/C | N/C | N/C | N/C | N/C | N/C | N/C | N/C | N/C | N/C | |
| 43 | Double Flash – Alterna�ng Color 1 & Color 2 | A | 120 | N/C | N/C | N/C | N/C | N/C | N/C | N/C | N/C | N/C | N/C | N/C | N/C | |
| 44 | Double Flash – Alterna�ng Color 1 & Color 2 | B | 120 | N/C | N/C | N/C | N/C | N/C | N/C | N/C | N/C | N/C | N/C | N/C | N/C | |
|
12 | 45 | Single Flash – Simultaneous Color 2 & Color 1 | A | 75 | N/C | N/C | N/C | N/C | N/C | N/C | N/C | N/C | N/C | N/C | N/C | N/C |
| 46 | Single Flash – Simultaneous Color 2 & Color 1 | B | 75 | N/C | N/C | N/C | N/C | N/C | N/C | N/C | N/C | N/C | N/C | N/C | N/C | |
| 47 | Single Flash – Alterna�ng Color 2 & Color 1 | A | 75 | N/C | N/C | N/C | N/C | N/C | N/C | N/C | N/C | N/C | N/C | N/C | N/C | |
| 48 | Single Flash – Alterna�ng Color 2 & Color 1 | B | 75 | N/C | N/C | N/C | N/C | N/C | N/C | N/C | N/C | N/C | N/C | N/C | N/C | |
|
13 | 49 | Double Flash – Simultaneous Color 2 & Color 1 | A | 120 | N/C | N/C | N/C | N/C | N/C | N/C | N/C | N/C | N/C | N/C | N/C | N/C |
| 50 | Double Flash – Simultaneous Color 2 & Color 1 | B | 120 | N/C | N/C | N/C | N/C | N/C | N/C | N/C | N/C | N/C | N/C | N/C | N/C | |
| 51 | Double Flash – Alterna�ng Color 2 & Color 1 | A | 120 | N/C | N/C | N/C | N/C | N/C | N/C | N/C | N/C | N/C | N/C | N/C | N/C | |
| 52 | Double Flash – Alterna�ng Color 2 & Color 1 | B | 120 | N/C | N/C | N/C | N/C | N/C | N/C | N/C | N/C | N/C | N/C | N/C | N/C | |
|
14 | 53 | Steady Burn – Color 1 & Single Flash – Color 1 | 75 | N/C | N/C | N/C | N/C | N/C | N/C | N/C | N/C | N/C | N/C | N/C | N/C | |
| 54 | Single Flash – Color 1 & Steady Burn – Color 1 | 75 | N/C | N/C | N/C | N/C | N/C | N/C | N/C | N/C | N/C | N/C | N/C | N/C | ||
| 55 | Steady Burn – Color 1 & Single Flash – Color 2 | 75 | N/C | N/C | N/C | N/C | N/C | N/C | N/C | N/C | N/C | N/C | N/C | N/C | ||
| 56 | Single Flash – Color 1 & Steady Burn – Color 2 | 75 | N/C | N/C | N/C | N/C | N/C | N/C | N/C | N/C | N/C | N/C | N/C | N/C | ||
| 57 | Steady Burn – Color 2 & Single Flash – Color 1 | 75 | N/C | N/C | N/C | N/C | N/C | N/C | N/C | N/C | N/C | N/C | N/C | N/C | ||
| 58 | Single Flash – Color 2 & Steady Burn – Color 1 | 75 | N/C | N/C | N/C | N/C | N/C | N/C | N/C | N/C | N/C | N/C | N/C | N/C | ||
|
15 | 59 | Steady Burn – Color 1 & Quad Flash – Color 1 | 75 | N/C | N/C | N/C | N/C | N/C | N/C | N/C | N/C | N/C | N/C | N/C | N/C | |
| 60 | Quad Flash – Color 1 & Steady Burn – Color 1 | 75 | N/C | N/C | N/C | N/C | N/C | N/C | N/C | N/C | N/C | N/C | N/C | N/C | ||
| 61 | Steady Burn – Color 1 & Quad Flash – Color 2 | 75 | N/C | N/C | N/C | N/C | N/C | N/C | N/C | N/C | N/C | N/C | N/C | N/C | ||
| 62 | Quad Flash – Color 1 & Steady Burn – Color 2 | 75 | N/C | N/C | N/C | N/C | N/C | N/C | N/C | N/C | N/C | N/C | N/C | N/C | ||
| 63 | Steady Burn – Color 2 & Quad Flash – Color 1 | 75 | N/C | N/C | N/C | N/C | N/C | N/C | N/C | N/C | N/C | N/C | N/C | N/C | ||
| 64 | Quad Flash – Color 2 & Steady Burn – Color 1 | 75 | N/C | N/C | N/C | N/C | N/C | N/C | N/C | N/C | N/C | N/C | N/C | N/C | ||
| 16 | 65 | Steady Burn – Color 1 | N/A | N/C | N/C | N/C | N/C | N/C | N/C | N/C | N/C | N/C | N/C | N/C | N/C | |
| 66 | Steady Burn – Color 2 | N/A | N/C | N/C | N/C | N/C | N/C | N/C | N/C | N/C | N/C | N/C | N/C | N/C | ||
| 17 | 67 | Off | N/A | N/C | N/C | N/C | N/C | N/C | N/C | N/C | N/C | N/C | N/C | N/C | N/C | |
Manufacturer Limited Warranty and Limitation of Liability:
Manufacturer warrants that on the date of purchase this product will conform to Manufacturer’s specifications for this product (which are available from the Manufacturer upon request), and Manufacturer further warrants that this product is free from defects in materials and workmanship. This Limited Warranty extends for sixty (60) months from the date of purchase. Other warranties may apply, call Manufacturer for details. Manufacturer will, at its discretion, repair or replace any product found by the Manufacturer to be defective and subject to this Limited Warranty.
DAMAGE TO PARTS OR PRODUCTS RESULTING FROM TAMPERING, ACCIDENT, ABUSE, MISUSE, NEGLIGENCE, UNAPPROVED MODIFICATIONS, FIRE OR OTHER HAZARD; IMPROPER INSTALLATION OR OPERATION; OR NOT BEING MAINTAINED IN ACCORDANCE WITH THE MAINTENANCE PROCEDURES SET FORTH IN MANUFACTURER’S INSTALLATION AND OPERATING INSTRUCTIONS VOIDS THIS LIMITED WARRANTY.
ORAL STATEMENTS OR REPRESENTATIONS ABOUT THE PRODUCT WHICH MAY HAVE BEEN MADE BY SALESPEOPLE, DEALERS, AGENTS OR OTHER MANUFACTURER’S REPRESENTATIVES DO NOT CONSTITUTE WARRANTIES. THIS LIMITED WARRANTY MAY NOT BE AMENDED, MODIFIED, OR ENLARGED EXCEPT BY A WRITTEN AGREEMENT SIGNED BY AN AUTHORIZED OFFICIAL OF MANUFACTURER WHICH EXPRESSLY REFERS TO THIS LIMITED WARRANTY.
Exclusion of Other Warranties: MANUFACTURER MAKES NO OTHER WARRANTIES, EXPRESS OR IMPLIED. THE IMPLIED WARRANTIES FOR MERCHANTABILITY OR FITNESS FOR A PARTICULAR PURPOSE ARE HEREBY EXCLUDED AND SHALL NOT APPLY TO THE PRODUCT. BUYER’S SOLE AND EXCLUSIVE REMEDY IN CONTRACT, TORT, OR UNDER ANY OTHER THEORY AGAINST MANUFACTURER REGARDING THE PRODUCT AND ITS USE SHALL BE THE REPLACEMENT OR REPAIR OF THE PRODUCT AS DESCRIBED ABOVE.
Limitation of Liability:
IN THE EVENT OF LIABILITY FOR DAMAGES ARISING OUT OF THIS LIMITED WARRANTY OR ANY OTHER CLAIM RELATED TO THE MANUFACTURER’S PRODUCTS, MANUFACTURER’S LIABILITY FOR DAMAGES SHALL BE LIMITED TO THE AMOUNT PAID FOR THE PRODUCT AT THE TIME OF THE ORIGINAL PURCHASE. IN NO EVENT SHALL MANUFACTURER BE LIABLE FOR LOST PROFITS, THE COST OF SUBSTITUTE EQUIPMENT OR LABOR, PROPERTY DAMAGE, OR OTHER SPECIAL, CONSEQUENTIAL, OR INCIDENTAL DAMAGES BASED UPON ANY CLAIM FOR BREACH OF CONTRACT, IMPROPER INSTALLATION, NEGLIGENCE, OR OTHER CLAIM,
EVEN IF MANUFACTURER OR A MANUFACTURER’S REPRESENTATIVE HAS BEEN ADVISED OF THE POSSIBILITY OF SUCH DAMAGES. MANUFACTURER SHALL HAVE NO FURTHER OBLIGATION OR LIABILITY WITH RESPECT TO THE PRODUCT OR ITS SALE, OPERATION AND USE, AND MANUFACTURER NEITHER ASSUMES NOR AUTHORIZES THE ASSUMPTION OF ANY OTHER OBLIGATION OR LIABILITY IN CONNECTION WITH SUCH PRODUCT.
This Limited Warranty defines specific legal rights. You may have other legal rights, which vary from state to state. Some states do not allow the exclusion or limitation of incidental or consequential damages.
CODE3 CD5051VDL Series Deck Dash & Visor Light

















