eo MINI PRO 3 Smart Electric Vehicle Charging

INTRODUCTION
This document details the installation instructions for the new EO Mini Pro 3 and includes:
- How to mount and wire up the EO Mini Pro 3.
- How to complete the software configuration.
- Charger LED status description.
It is important to note that the information in this document is subject to change without notice as the EO Mini Pro 3 product evolves, please download the latest version from www.eocharging.com/support.
Due to current legislation the customer will have the facility to log into the charging station using their dedicated EV user account credentials where they can view the transaction history and modify the default charging schedules and random delay as required
PRE-REQUISITES
For installation of the EO Mini Pro 3 you will require the following:
- Preferably a fully charged mobile device.
- Wi-Fi analyser mobile app of your choice (refer to section 13.0).
- Make sure the customer provides a suitable internet connection; either Wi-Fi or LAN.
- Make sure the customer is available during the installation and provides their Wi-Fi SSID so the Wi-Fi integrity tests can be carried out.
- Provide appropriate cable glands based on your cable sizing and if using Ethernet cable.
- Utilise a suitably sized hole cutter where additional Ethernet cable entry is required.
- Locate the “Installer Access Label”.
RESIDENTIAL WI-FI
To help in finding the best mounting location for the charger, we recommended that the integrity of the Wi-Fi signal is checked before fitting the device in its location.
Weak or unstable Wi-Fi signals may result in an unreliable or failed installation of the EO Mini Pro 3. To check that the Wi-Fi signal is suitable please complete the following steps:
Utilise a suitable Wi-Fi analyser mobile device app to verify signal stability, strength, and interference levels are adequate. Apps are available for both Android and iOS devices.
Using a Wi-Fi analyser app, stand at the intended charger installation location and measureV the RSSI signal to the client’s Wi-Fi router. The ideal value should be no greater than -60dB.
Where Wi-Fi integrity is not suitable, a few options exist:
- Install a 2.4gHz Wi-Fi booster.
- Use the hard-wired Ethernet option.
- Re-locate the Wi-Fi router
INSTALLATION INSTRUCTIONS FOR THE EO MINI PRO 3
PHYSICAL INSTALLATION INSTRUCTIONS
- Remove the EO Mini Pro 3 from the packaging.
- The fascia will be the final component to fit and it’s here you will find the “Installer Access Label”.
- The centre section contains the charger socket and main electrical components.
- The rear housing contains the Wi-Fi and where applicable the GSM PCB.
Figure 1: Box contents.
- EO Mini Pro 3 front fascia.
- Main section.
- Rear housing, Wi-Fi PCB and “Installer Access Label
- After you have verified the stability of the Wi-Fi, and found a suitable mounting location, offer the base of the EO Mini Pro 3 to the installation location; make sure the surface is flat and level.
Level the EO Mini Pro 3 base and mark the position of the four holes.
Take the EO Mini Pro 3 base away and drill the four holes in the mounting surface
- Attach the EO Mini Pro 3 base to the wall using four screws provided. Ensure the charger is secure and flush against the wall. Use packing washers if necessary for a flush fit.
- Strip and prepare the power cable and feed into the pre-made hole and stepped grommet. A 25mm gland can be used if required.

- Connect the Live, Neutral, and Earth wires to the charger connector block accordingly. On certain models the connector will positioned on the left.

- If using Ethernet as means of connecting to the client router, feed the Ethernet cable through the second aperture this can be drilled out and a suitable gland fitted

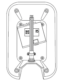
- The rear charger housing allows for one rear cable entry using the position as shown on the image
DO NOT drill into any other area of the housings as doing so will Invalidate the product warranty and could damage the rear internal PCB.
- If using Ethernet, connect it to the RJ45 female connector located on the Mini Pro 3 circuit board

- If connecting CT clamps for either load management or solar, a four-pin connector block is provided and situated lower right.
IMPORTANT: If a separate CT wiring label is supplied with the charger, followthe instructions on this label as will it be specific to the charger version and supersedes this document
Both the chart and image show wire designations for both load management and solar CTs clamps.CT Assignment CT wiring colour Function CT1A White ALM CT1B Red ALM CT2A White Solar CT2B Red Solar 

- Our supplied CT clamps will have a red and white wire attached to them.
- The CT for load management should be connected to CT1. Connect the white wire to position A and the red wire to position B.
- For solar, connect to CT2, with the white wire to position A and red wire to position B.
- Make sure you orientate the CT clamps correctly when connecting them to the supply cable.
- The clamps have an arrow which should be orientated with the current flow, which is the flow from the supply

- Before closing the charger case, make sure the PCB tethering lead is plugged in and connects both front and rear PCB boards together
Make sure the lead is connected in the right-hand female connector of the rear case, as seen in the image
- With all cables securely connected, close the Mini Pro 3 cases together, making sure all internal cabling is not trapped and secure the housings together with the four hex bolts and washers. Figure 13: EO Mini Pro 3.
- Attaching the fascia to the EO Mini Pro 3 should be carried out after all testing is complete.

SOFTWARE INSTALLATION
CHARGER INITIALISATION STEPS
The charger will require setting up before handing over to the homeowner.
The steps to follow will be:
- Powering up the charger.
- Locate the installer “Access Label”.
- Using a mobile device, connect to the charger hotspot.
- Accessing the charger interface via your mobile device web browser.
- Logging into the charger user interface using credentials printed on the “Access Label”.
- Applying a few basic settings such as property supply current, circuit voltage, charger power output requirement including Load management if required and smart charging.
CHARGER SOFTWARE SETUP
- Power up the charger.
- A hot spot will be displayed [only active for 10 minutes]. Example eo-01234567891011
- Use your Laptop or mobile device to, search for the Wi-Fi hotspot and join it [joining credentials are shown on the “Access Label”].
- Once connected to the hotspot, open up your device’s web browser.
- In the browser address bar type 10.10.10.1 [your browser may warn you with a security message. Accept and proceed].
- You are now presented by the charge point “User Interface” [UI] login page.

- Enter the UI credentials. The credentials can be found on the “Installer Access Label” in the packaging or stuck to the charger.
SMART CHARGING
Due to UK regulations chargers will, by default, be supplied with a smart charging profile enabled.
- The default profile will be automatically overridden by the “EO Charging” app during the product registration process carried out by the homeowner.
- If the charger is to be operated as a non-smart charger and not to be used with the “EO Charging” app, you will need to review this profile to suit the homeowner’s requirements.
- This is important as the charge sessions will only operate outside of the charging periods set by the factory. Refer to the above image.
You must consult with the homeowner on what setting they wish to have applied, or the charger may not operate as expected.
Note: Smart charging settings will influence your final testing using EV-dedicated test equipment. You will have to disable the Smart Charging profile temporarily and re-enable it after your tests are completed. Follow the initial hotspot connection process as explained in section 6.0 to re-enable the profile
RANDOMISED DELAY
- This setting needs to be explained to the customer as this will have an impact on how their charging session operates.
- To explain this feature further: the default setting is 600s which is equal to 10 minutes.
- When a vehicle connects to the charger, the charger will randomly offer power to a vehicle anywhere between zero and 10 minutes based on the example shown.
- If the figure is set to zero, the charger will always try and offer power to a connected vehicle immediately when plugged in.
- If your customer complains of charging sessions being delayed when their vehicle is plugged in, it could well be due to this “Random Delay” setting.
Important: The homeowner, using their dedicated access credentials, will have to access the charger UI and amend the value. Under no circumstances should you offer your installer access credentials to the homeowner.
The homeowner is provided with their own access label which offers limited functions for safety purposes.
INSTALLER.
Once logged in select the Installer section.
Here you will need to input the following:
- Check and set the time according to your location.
- Enter the charger current limit. By default, this is set at 32A however you may want to reduce this if site capacity is low.
- Enter your name, company and email address.
- Make sure the “Tilt/Bump Detection” is enabled, set the acceleration and tilt angle to 1 degree and click the save and calibrate button.
- Check and amend the phase selection and connection where applicable.
- If an external CT clamp has been fitted, enable the option and enter the CT rating and set the “Type” to “Site”
- Making sure your CT clamp is connected at the incomer, click “Save + Calibrate”.

CT TYPES EXPLAINED:
Source: An external source that is pushing energy into the site.
Site: Boundary point into a property which will contain the charger usage within it. Load: An external load to the charger which will not contain the charger usage.
LOAD MANAGEMENT
If you have installed a CT clamp for load management, follow point 6 below or disconnect from the charger hotspot and reboot the device
For charger load management, select the “Load” page. Where a CT clamp is fitted you can set parameters for load management. 
The setting is turned off by default, therefore, slide the toggle on which allows inputs to be made.
- Set the site limit value. This is the incoming supply value to the property. e.g. 60 or 100 Amps.
- Input a load balancing margin. This will be a safety value in amps, for example, you may wish to set a safety margin of 50A on a 60A incoming supply. We would recommend referring to your site load tests for more accurate inputs in these fields.
- Select “Dynamic” from the load balancing mode section and save your settings.
- Set load balancing minimum change to 1A.
- Set the “Site limit” and “Safety margin” to the appropriate values, for example, 100A and 10A.
- Save your settings.
GSM – EO SIM
Guidance for units which are GSM-enabled with an EO SIM.
- Select the “Network” page from the left hand menu.
- At the bottom of the page, you will find a “Modem” section showing SIM status details. These settings are not to be changed unless advised by EO Support.
- Modem Status messages:
- SIM Status: This shows the charger can see the SIM and communicate with it.
- IP: Displays the IP address assigned by the network provider.
- PING Test: Displays a successful communication ping to the back office.
- RSSI: Signal strength
These settings are not to be changed unless advised by EO Support.
- Connection via GSM will not occur unless the following conditions are considered.
- A. Ethernet must not be connected.
- B. Wi-Fi should be disconnected or disabled.
- C. Hotspot connection should have timed out.
The EO Mini Pro 3 is now physically installed and can be handed over to the homeowner for completion and online registration using their “EO Charging” smartphone app
UK SMART CHARGING LEGISLATION AND COMPLIANCE
Due to current legislation and charger default parameters, the client can directly access the
charger UI and make non-critical adjustments to the “Smart Charging page” by using the “EV” user credentials shown on their specific “Customer Access Label” provided.
IMPORTANT INSTALLATION INFORMATION
| Topic | Note |
| Characteristics of power supply input | Permanently connected to 230V |
| Characteristics of power supply output | Supplies 230V AC to the vehicle |
| Normal environmental conditions | Can be installed indoors or outdoors |
| Access requirements | Can be installed with no access restrictions |
| Mounting method | Stationary equipment intended for surface or post mounting |
| Protection against electric shock | Class I equipment |
| Charging mode | Mode 3 charging equipment |
| Ventilation during the supply of energy | Does not support ventilation during charging |
| Ingress protection | IP54 |
| Mechanical strength | IK08 |
| Operating temperature | -25°C to +50°C |
| Height of installation | The charging equipment should be mounted with the bottom face of the enclosure at least 0.9m above ground level. For tethered units, the holster height should be between 0.5m & 1.5m above ground level |
| Usage of adaptors/cord extension sets | Adaptors and conversion adaptors sets are not permitted to be used with the equipment. Cord extension sets are not permitted to be used |
| Maximum altitude | 2000m |
| Pollution degree | Pollution Degree 2 |
| Torque setting for main input cables | 1.2 Nm |
| Skill level | Operation by ordinary – Installation by skilled authorised electrician |
| Nature of Short-circuit protective device | Upstream RCD Type A required Internal: 6mA DC Leakage, PEN, LoE, LoN |
| Topic | Note |
| Torque setting for main chassis screws | 6Nm |
|
Measures for protection against electric shock | Where the EO Mini Pro 3 includes internal 6mA DC leakage protection (DCL option), then a 30mA Type A RCD must be fitted at the supply. Otherwise, a Type B RCD or equivalent should be used. EO recommends a 40A supply for a 32A charging station. Overcurrent protection (e.g. MCB) should be installed upstream of the charging station. |
| Short circuit protection of the charging cable | 40A Type B or Type C MCB with a maximum l2t of + Socket version should be ≤ 75000 A2s + Tethered version should be ≤80000 A2s. |
| Fuse rating | 3.15A, 240V time delayed cartridge fuse |
| Overvoltage category | Category 3 |
Important: The installer must select the RCD and earthing configuration by following the current local regulations and best practices.
PEN FAULT DETECTION
The EO Mini Pro 3 PME variant, EM301-DCL-PME, has inbuilt PEN fault detection. There are no configuration options required for this feature and it continually operates whilst the unit is powered on.
For PME variants, please make sure these are ordered at the point of purchase as cannot be retrofitted
WI-FI INTEGRITY & STABILTY
Wi-Fi signal integrity: Wi-Fi signal strength depends on a variety of factors, such as how far you are from the router and even the materials of the walls around you. The closer you are to the router, the better. While 2.4ghz connections broadcast further, they might have interference issues. Thicker walls made of denser materials (like concrete) will block a Wi-Fi signal. A weaker signal, on the other hand, leads to, dropouts, unreliability and (in some cases) total disconnection. Measured in dBm [decibel milliwatts]
More detailed explanation on testing the integrity of Wi-Fi is provided in our online Academy training modules.
WIRING CONNECTIONS
PHYSICAL CONNECTIONS
| Wiring system | Power connections on EO Mini Pro 3 | ||
| PE | N | L1 | |
| TN (230V) | PE | N | L1 |
| IT (220V) | PE | L1 | L2 |

EO MINI PRO 3 STATUS LIGHT
The EO Mini Pro 3 has a status LED on its front face providing the user with its current status. Below describe the interpreted LED flash codes.
The colour of the LED should be interpreted as follows
CHARGER STATUS LIGHT ON POWER-UP
The following LED sequence should be observed:
| LED colour | State | Notes |
| Not illuminated | Power off | No power is available |
| LED solid white | Initialising | Initialising |
| LED pulses blue | Ready | The unit has started up successfully and is ready to charge |
NORMAL OPERATION
| LED colour | State | Notes |
| LED pulses blue | Ready | Ready to charge |
| LED pulses green | Cable is inserted | EO Mini Pro 3 is communicating with the vehicle and trying to start a charging session |
| LED solid green | Charging | A charging session has started successfully |
| LED pulses blue | Cable is removed | Ready to charge |
| LED solid yellow | Paused | The EO Mini Pro 3 has been put on pause |
| LED pulses red | Fault condition | A fault has occurred |
| LED pulses white | RFID | RFID scanned and recognised |
EO SUPPORT CENTRE
All EO Charging technical documentation is published in the EO Resource Centre, this is found at: https://www.eocharging.com/support.
The EO Support team can be reached at:
Email: [email protected]
Phone: +44 (0) 333 77 20383
This document contains information that is subject to change without notice.
The latest version of this publication can be downloaded at:
https://www.eocharging.com/support/home-charging/eo-mini-pro-3
Disclaimer: No part of this publication may be reproduced or transmitted in any form or by any means, electronic or mechanical, including, but not limited to, copying, recording, retrieving data, or computer networks without the written permission of EO Charging.
EOCHARGING.COM




































