CX Series Line Array Column
User Manual
MPORTANT SAFETY SYMBOLS
The symbol is used to indicate that some hazardous live terminals are involved within this apparatus, even under the normal operating conditions, which may be sufficient to constitute the risk of electric shock or death.
The symbol is used in the service documentation to indicate that specific component shall be replaced only by the component specified in that documentation for safety reasons.
Protective grounding terminal
~ Alternating current/voltage
Hazardous live terminal
ON: Denotes the apparatus is turned on
OFF: Denotes the apparatus is turned off.
WARNING: Describes precautions that should be observed to prevent the danger of injury or death to the operator.
CAUTION: Describes precautions that should be observed to prevent danger of the apparatus.
- Ventilation
Do not block ventilation opening, failure to do so could result in fire. Please install according to the manufacturer’ s instructions.
Object and Liquid Entry
Objects do not fall into and liquids are not spilled into the inside of the apparatus for safety. - Power Cord and Plug
Protect the power cord from being walked on or pinched particularly at plugs, convenience receptacles, and the point where they exit from the apparatus. Do not defeat the safety purpose of the polarized or grounding-type plug. A polarized plug has two blades with one wider than the other. A grounding type plug has two blades and a herd grounding prong. The wide blade or the third prong is provided for your safety. If the provided plug does not fit into your outlet, refer to electrician for replacement. - Power Supply
The apparatus should be connected to the power supply only of the type as marked on the apparatus or described in the manual. Failure to do could result in damage to the product and possibly the user. Unplug this apparatus during lightning storms or when unused for long periods of time.
Use only with the cart, stand, tripod, bracket, or table specified by the manufacturer, or sold with the apparatus. When a cart is used, use caution when moving the cart/apparatus combination to avoid injury from tip-over.
IMPORTANT SAFETY INSTRUCTIONS
- Read these instructions.
- Keep these instructions.
- Heed all warning.
- Follow all instructions.
- Water & Moisture
The apparatus should be protected from moisture and rain, can not used near water, for example: near bathtub, kitchen sink or a swimming pool, etc. - Heat The apparatus should be located away from heat sources such as radiators, stoves or other appliances that
- Fuse
To prevent the risk of fire and damaging the unit, please use only of the recommended fuse type as described in the manual. Before replacing the fuse, make sure the unit turned off and disconnected from the AC outlet. - Electrical Connection
Improper electrical wiring may invalidate the product warranty. - Cleaning
Clean only with a dry cloth. Do not use any solvents such as benzol or alcohol. - Servicing
Do not implement any servicing other than those means described in the manual.
Refer all servicing to qualified service personnel only. - When this product is powered on and in working state, do not connect or disconnect power supply, speaker or height adjustment column, otherwise it can cause the device to burn out.
Product introduction
Dear Customer, thank you for purchasing the latest CX-Series all-weather line array column speaker from Soundking. CX-Series linear array speaker is composed of several high quality 3 “neodymium magnetic full-range speakers arranged tightly.
It has the characteristics of wide frequency response, high definition, wide horizontal coverage angle and long radiation distance. Compared to professional speakers with the same maximum sound pressure level, they are smaller in size, lighter in weight and easier to carry.
Aluminum alloy enclosure, with its slim and compact shape, can blend perfectly with the building environment to create a beautiful and comfortable listening space. ully waterproof structure, dustproof, waterproof grade: IP54. 4/8 plug-in terminal sockets, 2 internal parallel connections, dedicated PG waterproof socket signal output.
3″Full-range speaker, glass fiber pelvic sound membrane, neodymium iron boron magnetic circuit, high sensitivity, light weight.
With professional speaker wall mount, you can rotate a certain angle according to the requirements of the sound amplification environment to achieve satisfactory sound amplification effect.
Outdoor waterproof series of column speakers include: CX301RF, CX302RF, CX304RF, CX308RF, CX312RF.
Indoor conference series of column speakers include: CX301R, CX302R, CX304R, CX308R, CX312R.
You can choose the appropriate model according to the needs of the venue. Two color-black and white for your choice.
Applications: Stations, airports, shopping malls, exhibition halls, conference rooms, halls, churches and other sound amplification occasions with high requirements for language and background music quality, can also be used in outdoor applications such as theme parks.
Safety Warnings and Precautions:
In order to avoid accidental damage to you and others around you and to cause accidental damage to your equipment or property, it is important to observe the following considerations, which include, but are not limited to the following.
- The product has been properly packed before leaving the factory to ensure safe transportation. Please carefully check if any accidental damage caused by transportation or other reasons occurs before opening the package for the first time.
- The device can produce high sound pressure over 90dB, which may cause permanent hearing damage. Note to selectin appropriate volume setting.
- When hanging this speaker, professional builders must be asked to use safe brackets to mount it.
- Avoid acoustic feedback when using to avoid damaging your audio equipment.
- Do not plug and unplug the signal cable when the power amplifier is switched on, in order to avoid signal shock damage to your audio equipment.
- Please do not remove the metal mesh of the protective speaker at will to avoid damage to internal parts and irreparable damage.
Product features
CX301RF/CX301R compact passive full-range near-field speaker:
- Integrated metal shell, complete set of moulid processing, easy assembly and convenient operation;
- 4-pin plug-in terminal socket, 2-way internal parallel connection, dedicated PG waterproof socket signal output;
- 1X3″full-range speaker, glass fiber pelvic sound film, Nebebe magnetic circuit, high sensitivity, light weight;
- Fixed-resistance passive speaker design, you can use multiple columns, series-parallel connection according to the site amplification requirements. CX301RF is for outdoor waterproof and CX301R for indoor use.
- Fully waterproof structure design, dust-proof, water-proof grade: IP54;
- With professional speaker wall mount, you can rotate a certain angle according to the requirements of the sound amplification environment to achieve satisfactory sound amplification effect. CX302RF/CX302R compact passive full-range near-field speaker:
- Integrated metal shell, complete set of mold processing, easy assembly and convenient operation;
- 4-pin plug-in terminal socket, 2-way internal parallel connection, dedicated PG waterproof socket signal output;
- 2X3″full-range speaker, glass fiber pelvic sound film, Nebebe magnetic circuit, high sensitivity, light weight;
- Fixed-resistance passive speaker design, you can use multiple columns, series-parallel connection according to the site amplification requirements. CX302RF is for outdoor waterproof and CX302R for indoor use.
- Fully waterproof structure design, dust-proof, water-proof grade: IP54;
- With professional speaker wall mount, you can rotate a certain angle according to the requirements of the sound amplification environment to achieve satisfactory sound amplification effect. CX304RF/CX304R line array column speaker:
- Integrated metal shell, complete set of moulid processing, easy assembly and convenient operation;
- 8-pin plug-in terminal socket, 2-way internal parallel connection, dedicated PG waterproof socket signal output;
- 4X3″full-range speaker, glass fiber pelvic sound film, Nebebe magnetic circuit, high sensitivity, light weight;
- Fixed-resistance passive speaker design, you can use multiple columns, series-parallel connection according to the site amplification requirements. CX304RF is for outdoor waterproof and CX304R for indoor use.
- Fully waterproof structure design, dust-proof, water-proof grade: IP54;
- With professional speaker wall mount, you can rotate a certain angle according to the requirements of the sound amplification environment to achieve satisfactory sound amplification effect. CX308RF/CX308R line array column speaker:
- Integrated metal shell, complete set of mold processing, easy assembly and convenient operation;
- 8-pin plug-in terminal socket, 2-way internal parallel connection, dedicated PG waterproof socket signal output;
- 8X3″full-range speaker, glass fiber pelvic sound film, Nebebe magnetic circuit, high sensitivity, light weight;
- Fixed-resistance passive speaker design, you can use multiple columns, series-parallel connection according to the site amplification requirements. CX308RF is for outdoor waterproof and CX308R for indoor use.
- Fully waterproof structure design, dust-proof, water-proof grade: IP54;
- With professional speaker wall mount, you can rotate a certain angle according to the requirements of the sound amplification environment to achieve satisfactory sound amplification effect. CX312RF/CX312R line array column speaker:
- Integrated metal shell, complete set of moulid processing, easy assembly and convenient operation;
- 8-pin plug-in terminal socket, 2-way internal parallel connection, dedicated PG waterproof socket signal output;
- 12X3″full-range speaker, glass fiber pelvic sound film, Nebebe magnetic circuit, high sensitivity, light weight;
- Fixed-resistance passive speaker design, you can use multiple columns, series-parallel connection according to the site amplification requirements. CX312RF is for outdoor waterproof and CX312R for indoor use.
- Fully waterproof structure design, dust-proof, water-proof grade: IP54;
- With professional speaker wall mount, you can rotate a certain angle according to the requirements of the sound amplification environment to achieve satisfactory sound amplification effect.
Function and control
CX301RF/CX301R/CX302RF/CX302R Compact passive full-range near-field speaker:
4 pin plug-in terminal: left to right’-+-+’, which has two parallel connections. You only need to connect one way for signal input, and the second way to the second speaker of the link. Refer to the figure below.
CX304RF/CX304R/CX308RF/CX308R/CX312RF/CX312R Line array column speaker:
8 pin plug-in terminals: 4 terminals on the left are left to right’-+’, and there are two parallel connections inside. You only need to connect one way for signal input, and the second way to the second speaker of the link. Refer to the figure below. 
WIRING 
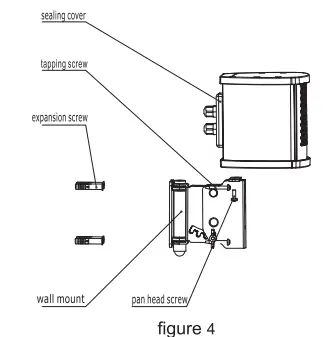
Installation
CX301RF/CX301R/CX302RF/CX302R Compact passive full-range near-field speaker: 
- Use a cross screwdriver to assemble the attached 2-M4 pan-head screw and external teeth lock washer and flat washer into place between the speaker wall mount and the bottom of the column.
- Punch 4 holes at the places to be installed on the wall with impact drill and insert 4 additional expansion screws into the holes.
- Lock the column speaker with 4 tapping screws attached. Turn the speaker wall mount from left to right during assembly to facilitate the installation of column.
- Adjust the vertical cover angle of the column according to the actual needs, and select the appropriate gear for the speaker wall mount to lock the butterfly nuts of the speaker wall mount.
The installation of line array columns CX304RF/CX304R/CX308RF/CX308R CX312RF/CX312R is basically the same, except that the wall mounts are installed on the back of the columns. As shown in the following figure

Accessories

Specification
| Model | CX301 RF/CX301 R |
| Type | 1×3″ compact passive full-range near-field speaker |
| Frequency response (-10dB) | 130Hz-20kHz |
| Rated power | 30W (continue), 120W (peak) |
| Max SPL(@1m) | 108 dB (peak) |
| Coverage(HxV) | 100*xl 00° |
| Transducer | 1x311420mm voice coil/30W/8f) |
| 35mm hole for stand installation | No |
| Sensitivity | 87dB |
| Nominal impedance | 80 |
| Connector | 1xPHOENIX (4P) |
| Dimension (W*H*D) | 118*122″121mm |
| Net weight | 1.1kg |
Troubleshooting
| Problem | What to do |
| Power light does not go on | Check if the power cord is connected properly and the power supply is normal? Is the power switch switched on? Is the amplifier fuse burnt out? |
| No sound | Is the system properly connected? Is the power on? Is the signal input normal? |
| Distortion | Check if the signal is too large? Is the limiter light on? If so, reduce the input signal level. |
| Abnormal sound | Is the system cable properly connected? Is the signal input correct? Are digital audio processor parameters set properly? |
| Insufficient sound pressure level | Is the system properly connected? Is the volume knob in the right position? Is the mixer output knob in proper position? |
Note: If you still cannot solve the problem after following the above steps, please contact our distributor.
Package list
After unpacking, check to see if anything is missing. If so, please contact our distributor.
| Speaker | 1pcs |
| User manual | 1pcs |
| Certification | 1pcs |
| Maintenance card | 1pcs |
| Expansion screws | 4pcs |
| Tapping screw | 4pcs |
| Wall mount | 1pcs |
| Sealing cover(CX3XXRF water-proof series) | 1pcs |

| Model | CX302RF/CX302R |
| Type | 2×3″ compact passive full range near field speaker |
| Frequency response( 10c19) | 130Hz 20kHz |
| Rated power | 60W(continue), 240W(peak) |
| Max SPL WI m) | 114 dB (peak) |
| Coverage (HxV) | 100°x40° |
| Transducer | 2×3″420mm voice coil/30W/40 |
| 35mm hole for stand installation | No |
| Sensitivity | 90dB |
| Nominal impedance | 80 |
| Connector | 1xPHOENIX (4P) |
| Dimension (W*H*D) | 118*190*121mm |
| Net weight | 1.6kg |

| Model | CX304RF/CX304R |
| Type | 40″ passive full range line array column speaker |
| Frequency response( 10dB) | 130Hz 20kHz |
| Rated power | 120W (continue), 480W (peak) |
| Max SPL(61m) | 120 dB (peak) |
| Coverage (HxV) | 100°x30° |
| Transducer | 4×3″/920mm voice coil/SOW/8D |
| 35mm hole for stand installation | No |
| Sensitivity | 93dB |
| Nominal impedance | 80 |
| Connector | 1xPHOENIX (8P) |
| Dimension (W*H*D) | 118*400*121mm |
| Net weight | 2.9kg |

| Model | CX308RF/CX308R |
| Type | 8×3″ passive full range line array column speaker |
| Frequency response(-10dB) | 130Hz-20kHz |
| Rated power | 240W(continue), 960W(peak) |
| Max SPL(Q1m) | 126 dB (peak) |
| Coverage (HxV) | 100°x20° |
| Transducer | 8×3″/920mm voice coil/30W/40 |
| 35mm hole for stand installation | No |
| Sensitivity | 96dB |
| Nominal impedance | 80 |
| Connector | 1xPHOENIX (8P) |
| Dimension (W*H*D) | 118*682*121 mm |
| Net weight | 4.9kg |

| Model | CX312RF/CX312R |
| Type | 12×3″ passive full-range line array column speaker |
| Frequency response( 106) | 130Hz 20kHz |
| Rated power | 360W(continue), 1440W(peak) |
| Max SPL(@lm) | 130 dB (peak) |
| Coverage(HxV) | 100°x20° |
| Transducer | 12×3″/920mm voice coil/30W/8C1 |
| 35mm hole for stand installation | No |
| Sensitivity | 98dB |
| Nominal impedance | 120 |
| Connector | 1xPHOENIX (8P) |
| Dimension (W*H*D) | 118*1006*121mm |
| Net weight | 6.9kg |
Note:
- Frequency response (-10dB) is based on the measured values in the anechoic chamber e
- Coverage angle (H x V) is based on the -6dB test value in the 1k-4kHz frequency range.
System connection 

You can choose the following equipment to match the actual needs of your use: 1.Ampilifier 
| Model | AQ2150 | AQ2250 | AQ2350 | AQ2450 | |
| (THID=1%, continuous sine 1KHz Simultaneous operation of each channel) | 80/stereo | 2X150W | 2X250W | 2X350W | 2X450W |
| 40/stereo | 2X255W | 2X425W | 2X595W | 2X765W | |
| 20/stereo* | 2X435W | 2X725W | 2X1015W | 2X1300W | |
| 160/bridge | 1X300W | 1X500W | 1X700W | 1X900W | |
| 80/bridge | 1X510W | 1X850W | 1X1190W | 1X1530W | |
| 40/bridge` | 1X870W | 1X1450W | 1X2030W | 1X2600W | |
| RMS output power supply (THD=1%, 1KHz) | 34.6V | 44.7V | 52.9V | 60.0V | |
| Model | AQ4150 | AQ4250 | AQ4350 | AQ4450 | |
| (THD=1%, continuous sine 1KHz Simultaneous operation of each channel) | 80/stereo | 4X150W | 4X250W | 4X350W | 4X450W |
| 40/stereo | 4X255W | 4X425W | 4X595W | 4X765W | |
| 20/stereo` | 4X435W | 4X725W | 4X1015W | 4X1300W | |
| 160/bridge | 2X300W | 2X500W | 2X700W | 2X900W | |
| 80/bridge | 2X510W | 2X850W | 2X1190W | 2X1530W | |
| 40/bridge* | 2X870W | 2X1450W | 2X2030W | 2X2600W | |
| RMS output power supply (THD=1%, 1KHz) | 34.6V | 44.7V | 52.9V | 60.0V | |

| Model | AG2300 | AG4200 | AG4150 | AG2200 | AG2150 | |
| Rated power (T10=10/0, continuous sine 1KHz Simultaneous operation of each channel) | 80/stereo | 2X3000W | 4X2000W | 4X1500W | 2X2000W | 2X1500W |
| 40/stereo | 2X5100W | 4X3400W | 4X2550W | 2X3400W | 2X2550W | |
| 20/stereo* | 2X7140W | 4X4760W | 4X3570W | 2X4760W | 2X3570W | |
| 160/bridge | 1X6000W | 2X4000W | 2X3000W | 1X4000W | 1X3000W | |
| 812/bridge | 1X10200W | 2X6800W | 2X5100W | 1X6800W | 1X5100W | |
| 40/bridge* | 1X14280W | 2X9520W | 2X7140W | 1X9520W | 1X7140W | |
| RMS output power supply (TH D=1%, 1KHz) | 154.9V | 126.5V | 109.5V | 126.5V | 109.5V | |
Digital audio processor 
| AP24 | AP36 | AP48 | |
| Input | 2xXLR | baI3xXLR | bal4xXLR bal |
| Output | 4xXLR | baI6xXLR | bal8xXLR bal |
DM20
Product introduction
Sounding digital mixer DM20 is a product that has been developed by Sounding for many years and combines with the latest signal processing technology to give you full control over your voice. 20 input channels, 9 electric faders, extra large touch screen, USB port, etc., with each function required for mixing. Although super compact, the DM20 takes full advantage of the expertise of digital console. All settings can be invoked, including the most important electric faders. It is a unique feature in this level of mixer. The mixer can be remotely controlled via Wi-Fi, allowing users to use it freely anywhere on the performance venue The DM20 has 12 microphone/line inputs and 2 stereo inputs, which can be assigned to 8 outputs through 16 bus. DM20 also has professional digital interfaces – AES/EBU, SPDIF and 2 USB ports. 1024×600 touch screen makes operation simple and intuitive. In fact, you can take the DM20 out of the package without reading the instructions. Recording quality sound, multiple effects and dynamic processing make it easy for you to operate the DM20.
Multi-function recording mixer KG05/KG06/KG08/KG10/KG12
The KG compact portable mixer has all the features and parameters of similar products, but is more cost-effective. Features include 3-segment EQ, built-in channel compression, DSP effects and multi-purpose MP3/USB/SD card playback and recording system, USB interface can also be connected to computer playback recording.
Models with channel 5, 6, 8, 10 or 12 inputs. Channel 5 with channel 1 microphone, channel 6 with channel 2 microphone, channel 8 with channel 4 microphone, channel 10 with channel 6 microphone, channel 12 with channel 8 microphone. All models have 2 stereo input channels.
The input channel has three EQ, two auxiliary balanced microphone/line connectors, compressor control and a useful channel mute switch. The stereo channel is different, only 2 segments of EQ have no pressure limiter.
The master output is a balanced XLR, and the JACK output is used for auxiliary and control rooms and RCA recording/playback facilities.
The USB/SD card is used for stereo recording/playback, enabling the KG series to be used for home recording or provide sound isolation/background music for your live performance. In order to improve the practicality of the product, an MP3 player has been added to help you perform live quickly and conveniently. The KG-Series also has 16 high-quality DSP effect units. In addition, there is a phantom power supply for microphone channels, high quality 60mm smooth faders and switching power supply.
Troubleshooting
| Problem | What to do |
| Power light does not go on | Check if the power cord is connected properly and the power supply is normal? Is the power switch switched on? Is the amplifier fuse burnt out? |
| No sound | Is the system properly connected? Is the power on? Is the signal input normal? |
| Distortion | Check if the signal is too large? Is the limiter light on? If so, reduce the input signal level. |
| Abnormal sound | Is the system cable properly connected? Is the signal input correct? Are digital audio processor parameters set properly? |
| Insufficient sound pressure level | Is the system properly connected? Is the volume knob in the right position? Is the mixer output knob in proper position? |
Note: If you still cannot solve the problem after following the above steps,
please contact our distributor.
Package list
After unpacking, check to see if anything is missing. If so, please contact our distributor.
| Speaker | 1 pcs |
| User manual | 1pcs |
| Certification | 1pcs |
| Maintenance card | 1pcs |
| Expansion screws | 4pcs |
| Tapping screw | 4pcs |
| Wall mount | 1pcs |
| Sealing cover(CX3XXRF water-proof series) | 1pcs |
SOUNDKING
www.SOuUNDKING.COM
All rights reserved to SOUNDKING. No part of this manual may be reproduced, translated or photocopied by any means for any purpose, without the written permission of SOUNDKING.
The information involved in this manual is subject to change without notice.



















