
Instruction Manual

CB Evaporative Cooling System
with End Tank
Models: CB10 with EC1682
CB Evaporative Cooling System with End Tank EC1682
CB Evaporative Cooling System with End Tank
Instructions for Use and Maintenance
Thank You:
Thank you for purchasing a Munters CB Evaporative Cooling System. Munters equipment is designed to be the highest performing, highest quality equipment you can buy. With the proper installation and maintenance, it will provide many years of service.
Please Note:
To achieve maximum performance and insure long life from your Munters product it is essential that it be installed and maintained properly. Please read all instructions carefully before beginning installation.
Warranty:
For Warranty claims information see the “Warranty Claims and Return Policy” form QM1021 available from the
Munters Corporation office at 1-800-227-2376 or by e-mail at [email protected].
Conditions and Limitations:
- Products and Systems involved in a warranty claim under the “Warranty Claims and Return Policy” shall have been properly installed, maintained and operated under competent supervision, according to the instructions provided by Munters Corporation.
- Malfunction or failure resulting from misuse, abuse, negligence, alteration, accident or lack of proper installation or maintenance shall not be considered a defect under the Warranty.
Unpacking the Equipment
Before beginning installation, check the overall condition of the equipment. Remove packing materials, and examine all components for signs of shipping damage. Any shipping damage is the customer’s responsibility and should be reported immediately to your freight carrier. CB Evaporative Cooling System is shipped with all parts and accessories in one crate.
Parts List
Munters CB Evaporative Cooling Systems are are configured in 10’L. modules or a bulk option of 480’L. giving you the option of a single house or an entire site. Each system requires an Ending Kit, Tank Kit and Pump, each ordered separately. CB Cooling System Legths up to 80’L. requires 1 Tank and Pump. Systems longer than 80’L. require 2 Tanks and Pumps. For a 5’H. system order EC4405 Ending Kit, for a 6’H. system order EC4406 Ending Kit. A 60’L. x 6’H. system would consist of (6) CB10, (1) EC4406 Ending Kit, (1) EC1682 End Tank Kit and (1) Pump. A four house site with (2) 80’L. x 5’H. would consist of (1) CB480, (16) CB10, (8) EC4405 Ending Kits, (8) EC1682 Tank Kits and (8) Pumps.
Each CB10 System Includes:
| Qty. 1 | Cat. No. | Description |
| 1 | JP3028 | 8″ Pipe with Cut Lines, PVC |
| 1 | EC2402 | Drip Collector, 10’L., SS |
| 1 | EC2400 | Distribution Cap, 10’L., SS |
| 1 | EC2401 | Pad Retainer, 10’L., SS |
| 2 | EC2413 | Pipe Support Bracket, PL |
| 1 | EC1498 | Pipe, 1.5″Dia. x 10′-2¹⁄₂”L., with Holes, PVC |
| 1 | HP1610 | Hardware Package, CB10 Cooling Module |
Hardware Package (HP1610) for CB10
| ID | Qty | Cat. No. | Description |
| [A] | 7 | KN2301 | 1⁄4”-20 Wing Nut, Type-A, NY, Natural Color |
| [B] | 4 | KS2462 | 3⁄8” x 3¹⁄₂” Lag Screw, HOT DIP GALV. |
| [C] | 7 | KS1019 | 1⁄4”-20 x 1” Hex Bolt, SS |
| [D] | 4 | EC2410 | Pipe Holder, 1.5″Pipe, PL |
| [E] | 18 | KS1404 | #10-14 x 1” Seal Washer Polebarn Screw, ZP |
| [F] | 1 | KS2282 | #10-16 x ³⁄₄” HXWSR TEK Screw, SS |
Each EC4405/EC4406 Ending Kit Includes:
EC4405 EC4406
| Qty. | Qty. | Cat. No. | Description |
| 2 | 2 | EC1400 | End Panel for 5’H. System, SS |
| — | 2 | EC1412 | End Panel Extension, 1’H., CB Cooling, SS |
| 2 | 2 | EC1359 | 1.5″Dia. x 59.5″L. Pipe Nipple, PVC |
| 1 | 1 | EC2413 | Pipe Support Bracket, PL |
| 1 | 1 | HP1705/6 | Hardware Package, Ending Kit, CB Cooling |
Hardware Package (HP1705/HP1706) for EC4405/EC4406
HP1705 HP1706
| ID | Qty. | Qty. | Cat. No. | Description |
| [A] | 4 | 8 | KN2301 | 1⁄4”-20 Wing Nut, Type-A, NY, Natural Color |
| [B] | 2 | 2 | KS2462 | 3⁄8” x 3¹⁄₂” Lag Screw, HOT DIP GALV. |
| [C] | 4 | 8 | KS1019 | 1⁄4”-20 x 1” Hex Bolt, SS |
| [E] | 8 | 12 | KS1404 | #10-14 x 1” Seal Washer Polebarn Screw, ZP |
| [F] | 2 | 2 | KS2282 | #10-16 x ³⁄₄” HXWSR TEK Screw, SS |
| [G] | 2 | 2 | EC2404 | End Panel Retainer Bracket, SS |


Dimensions

Installation Instructions
Installation
Step 1
Construct the framed opening to correct size according to Chart A (below) and your Cooling System size using a 2×10, installed level, across the bottom, 2×4’s up the sides, and a double 2×4 across the top.
See Figure 1A and 1B and Chart A.
| Example | Length | Height |
| Pad Length | Pad Height –2 1⁄4” | |
| 80’L. x 5’H. | 80′–0” | 57 3⁄4” |
| 60’L. x 6’H. | 60′–0” | 69 3 ⁄4” |
Chart A
Step 2
The 8″ Pipe Support Bracket should be installed every 60″ O.C. into the building post, starting a maximum of 24″ from the End Framing. The holes in Bracket should be aligned vertically, with bottom flange flush with bottom of level 2×10. Use holes in Bracket as a guide and pre-drill holes in the framing. Then fasten Bracket using Lag Screw [B]. See Figure 2A and 2B.
Step 3 Starting on the end that the Tank will be, position the 8″ Pipe in the Pipe Support Brackets with the non-bell end and the Cut-Lines facing up and the pipe installed level. See Figure 3.
Step 4
With the 8″ Pipe sitting in the Pipe Support Brackets, prepare the pipe with PVC Pipe Primer (not provided), following the directions for use and drying. After priming, use heavy-duty, heavy-bodied PVC cement (not provided) for pipe 8″ diameter or larger, in accordance to the PVC cement directions.
Step 5
Apply a generous amount of PVC cement to the inside of the bell end, and the outside of the non-bell end, and slide together, 5″ deep making sure the Cut-Lines from each pipe line up. See Figure 4A. Continue for all sections of 8″ Pipe making sure Cut-Lines from each pipe line up.
Step 6
On the Tank End position the 8″ Pipe so that it extends past the inside edge of Framed Opening 4″. On the opposite end cut the 8″ pipe so that it extends past the inside edge of Framed Opening 4″. See Figure 4B.
Step 7
With the 8″ Pipe sitting in the Pipe Support Brackets, positioned as stated in Step 6, mark a line between the Cut-Lines ¹/” past the Framed Opening on each end of the pipe.
Step 8
After the PVC cement has set up, cut along the outside edge of the Cut-Lines and across the marks at each end between the Cut-Lines. See Figure 5. Remove the cut piece and any other debris from the remaining 8″ Pipe.
Step 9
Make sure the cut-out opening in the 8″ Pipe is facing up. Starting from the tank end install the Drip Collector into the 8″ Pipe by inserting the side of Drip Collector with the flange into the pipe closest to framing and then snapping front of Drip Collector into the front of the 8″ Pipe. See Figure 6A and 6B.
Step 10
Once Drip Collector is snapped into the 8″ Pipe make sure Drip Collector and pipe is level and the flange is resting on top of 2×10 and Drip Collector is pushed up against the End Framing leaving a ¼” gap between the end of the Drip Collector and the cut end of the 8″ Pipe, then secure in place using (5) 1″ Polebarn Screws [E]. See Figure 6B and 6C. Repeat for the remaining Drip Collectors, butting them up to one another.
Step 11
Locate the Distribution Cap and the plastic Pipe Holder [D]. Fasten (4) Pipe Holders [D] to each Distribution Cap using (2) Polebarn Screws [E]. See Figure 7A and 7B. Make sure all the Pipe Holders are installed in the same direction.
Step 12
The side of the Distribution Cap with the slots is the mounting flange. Starting at the Tank End, hold the Distribution Cap mounting flange up to the Top Framing so that the end is flush with end of Top Framing and the bend in the mounting flange is aligned with bottom edge of Top Framing and loosely secure in place using (1) Polebarn Screw [E] in the end slots. See Figure 8A and 8B.
Step 13
After Distribution Cap is loosely secured to the Top Framing insert one piece of Cooling Pad at each end of the Distribution Cap. Use these pieces to adjust the height of the Distribution Cap. Distribution Cap should fit down tight to Cooling Pad. See Figure 9A and 9B. When the Distribution Cap is in place, make sure it is level, then tighten the (2) Polebarn Screws [E] and then install (3) Polebarn Screws [E] in the remaining slots.
Step 14
Install the remaining Distribution Cap by butting the Mounting Flange of the next one up to the previous one, with the Splash Guard overlapping the previous one. Make sure Distribution Cap is level and securing in place with (5) Polebarn Screws [E]. See Figure 10. Then fasten the two Distribution Caps together using (2) Hex Bolts [C] and Wing Nuts [A].
Step 15
If installing a 6’H. system, fasten the End Panel Extension to the bottom of the End Panel using (1) Bolt [C] and Wing Nut [A]. The 1″ flange and 1½” flange should match with the bolt in the 1″ flange. See Figure 11A. Position End Panel so the 1¹/” Flange with 4/6 holes rests against End Framing with the 1″ Flange away from the framing and the bottom tab sticking into the slot between the end of the Drip Collector and the end of the slot in the 8″ Pipe. Push the End Panel up against the Drip Collector at the bottom and the Distribution Cap at the top and attach to End Framing with (4/6) Polebarn Screws [E]. See Figure 11B. Repeat for opposite End Panel.
Step 16
Insert (1) Hex Bolt [C] into each Pipe Holder Bracket down the length of the system. See Figure 12.
Step 17
Assemble all the 1¹/” Distribution Pipe (with holes) together keeping the holes aligned. Secure pipes together using (1) TEK Screw [F] at each joint. The Belled end of the pipe goes on the Tank End. At the opposite end install the Slip Cap and secure it in place with (1) TEK Screw [F]. Snap the Distribution Pipe into the Pipe Holder Brackets with the holes rotated 45°, so they are pointing towards the Splash Guard. See Figure 13A, 13B and 13C.
Step 18
Insert the first piece of Cooling Pad and slide it tight up to the End Panel. Be sure the directional arrows on your Cooling Pad should point upward and to the inside of the building. Making sure the pads are tight together, install the remaining Cooling Pads, stopping at the last 2 pads. See Figure 14.
Step 19
Slide the next to the last piece of pad tight to the End Panel. Measure the opening that is left for the last piece of pad at the top and bottom of the opening. If the opening is smaller than the width of the last piece of pad, then use a hand saw to trim the last piece of Cooling Pad to fit the opening. Insert the last piece of pad into the opening. See Figure 15.
Step 20
Find the Pad Retainer and position it onto the bolts in the Pipe Holder Brackets and secure in place with (4) Wing Nuts [A]. See Figure 16A and 16B.
Step 21
Install the remaining Pad Retainers and secure in on bolts using Wing Nuts [A]. Where the next Pad Retainer overlaps the previous Pad Retainer secure with Hex Bolt [C] and Wing Nut [A] through slots. See Figure 16C.
Step 22
On each end of the system install an End Panel Retainer Bracket by inserting a Hex Bolt [C] in the hole in the End Panel and the slot in the Pad Retainer, then placing the Bracket over these 2 bolts and securing in place using Wing Nuts [A]. See Figure 17.
Plumbing Installation
Black Poly Tank
Step 23
Prepare the Black Poly Tank for attachment to the 8″ Pipe by removing the flat interior surface of the 8″ pipe area. Cut the flat end leaving a minimum of ¹/” lip around the edge. See Figure 18. DO NOT CUT the outer surface of the 8″ pipe area, cutting the round surface will weaken the tank structure. See Figure 18.
Step 24
Slide the Rubber Bellows Connector over the trimmed out 8″ pipe area of the Black Poly Tank and secure in place with the provided Hose Clamp positioned in the groove of the Rubber Bellows Connector.
Step 25
Clean any debris from inside the 8″ Pipe. If needed flush-out the 8″ Pipe with water before continuing. Position the Tank with Bellows Connector at the end of the system and slide the Rubber Bellows Connector over the end of the 8″ Pipe and secure in place with the Hose Clamp (provided). See Figure 20. On the other end of the system place the Black Rubber End Cap over the 8″ Pipe and secure in place with Hose Clamp (provided). See Figure 20.
Step 26
In some installations, it may be necessary to bury or elevate the Black Poly Tank for proper alignment with the 8″ Pipe. In either case the ground or support must be capable of supporting 300 lbs. If using the optional Cooling Tank Drain Kit, EC1630 for below grade or EC1635 for above grade, install it at this time, following the instructions included with the kit. See Figure 21.
Step 27
Cut overflow spout at an angle as shown. See Figure 22.
Step 28
Using the circular dimple in the tank, drill a 1¹/” dia. hole for the float valve. See Figure 22.
Step 29
Hold the Mounting Plate up to the Tank and align the hole in the tank and mounting plate and mark the 2 smaller holes and drill (2) /” dia. holes. Then attach mounting plate to tank using (2) HEX Head Bolts and Flange Nuts. See Figure 22.
Float Valve
Step 30
Loosen or remove wing nut and bolt from Float/Valve Assembly and rotate the Float Assembly to the position shown and tighten wing nut. See Figure 23A.
Step 31
Attach Float Valve Assembly to Tank using Washer, Nut and Garden Hose Adapter. See Figure 23A and 23B. The ball of the Float Valve may need some adjustment to attain the proper water level in Tank. Proper water level should be approximately 4″ below the top of the 8″ Pipe or level with the opening in the overflow spout.
Step 32
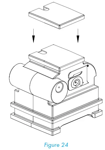
Cut Tank Lid to fit around the 1¹/” water supply line connected to the pump. Make the cut match the location of the pump. See Figure 24.
Optional Flush-out Kit (EC1507)
Step 33
If Flush-out Kit (EC1507) was purchased, remove TEK Screw and Pipe Cap from end of Distribution Pipe. Assemble Flush-out Kit piping as shown. See Figure 25. Installation of 90° elbow and (1) 1¹/” x 10″ pipe is optional, depending on the desired direction of water flow.
Flush-out Kit Assembly is now complete.
Plumbing Layout with Submersible Pump

Operation
System Start-up
Step 1
Flush out 8″ Pipe and Black Poly Tank of any debris before filling with water.
Step 2
Prime pump with water.
Step 3
Turn on the electrical power and freshwater supplies.
Step 4
Activate the pump by setting the cooling thermostat below room temperature.
Step 5
Open the flow control valve at each cooling panel enough to completely saturate the pad material.
Step 6
Adjust the bleed-off valve to discharge water from the cooling system at a rate of 1 gallon per hour per linear foot of cooling system. For example The bleed-off rate for a CB705EF system (70’L.) would be 70 gallons per hour.
System Operation and Adjustment
Step 1
Set the cooling setpoint on the temperature controller as shown on your Munters Corporation ventilation system drawing. If this is not available contact your Munters field representative for proper settings.
Step 2
Adjust the flow control valve at each cooling panel to give the pad material a “shiny wet” surface. Pad material performs best when as much water as possible is used, but the flow should not be so great that waterfalls from the material.
Step 3
If the pad material remains dry on one side (with fans running), even at full water flow, adjust the distribution pipe so that the distribution holes are pointing towards the splash deflector.
Step 4
If water drips from the cooling panel’s upper edge, the pad material may be loose in its frame. Correct this by tightening the wing nuts on the front of the pad retainer to press it more firmly against the pad material.
Step 5
Water bleed-off is necessary to limit mineral deposits and other contaminants on the pad material by assuring the continuous addition of fresh water. The rate of, 1 gallon per hour per linear foot of cooling system, should be considered only as a starting point in determining the required amount of bleed-off. Due to differences in water hardness, a trial and error process must be used to determine the correct rate for your location.
After the cooling system has operated for a week or 2, the sump water may become discolored or a light mineral coating may develop on the face of the pad material. If this occurs, increase the bleed-off rate slightly and observe the tendency of the coating to increase or stabilize. If after an extended period of time the mineral deposits become more visible, again increase the bleed-off rate.
Through this trial and error process a bleed-off rate will eventually be established at which the formation of new deposits will cease. Slightly increase the rate from this point to compensate for fluctuations in water hardness. The cooling system should now equalize and now more deposits should form.
Maintenance
Minimum Maintenance Schedule
To maintain your cooling system in top condition, the recommendations given in this chart should be treated as minimums. More frequent maintenance may be required at initial start-up, in certain climates, and in areas with hard water conditions.
SCHEDULE
| Weekly | Monthly | Yearly | |
| Clean the foot valve or the pump fi lter screen | X | ||
| Flush in-line strainer | X | ||
| Check for dry streaks on pad material | X | ||
| Clean debris from face of pad material | X | ||
| Clean cooling control and sensor | X | ||
| Clean cooling panel distribution pipe holes | X | ||
| Clean cooling panel collection trough | X | ||
| Drain and clean sump tank | X | ||
| Clean/check fl oat valve | X |
Maintenance Checklist
! WARNING![]()
Do Not allow fi re, sparks, welding or smoking near dry pads![]()
! WARNING![]()
Do Not apply unapproved chemicals or commercial water treatments to sump or sump water
Follow the guidelines below to prevent early pad failure and to get the maximum life from your pads.
- Reduce the number of on-off cycles. Do Not use 10-minute cycle timers on pumps.
- Shade the pads and sump to minimize algae growth.
- Dry the pads out completely each night to kill algae. A 24-hour timer may be installed to shut pumps off at 10 PM and not allow them to come on until after 9 AM.
- Bleed-off some water continuously to prevent concentration of minerals and dissolved chemicals in sump. Start with 1 gallon per hour for each linear foot of cooling system and adjust as necessary.
- Drain and disinfect the water distribution system every three months to minimize algae, fungus and mineral build-up.
- Run the recommended quantity of water over the pads. The pump must provide ³/ gallon/minute for each linear foot of cooling system for 6″ thick pad. For 4″ thick pad, provide ¹/2 gallon/minute for each linear foot of cooling system.
- Periodically check for leaks in water distribution system.
- Avoid harmful contaminants such as dust, fumes, fertilizers, harsh cleaners and water treatment chemicals.
- Complete the items on the Maintenance Schedule listed above as required.
Warning:
DO NOT add unapproved chemicals or commercial water treatments to the sump or supply water. If the above recommendations are followed and problems on the pad are observed such as algae growth, mineral deposits or softening of the pad material, contact Munters Corporation for further recommendations.
Exploded View

| Item | Catalog No. | Description | Qty. |
| 1 | JP3028 | 8″ Pipe with Cut Lines, PVC | varies/foot |
| 2 | KS2462 | 3⁄8” x 3¹⁄₂” Lag Screw, HOT DIP GALV. | varies |
| 3 | EC2413 | Pipe Support Bracket, PL | varies/foot |
| 4 | EC2402 | Drip Collector, 10’L., SS | varies/foot |
| 5 | EC1400 | End Panel for 5’H. System, SS | 2 |
| 6 | EC2400 | Distribution Cap, 10’L., SS | varies/foot |
| 7 | EC2401 | Pad Retainer, 10’L., SS | varies/foot |
| 8 | EC2410 | Pipe Holder, 1.5″ Pipe, PL | varies/foot |
| 9 | KS1019 | 1⁄4”-20 x 1” Hex Bolt, SS | varies/foot |
| 10 | KN2301 | 1⁄4”-20 Wing Nut, Type-A, NY, Natural Color | varies/foot |
| 11 | EC2404 | End Panel Retainer Bracket, SS | 2 |
| 12 | EC1498 | Pipe, 1.5″Dia. x 10′-2¹⁄₂”L., with Holes, PVC | varies/foot |
| 13* | CEL1545061260M1 | CELdek® Pad Material | varies |
| 14 | KS1404 | #10-14 x 1” Seal Washer Polebarn Screw, ZP | varies |
* Catalog Number changes depending on type and size of pad.
CB Evaporative Cooling System is developed and produced by Munters Corporation, Lansing, Michigan U.S.A. 1-800-227-2376
Munters Europe AB, Isafjordsgatan 1, P.O. Box 1150, SE-164 26 Kista, Sweden. Phone +46 08 626 63 00, Fax +46 8 754 56 66. Munters Corporation 2691 Ena Drive Lansing, MI 48917 U.S.A. Phone +1 800-227-2376, Fax +1 517-676-7078 www.munters.us
Australia Munters Pty Limited, Phone +61 2 6025 6422, Brazil Munters Brasil Industria e Comercio Ltda, Phone +55 41 3317 5050, Canada/US Munters Corporation Lansing, MI Phone +1 517 676 7070, China Munters Air Treatment Equipment (Beijing) Co. Ltd, Phone +86 10 80 481 121, Denmark Munters A/S, Phone +45 9862 3311, India Munters India, Phone +91 20 3052 2520, Indonesia Munters, Phone +62 818 739 235, Italy Munters Italy S.p.A., Chiusavecchia, Phone +39 0183 52 11, Japan Munters K.K., Phone +81 3 5970 0021, Korea Munters Korea Co. Ltd., Phone +82 2 761 8701, Mexico Munters Mexico, Phone +52 818 262 54 00, Russia Munters AB, Phone +7 812 448 5740, Singapore Munters Pte Ltd., Phone +65 744 6828, South Africa and Sub-Sahara Countries Munters (Pty) Ltd., Phone +27 11 997 2000, Spain Munters Spain S.A., Phone +34 91 640 09 02, Sweden Munters AB, Phone +46 8 626 63 00, Thailand Munters Co. Ltd., Phone +66 2 642 2670, Turkey Munters Form Endüstri Sistemleri A., Phone +90 322 231 1338, USA Munters Corporation Lansing, MI Phone +1 517 676 7070, Vietnam Munters Vietnam, Phone +84 8 3825 6838, Export & Other countries Munters Italy S.p.A., Chiusavecchia Phone +39 0183 52 11

Plumbing Layout with Submersible Pump













