
Solar Network Camera
Quick Start Guide
© 2020 Hangzhou Hikvision Digital Technology Co., Ltd. All rights reserved.
About this Manual
The Manual includes instructions for using and managing the Product. Pictures, charts, images, and all other information hereinafter are for description and explanation only. The information contained in the Manual is subject to change, without notice, due to firmware updates or other reasons. Please find the latest version of this Manual at the Hikvision website (http://www.hikvision.com/). Please use this Manual with the guidance and assistance of professionals trained in supporting the Product.
Trademarks Acknowledgment
and other Hikvision trademarks and logos are the properties of Hikvision in various jurisdictions. Other trademarks and logos mentioned are the properties of their respective owners.
LEGAL DISCLAIMER
TO THE MAXIMUM EXTENT PERMITTED BY APPLICABLE LAW, THIS MANUAL AND THE PRODUCT DESCRIBED, WITH ITS HARDWARE, SOFTWARE, AND FIRMWARE, ARE PROVIDED “AS IS” AND “WITH ALL FAULTS AND ERRORS”. HIKVISION MAKES NO WARRANTIES, EXPRESS OR IMPLIED, INCLUDING WITHOUT LIMITATION, MERCHANTABILITY, SATISFACTORY QUALITY, OR FITNESS FOR A PARTICULAR PURPOSE. THE USE OF THE PRODUCT BY YOU IS AT YOUR OWN RISK. IN NO EVENT WILL HIKVISION BE LIABLE TO YOU FOR ANY SPECIAL, CONSEQUENTIAL, INCIDENTAL, OR INDIRECT DAMAGES, INCLUDING, AMONG OTHERS, DAMAGES FOR LOSS OF BUSINESS PROFITS, BUSINESS INTERRUPTION, OR LOSS OF DATA, CORRUPTION OF SYSTEMS, OR LOSS OF DOCUMENTATION, WHETHER BASED ON BREACH OF CONTRACT, TORT (INCLUDING NEGLIGENCE), PRODUCT LIABILITY, OR OTHERWISE, IN CONNECTION WITH THE USE OF THE PRODUCT, EVEN IF HIKVISION HAS BEEN ADVISED OF THE POSSIBILITY OF SUCH DAMAGES OR LOSS. YOU ACKNOWLEDGE THAT THE NATURE OF THE INTERNET PROVIDES FOR INHERENT SECURITY RISKS AND HIKVISION
SHALL NOT TAKE ANY RESPONSIBILITIES FOR ABNORMAL OPERATION, PRIVACY LEAKAGE OR OTHER DAMAGES RESULTING FROM CYBER-ATTACK, HACKER ATTACK, VIRUS INFECTION, OR OTHER INTERNET SECURITY RISKS; HOWEVER, HIKVISION WILL PROVIDE TIMELY TECHNICAL SUPPORT IF REQUIRED. YOU AGREE TO USE THIS PRODUCT IN COMPLIANCE WITH ALL APPLICABLE LAWS, AND YOU ARE SOLELY RESPONSIBLE FOR ENSURING THAT YOUR USE CONFORMS TO THE APPLICABLE LAW. ESPECIALLY, YOU ARE RESPONSIBLE, FOR USING THIS PRODUCT IN A MANNER THAT DOES NOT INFRINGE ON THE RIGHTS OF THIRD PARTIES, INCLUDING WITHOUT LIMITATION, RIGHTS OF PUBLICITY, INTELLECTUAL PROPERTY RIGHTS, OR DATA PROTECTION, AND OTHER PRIVACY RIGHTS. YOU SHALL NOT USE THIS PRODUCT FOR ANY PROHIBITED END-USES, INCLUDING THE DEVELOPMENT OR PRODUCTION OF WEAPONS OF MASS DESTRUCTION, THE DEVELOPMENT OR PRODUCTION OF CHEMICAL OR BIOLOGICAL WEAPONS, ANY ACTIVITIES IN THE CONTEXT RELATED TO ANY NUCLEAR EXPLOSIVE OR UNSAFE NUCLEAR FUEL-CYCLE, OR IN SUPPORT OF HUMAN RIGHTS ABUSES. IN THE EVENT OF ANY CONFLICTS BETWEEN THIS MANUAL AND THE APPLICABLE LAW, THE LATTER PREVAILS.
Regulatory Information EU Conformity Statement
This product and – if applicable – the supplied accessories too are marked with “CE” and comply therefore with the applicable harmonized European standards listed under the EMC Directive 2014/30/EU, the LVD Directive 2015/35/EU, the RoHS Directive 2011/65/EU.
2012/19/EU (WEEE directive): Products marked with this symbol cannot be disposed of as unsorted municipal waste in the European Union. For proper recycling, return this product to your local supplier upon the purchase of equivalent new equipment, or dispose of it at designated collection points. For more information see: www.recyclethis.info
2006/66/EC and its amendment 2013/56/EU (battery directive): This product contains a battery that cannot be disposed of as unsorted municipal waste in the European Union. See the product documentation for specific battery information. The battery is marked with this symbol, which may include lettering to indicate cadmium (Cd), lead (Pb), or mercury (Hg). For proper recycling, return the battery to your supplier or to a designated collection point. For more information see www.recyclethis.info.
Cautions&Warnings
These instructions are intended to ensure that the user can use the product correctly to avoid danger or property loss.
Laws and Regulations
The device should be used in compliance with local laws, electrical safety regulations, and fire prevention regulations.
Transportation
Keep the device in original or similar packaging while transporting it.
Power Supply
The power source should meet limited power source or PS2 requirements according to IEC 60950-1 or IEC 62368-1 standard.
DO NOT connect multiple devices to one power adapter, to avoid over-heating or fire hazards caused by overload.
Make sure the plug is properly connected to the power socket.
System Security
The installer and user are responsible for password and security configuration.
Battery
CAUTION: Risk of explosion if the battery is replaced by an incorrect type.
Improper replacement of the battery with an incorrect type may defeat a safeguard (for example, in the case of some lithium battery types).
Do not dispose of the battery into fire or a hot oven, or mechanically crush or cut the battery, which may result in an explosion.
Do not leave the battery in an extremely high temperature surrounding environment, which may result in an explosion or the leakage of flammable liquid or gas.
Do not subject the battery to extremely low air pressure, which may result in an explosion or the leakage of flammable liquid or gas.
Dispose of used batteries according to the instructions + identifies the positive terminal(s) of equipment that is used with, or generates a direct current. – identifies the negative terminal(s) of equipment that is used with, or generates a direct current.
Maintenance
If the product does not work properly, please contact your dealer or the nearest service center. We shall not assume any responsibility for problems caused by unauthorized repair or maintenance.
A few device components (e.g., electrolytic capacitor) require regular replacement. The average lifespan varies, so periodic checking is recommended. Contact your dealer for details.
Cleaning
Please use a soft and dry cloth when clean the inside and outside surfaces of the product cover. Do not use alkaline detergents.
Using Environment
When any laser equipment is in use, make sure that the device lens is not exposed to the laser beam, or it may burn out.
DO NOT expose the device to high electromagnetic radiation or dusty environments.
For indoor-only devices, place it in a dry and well-ventilated environment.
DO NOT aim the lens at the sun or any other bright light.
Make sure the running environment meets the requirement of the device. The operating temperature shall be -15 °C to 55 °C (5 °F to 131 °F), and the operating humidity shall be 95% or less (no condensing).
DO NOT place the device in extremely hot, cold, dusty or damp locations, and do not expose it to high electromagnetic radiation.
White Light Illuminator (If supported)
Possibly hazardous optical radiation emitted from this product.
DO NOT stare at the operating light source. May be harmful to the eyes.
Wear appropriate eye protection or DO NOT turn on the white light when you assemble, install or maintain the camera.
Emergency
If smoke, odor, or noise arises from the device, immediately turn off the power, unplug the power cable, and contact the service center.
Time Synchronization
Set up device time manually for the first time access if the local time is not synchronized with that of the network. Visit the device via Web browse/client software and go to the time settings interface.
Installation
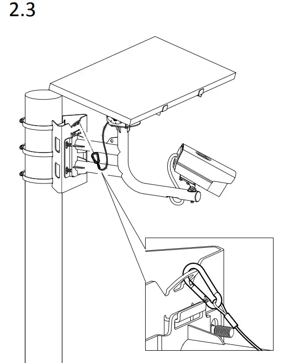
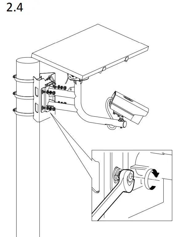
This camera series shares a similar structure. We take one type among this series for demonstration.
You need to prepare waterproof tapes before installation.
Make sure the device is firmly secured to any wall or ceiling mountings.
Be sure that there is enough space to install the device and accessories.
Make sure that the device in the package is in good condition and all the assembly parts are included.
Make sure that the wall is strong enough to withstand at least 4 times the weight of the device and the mount.
Make sure that the power has been disconnected before you wire, install, or disassemble the device.
Make sure that no reflective surface is too close to the device lens. The IR light from the device may reflect back into the lens causing reflection.
CAUTION: Hot parts! Burned fingers when handling the parts. Wait one-half hour after switching off before handling parts. This sticker is to indicate that the marked item can be hot and should not be touched without taking care. For a device with this sticker, this device is intended for installation in a restricted access location, access can only be gained by service persons or by users who have been instructed about the reasons for the restrictions applied to the location and about any precautions that shall be taken.
Symbols and Marks
![]() | Notice |
![]() | Warning |
![]() | Forbidden |
![]() | Correct |
![]() | Incorrect |
![]() | Turn to page A and continue. |
| i. Not necessarily included accessory. ii. Variable accessory amount. iii. Skip this step if not required. | |
| MicroSD card | |
![]() | Grounding |
![]() | Functional grounding |
![]() | Disposal |
![]() | Purchase separately |
![]() | Other situations |
![]() | Other situations omitted |
![]() | Waterproof |
![]() | Skip this step if not necessary |
Interface Introduction
- Memory Card Slot
- Reset Button
- SIM Card Slot
- Network Interface
- RS-485 Interface
- Power Interface
Installation





















Operation
Activate and Access Network Camera
Scan the QR code to get Activate and Access Camera. Note that mobile data charges may apply if Wi-Fi is unavailable.

http://enpinfodata.hikvision.com/analysisQR/showQR/d983b5d2
Reset and Restore Camera
Press the Reset button for about 10s when the camera is powering on or rebooting to restore the default settings, including the user name, password, IP address, port No., etc. For the position of the reset button, refer to indicator 2 in the appearance page.

UD20302B

































