Network Mini Cube Camera
User Guide
Quick Start Guide
COPYRIGHT ©2018 Hangzhou Hikvision Digital Technology Co., Ltd. ALL RIGHTS RESERVED. Any and all information, including, among others, wordings, pictures, and graphs are the properties of Hangzhou Hikvision Digital Technology Co., Ltd. or its subsidiaries (hereinafter referred to be “Hikvision”). This user manual (hereinafter referred to be “the Manual”) cannot be reproduced, changed, translated, or distributed, partially or wholly, by any means, without the prior written permission of Hikvision. Unless otherwise stipulated, Hikvision does not make any warranties, guarantees, or representations, express or implied, regarding the Manual.
About this Manual
The Manual includes instructions for using and managing the product. Pictures, charts, images, and all other information hereinafter are for description and explanation only. The information contained in the Manual is subject to change, without notice, due to firmware updates or other reasons. Please find the latest version on the company website (http://www.hi-watch.eu/).
Visit the company website (http://www.hi-watch.eu/) to get the manuals, client software, and developing tools.
Please use this user manual under the guidance of professionals.
Trademarks Acknowledgement
and other Hikvision trademarks and logos are the properties of Hikvision in various jurisdictions. Other trademarks and logos mentioned below are the properties of their respective owners.
Legal Disclaimer
TO THE MAXIMUM EXTENT PERMITTED BY APPLICABLE LAW, THE PRODUCT DESCRIBED, WITH ITS HARDWARE, SOFTWARE, AND FIRMWARE, IS PROVIDED “AS IS”, WITH ALL FAULTS AND ERRORS, AND HIKVISION MAKES NO WARRANTIES, EXPRESS OR IMPLIED, INCLUDING WITHOUT LIMITATION, MERCHANTABILITY, SATISFACTORY QUALITY, FITNESS FOR A PARTICULAR PURPOSE, AND NON-INFRINGEMENT OF THIRD PARTY. IN NO EVENT WILL HIKVISION, ITS DIRECTORS, OFFICERS, EMPLOYEES, OR AGENTS BE LIABLE TO YOU FOR ANY SPECIAL, CONSEQUENTIAL, INCIDENTAL, OR INDIRECT DAMAGES, INCLUDING, AMONG OTHERS, DAMAGES FOR LOSS OF BUSINESS PROFITS, BUSINESS INTERRUPTION, OR LOSS OF DATA OR DOCUMENTATION, IN CONNECTION WITH THE USE OF THIS PRODUCT, EVEN IF HIKVISION HAS BEEN ADVISED OF THE POSSIBILITY OF SUCH DAMAGES.
REGARDING THE PRODUCT WITH INTERNET ACCESS, THE USE OF THE PRODUCT SHALL BE WHOLLY AT YOUR OWN RISK. HIKVISION SHALL NOT TAKE ANY RESPONSIBILITY FOR ABNORMAL OPERATIONS, PRIVACY LEAKAGE, OR OTHER DAMAGES RESULTING FROM CYBER ATTACKS, HACKER ATTACKS, VIRUS INSPECTIONS, OR OTHER INTERNET SECURITY RISKS; HOWEVER, HIKVISION WILL PROVIDE TIMELY TECHNICAL SUPPORT IF REQUIRED. SURVEILLANCE LAWS VARY BY JURISDICTION. PLEASE CHECK ALL RELEVANT LAWS IN YOUR JURISDICTION BEFORE USING THIS PRODUCT IN ORDER TO ENSURE THAT YOUR USE CONFORMS TO THE APPLICABLE LAW. HIKVISION SHALL NOT BE LIABLE IN THE EVENT THAT THIS PRODUCT IS USED FOR ILLEGITIMATE PURPOSES.
IN THE EVENT OF ANY CONFLICTS BETWEEN THIS MANUAL AND THE APPLICABLE LAW, THE LATTER PREVAILS.
Regulatory Information
FCC Information
Please take attention that changes or modification not expressly approved by the party responsible for compliance could void the user’s authority to operate the equipment.
FCC compliance: This equipment has been tested and found to comply with the limits for a Class B digital device, pursuant to part 15 of the FCC Rules. These limits are designed to provide reasonable protection against harmful interference in a residential installation. This equipment generates, uses, and can radiate radio frequency energy and, if not installed and used in accordance with the instructions, may cause harmful interference to radio communications. However, there is no guarantee that interference will not occur in a particular installation. If this equipment does cause harmful interference to radio or television reception, which can be determined by turning the equipment off and on, the user is encouraged to try to correct the interference by one or more of the following measures:
- Reorient or relocate the receiving antenna.
- Increase the separation between the equipment and receiver.
- Connect the equipment into an outlet on a circuit different from that to which the receiver is connected.
- Consult the dealer or an experienced radio/TV technician for help.
This equipment should be installed and operated with a minimum distance of 20cm between the radiator and your body.
FCC Conditions
This device complies with part 15 of the FCC Rules. Operation is subject to the following two conditions:
- This device may not cause harmful interference.
- This device must accept any interference received, including interference that may cause undesired operation.
EU Conformity Statement
![]() | This product and – if applicable – the supplied accessories too are marked with “CE” and comply therefore with the applicable harmonized European standards listed under the EMC Directive 2014/30/EU, the RoHS Directive 2011/65/EU, Radio Equipment Directive 2014/53/EU. |
![]() | 2012/19/EU (WEEE directive): Products marked with this symbol cannot be disposed of as unsorted municipal waste in the European Union. For proper recycling, return this product to your local supplier upon the purchase of equivalent new equipment, or dispose of it at designated collection points. For more information see www.recyclethis.info. |
![]() | 2006/66/EC (battery directive): This product contains a battery that cannot be disposed of as unsorted municipal waste in the European Union. See the product documentation for specific battery information. The battery is marked with this symbol, which may include lettering to indicate cadmium (Cd), lead (Pb), or mercury (Hg). For proper recycling, return the battery to your supplier or to a designated collection point. For more information see www.recyclethis.info. |
Industry Canada ICES-003 Compliance
This device meets the CAN ICES-3 (B)/NMB-3(B) standards requirements.
This device complies with Industry Canada licence-exempt RSS standard(s). Operation is subject to the following two conditions:
- this device may not cause interference, and
- this device must accept any interference, including interference that may cause undesired operation of the device.
Safety Instruction
These instructions are intended to ensure that a user can use the product correctly to avoid danger or property loss.
The precaution measure is divided into “Warnings” and “Cautions”
Warnings: Serious injury or death may occur if any of the warnings are neglected.
Cautions: Injury or equipment damage may occur if any of the cautions are neglected.
![]() | ![]() |
| Warnings: Follow these safeguards to prevent serious injury or death. | Cautions: Follow these precautions to prevent potential injury or material damage. |
Warnings
- Proper configuration of all passwords and other security settings is the responsibility of the installer and/or end-user.
- In the use of the product, you must be in strict compliance with the electrical safety regulations of the nation and region. Please refer to technical specifications for detailed information.
- Do not connect several devices to one power adapter as adapter overload may cause over-heating or a fire hazard.
- Please make sure that the plug is firmly connected to the power socket. When the product is mounted on a wall or ceiling, the device shall be firmly fixed.
- If smoke, odor, or noise rise from the device, turn off the power at once and unplug the power cable, and contact the service center.
Cautions
- Make sure the power supply voltage is correct before using the camera.
- Do not drop the camera or subject it to physical shock.
- Do not touch sensor modules with fingers. If cleaning is necessary, use a clean cloth with a bit of ethanol and wipe it gently. If the camera will not be used for an extended period, replace the lens cap to protect the sensor from dirt.
- Do not aim the camera at the sun or extra bright places. Blooming or smearing may occur (which is not a malfunction), and affect the sensor’s endurance at the same time.
- The sensor may be burned out by a laser beam, so when any laser equipment is in use, make sure that the surface of the sensor will not be exposed to the laser beam.
- Do not place the camera in extremely hot, cold (the operating temperature shall be -10°C to +40°C), dusty, or damp locations, and do not expose it to high electromagnetic radiation.
- To avoid heat accumulation, ensure that there is good ventilation in the device.
- Keep the camera away from liquids.
- While in delivery, pack the camera in its original, or equivalent, packing, packing materials. Or packing of the same texture.
- Regular part replacement: a few parts (e.g. electrolytic capacitor) of the equipment shall be replaced regularly according to their average endurance. The average time varies because of differences between operating environments and usage history, so regular checking is recommended for all users. Please contact your dealer for more details.
- Improper use or replacement of the battery may result in a hazard of explosion. Replace with the same or equivalent type only. Dispose of used batteries according to the instructions provided by the battery manufacturer.
- If the product does not work properly, please contact your dealer or the nearest service center. Never attempt to disassemble the camera yourself. (We shall not assume any responsibility for problems caused by unauthorized repair or maintenance.)
Appearance

| Name | Description |
| Power Input | Micro USB interface for the power supply (5V ). Plug the power cable into the power input interface to power on the camera. |
| IR Light | The auto light source for night vision. The light is behind the anti-reflection panel. You can see the light when it is on. |
| LED Indicator | ● Steady red: The camera is starting up. ● Flashing blue: The camera is on and ready for the Wi-Fi connection. ● Steady blue: The camera is running properly. ● Flashing red: Network exception. |

| Name | Description |
| Memory Card Slot | For micro SD card. If a memory card is used, video files will be stored in the memory card. You would need to initialize it via the Hik-Connect app. |
| RESET/WPS | WPS: Set Wi-Fi connection via WPS (Wi-Fi Protected Setup) function. RESET: Hold down the button for 4 seconds when the camera is running. |
Installation
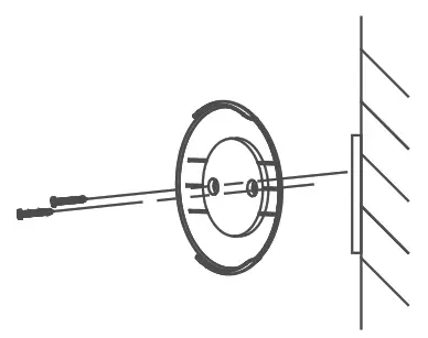
1. Install memory card (optional).
Insert the memory card into the card slot on the side of the camera, as shown below.
2. Install the camera.
- Paste the mounting template onto the installation surface.

- Fix the mounting base to the installation position according to the holes on the mounting template.

- Line up and wedge the lower edge of the camera base with the mounting base and then push the camera to the mounting base to secure it.

3. Adjust the surveillance angle.
- Rotate the camera body to adjust the panning position.
- Pull and push the camera body to adjust it to the desired tilting position.

Operations
Step 1
Power on the Camera
Connect the camera to the power adapter with the Micro USB cable, and then plug the power adapter into the power outlet. When the blue light flashes, the camera is powered on. You can set the Wi-Fi connection.

Step 2
Hik-Connect Setup
- Connect your mobile device to Wi-Fi.
- Download and install the Hik-Connect app by searching the “Hik-Connect” in App Store or Google Play™

- Launch the app and register for a Hik-Connect user account.
Use of the product is subject to your registration with Hik-Connect and your agreement to the Terms of Service found at
https://www.hik-connect.com/views/terms/termsofservice.html
Step 3
Add the Camera to Your Hik-Connect Account
Start the adding process only when the indicator flashes blue.
- Connect your mobile phone to Wi-Fi (5G Wi-Fi is not supported yet).
- Log into the Hik-Connect app.
- On the Home page, tap “+” on the upper-right corner to add a camera.
- Scan the QR code on the bottom of the camera or on the Quick Start Guide cover.
- Tap Connect to a Network button in the pop-up interface.
- Choose Wireless Connection to set the Wi-Fi connection.
- Input the Wi-Fi password that your mobile phone has connected to, and tap Next to start the Wi-Fi connection. (Locate the camera within 3 meters from the router.)
- Tap Add button in the next interface to finish adding.
Hik-Connect
With the Hik-Connect service, you can realize certain functions of this product (including, but not limited to, live view, and remote playback), which depend on the Internet and telecom value-added services.

Live View
Launch the Hik-Connect app and you can get a live view of the connected devices.
Recording
- Check the memory card status by tapping on the Storage Status in the Device Settings interface.
- If the memory card status displays as Uninitialized, tap to initialize it. The status will then change to Normal.
You can then start recording any event-triggered video in the camera such as motion detection.
Playback
Launch the Hik-Connect app, tap a connected device, and tap the Gallery button to playback.
Alarm Notification
Launch the Hik-Connect app and tap Message to see the alarm messages.
UD08889B-A


























