klarstein 10035700 Appetito Domino Electric Cooking Hob

Dear Customer,
Congratulations on purchasing this device. Please read the following instructions carefully and follow them to prevent possible damages. We assume no liability for damage caused by disregard of the instructions and improper use. Scan the QR code to get access to the latest user manual and more product information.
CONTENT
- Safety Instructions 14
- Device Overview 16
- Installation 16
- Commissioning and Operation 19
- Cleaning and Maintenance 20
- Hints on Disposal 22
- Manufacturer & Importer (UK) 22
TECHNICAL DATA
| Item number | 10035700, 10035701 |
| Power supply | 220-240 V ~ 50/60 Hz |
SAFETY INSTRUCTIONS
- Do not use the hob until you have read these instructions. The hob is only intended for household use.
- The appliance becomes hot during operation. Be careful not to touch the hot surface.
- Direct contact with the hob during operation can cause burns!
- Keep children under 8 years of age away from the appliance unless they are under constant supervision. Keep babies and small children in particular away from the appliance and ensure that they cannot touch the hob at any time. If it is unavoidable for children to be in a room with the appliance, make sure that they are supervised at all times.
- Children over the age of 8 and persons with reduced physical, sensory or mental capabilities or those with a lack of experience and knowledge may only use the appliance if they are instructed on how to do so by a person responsible for their safety, or if they are supervised and understand the hazards associated with the use of the appliance.
- Cleaning and user maintenance of the appliance may only be carried out under supervision by children over 8 years of age.
- Children must not play with the appliance.
- Ensure that small household appliances and their power cords do not come into contact with the hob, as the insulating material of these appliances is not normally resistant to high temperatures.
- Do not leave the hob unattended during frying. Oils and fats can catch fire from overheating or boiling over.
- Do not switch the hob on until a pot or pan has been placed on it.
- Do not place a pot or pan weighing more than 25 kg on the hob.
- Do not use the hob in the event of a technical fault. All faults must be rectified by a suitably qualified specialist.
- In the event of a malfunction or damage to the hob caused by a technical malfunction, disconnect the power supply and contact the manufacturer, customer service or a specialist company so that the damage can be rectified.
- The rules and regulations contained in this manual must be strictly observed. Do not allow anyone who is not familiar with the contents of this manual to operate the hob.
- The hob should not be cleaned with a steam cleaner.
- All adjacent furniture, housings and all materials used for installation must be heat-resistant and must be able to withstand, during operation, a minimum temperature of 85 °C above the ambient temperature of the room in which they are located. Do not move cabinets closer than 4 mm to the appliance. The manufacturer cannot be held responsible for any damage caused by failure to comply with these specifications regarding the heat resistance of materials and the specified minimum distances for installing the appliance.
- This appliance complies with all applicable European safety regulations. However, the surfaces of the appliance may become very hot during use and continue to give off heat even after it has been switched off.
- Never attempt to extinguish a fi re with water, but switch the appliance off and then cover the flame with a lid or blanket, for example.
WARNING
Risk of fi re! Do not place any objects (except pots and pans) on the hob surface.
- Switch-off devices must be installed in the fi xed wiring in accordance with the wiring rules.
- Make sure that electrical fi ttings or cables do not come into contact with hot surfaces of the appliance.
- Do not use the appliance to heat the room in which it is located or to dry clothes.
- Do not install the appliance near curtains or furnishings made of soft materials.
- If the power cord is damaged, it must be replaced by the manufacturer, the costumer service or a similarly qualifi ed person to avoid any hazard.
- Never use the appliance in combination with an external timer or remote control.
WARNING
Risk of electric shock! If the surface shows cracks, switch off the appliance to avoid possible electric shock. Do not use the appliance if it is damaged.
- Never leave pans and pots containing fat- and oil-based dishes unattended on the switched-on hotplate, as hot fat tends to catch fi re very quickly.
WARNING
Risk of injury! Only use hob guards designed by the hob manufacturer or specifi ed as suitable by the appliance manufacturer in these instructions, or hob guards integrated into the appliance. The use of unsuitable protective devices can cause accidents.
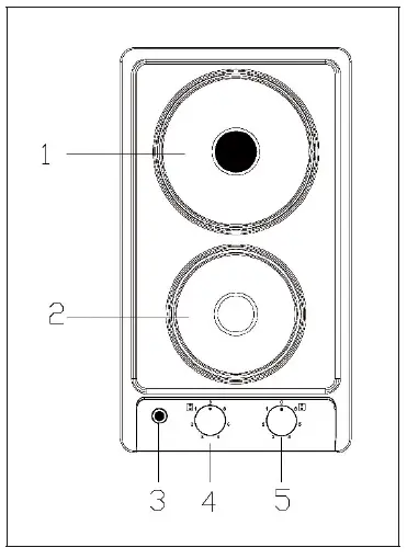
DEVICE OVERVIEW
- 2000 W plate
- 000 W plate
- Indicator light
- Control knob
- Control knob
INSTALLATION
Installing the cooker hob
- The area where the hob is installed should be dry and adequately ventilated. During installation, make sure that all controls are easily accessible.
- This is a Y-type design built-in ceramic, which means that its back wall and one side wall can be placed next to a high piece of furniture or a wall. Coating or veneer used on fitted furniture must be applied with a heat-resistant adhesive (100 °C). This prevents surface deformation or detachment the coating.
- Hoods should be installed according to the manufacturer’s instructions.
Assembly of the cooker hob
- Cut an opening for the hob out of the worktop, taking into account the dimensions shown in the figure below.
- Check seal for perfect fit and overall cover. Lower the electric hob into place and align correctly.
- Using a standard screwdriver, tighten the tension clamps evenly starting at the centre and moving diagonal, until the built-in rim is tight on the worktop.

Installation dimensions
Fitting guidelines

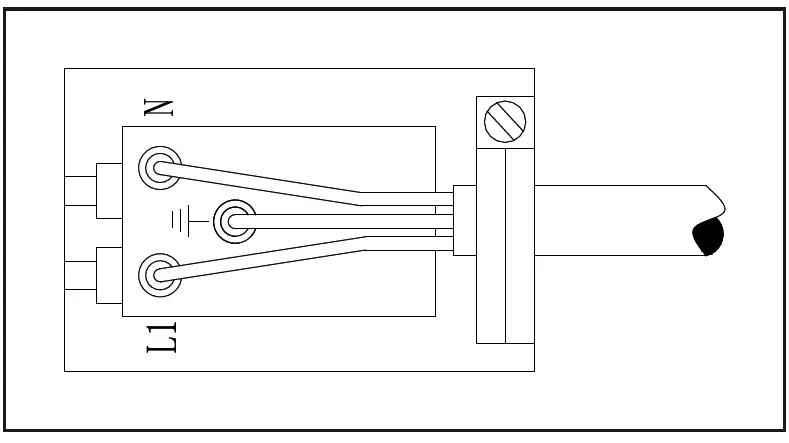
The cooker hob is manufactured to work with two-phase alternating current (400 V 2N~50 Hz). The voltage rating of the cooker hob heating elements is 230 V. Adapting the cooker hob to operate with one-phase current is possible by appropriate bridging in the connection box according to the connection diagram below. The connection diagram is also found on the cover of the connection box. Remember that the connection wire should match the connection type and the power rating of the cooker hob. The connection cable must be secured in a strain-relief clamp.
Replacing the mains supply cable
If the mains supply cable is damaged, then it must be replaced by an appropriate replacement. The mains supply cable should be replaced in accordance with the following instructions:
- Switch the appliance off at the control switch.
- Open the terminal block on the underside of the hob.
- Unscrew the terminal screws fixing the cable.
- The “green-yellow” earth wire must be connected to the terminal marked . It must be about 10 mm longer than the live and neutral wires.
- The “blue” neutral wire must be connected to the terminal marked with letter (N) – the live wire must be connected to the terminal marked with letter (L).

COMMISSIONING AND OPERATION
Before first use
- Remove packaging, clean the interior of the hob.
- Switch on the ventilation in the room or open a window.
How to use the hot plate
The level of heat can be adjusted gradually by turning the appropriate knob to the right or left. Switching on the plate results in a green signal light on the control panel turning on. An appropriately selected pan saves energy. A pan should have a thick, flat base with a diameter equal to the plate diameter as in that case is transferred most efficiently.
Notes on using the hotplate
- Ensure the heating plate is clean – a soiled zone does not transfer all of the heat.
- Protect the plate against corrosion.
- Switch off the plate against corrosion.
- Do not leave pans and pots containing fat- and oil-based dishes unattended on the switched-on hotplate, as hot fat tends to catch fire very quickly.
Heat level selection
CLEANING AND MAINTENANCE
Cleaning
- The stainless ornamental rings can be cleaned using washing liquids or gentle liquid scrubbing agents and wiped dry.
- The surface of the hotplates should be regularly polished with white mineral oil or silicone oil. Never use animal or vegetable fats like butter, lard, oil etc. for the purpose.
- The enamel working plate should be cleaned using warm water with a bit of washing liquid. Larger stains can be removed using gentle scrubbing liquids.
Cleaning instructions
| What? | How? | Important! |
| Everyday soiling on surface (fingerprints, marks, stains left by food or non- sugary spillovers on the surfache) | 1. Switch the power to the electric hob off. 2. Apply an electric hob cleaner while the electric hob is still warm (but not hot!) 3. Rinse and wipe dry with a clean cloth or paper towel. | • When the power to the electric hob is switched off, there will be no ‘hot surface’ indication but the cooking zone may still be hot! Take extreme care. • Heavy-duty scourers, some nylon scourers and harsh/abrasive cleaning agents may scratch the surface. Always read the label to check if your cleaner or scourer is suitable. • Never leave cleaning residue on the electric hob: the surface may become stained. |
| Spillovers on the power regulating controls | 1. Switch the power to the electric hob off. 2. Soak up the spill. 3. Wipe the power regulating control area with a clean damp sponge or cloth. 4. Wipe the area completely dry with a paper towel. | • Make sure you wipe the power regulating control area dry before turning the electric hob back on. |
Repair and maintenance
CAUTION
Risk of injury and material damage! All repairs and maintenance should be carried out by the manufacturer, customer service or a qualified specialist. Do not attempt to repair the appliance yourself.
- Contact costumer service if your appliance does not operate as described in this manual.
- Please note that if an engineer is asked to attend whilst the product is under guarantee and finds that the problem is not the result of an appliance fault, then you may be liable for the cost of the call out charge.
- The appliance must be accessible for the engineer to perform any necessary repair. If your appliance is installed in such a way that an engineer is concerned that damage will be caused to the appliance or your kitchen, then he will not complete a repair.
HINTS ON DISPOSAL
If there is a legal regulation for the disposal of electrical and electronic devices in your country, this symbol on the product or on the packaging indicates that this product must not be disposed of with household waste. Instead, it must be taken to a collection point for the recycling of electrical and electronic equipment. By disposing of it in accordance with the rules, you are protecting the environment and the health of your fellow human beings from negative consequences. For information about the recycling and disposal of this product, please contact your local authority or your household waste disposal service. This product contains batteries. If there is a legal regulation for the disposal of batteries in your country, the batteries must not be disposed of with household waste. Find out about local regulations for disposing of batteries. By disposing of them in accordance with the rules, you are protecting the environment and the health of your fellow human beings from negative consequences.
MANUFACTURER & IMPORTER (UK)
Manufacturer:
Chal-Tec GmbH, Wallstrasse 16, 10179 Berlin, Germany.
Importer for Great Britain:
- Chal-Tec UK limited
- Unit 6 Riverside Business Centre
- Brighton Road
- Shoreham-by-Sea
- BN43 6RE
- United Kingdom





















