STOVAX RVST-2HTNZ Studio 2 Clean-Air Freestanding Wood Fire Installation Guide
Unparalleled presence, clean-air technology.
The Stovax Studio range balances presence with Key Features efficiency and heating performance. A selection from this peerless range of contemporary fires will add gravity and style to any interior. It represents the pinnacle of British fire design, engineering and technical innovation.
This Studio 2 Clean-Air freestanding model has been specifically designed to meet stringent air quality standards. It is suitable for installation in most New Zealand airsheds.
*ECAN NO: CRC 133649
Approved to National Environmental Standards (NES)
Key Features
- Architecturally inspired design
- Low emission wood burner*
- High heat output fire
- Landscape viewing window, with Airwash
- Minimal ash and cleaning
Product Specifications
Firebox Model #: RVST-2HTNZ
Firebox Cabinet #: RVST-2FSZCB
Average Heat Output: 12kW
Emissions: 1g/kg
Efficiency: 66%
Fuel Source: Wood
Weight: 265kg

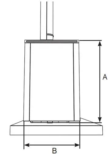
Cabinet Dimensions

| Dimensions | A | B | C | D | E | Flue dia. |
| (mm) | 780 | 515 | 1410 | 290 | 790 | 150 |
Installation Information
IMPORTANT: PLEASE REFER TO COMPREHENSIVE INSTALLATION INSTRUCTIONS PRIOR TO CONSTRUCTION AND INSTALLATION DOWNLOAD FROM: www.thefireplace.co.nz

Distance to Wall Dimensions
| Wall Clearances | E & F Heat Resistant | E Combustible | F Combustible |
| (mm) | 100 | 100 | 450 |

Floor Protector Minimum Dimensions
| Floor Protector | A | B | C | D |
| (mm) | 1600 | 24 | 300 | 920 |
Options & Accessories
Steel Bench (mm) 1410w x 300h x 515
Exclusive New Zealand Distributor Your Local Retailer

The Fireplace Ltd Ph: 09 623 6990
12 Tawari Street, Mt Eden
Email: [email protected]
Auckland 1024, New Zealand www.thefireplace.co.nz


















