MINN KOTA 1820089 Battery Charger Extension Cable
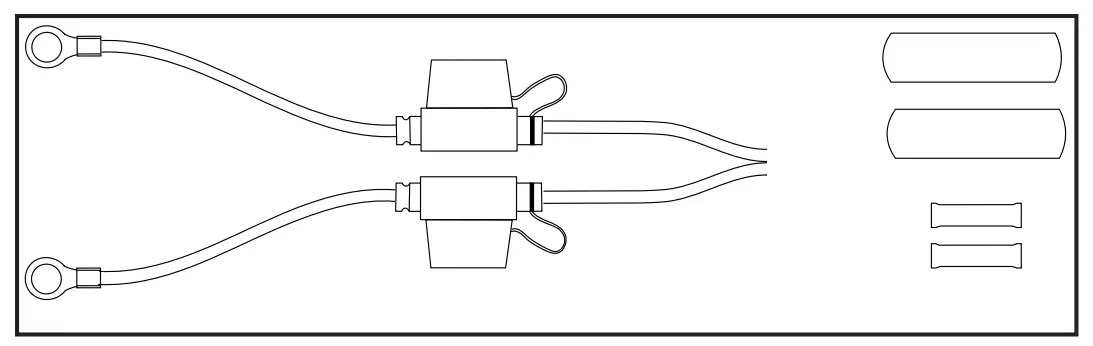
Parts Included
| Description | Qty. |
| 15ft Extension Cable | 1 |
| Wire Splice | 2 |
| Adhesive Heat Shrink | 2 |

INSTALLING THE MK-EC EXTENSION CABLE ACCESSORY
The Minn Kota Battery Charger Output Extension Cables are ideal for extending charger output cables that do not reach bow, center or transom battery compartments. Featuring easy installation with waterproof adhesive heat shrink for use in saltwater environments. Each conductor is fused for protection against accidental short circuits.
TOOLS AND RESOURCES REQUIRED
- Wire Cutters
- Crimpers
- Wire Strippers
- Heat Gun
OVERVIEW
- Remove AC power from your charger and disconnect the charger from ALL batteries.
- Open the door or hatch of the compartment and allow it to air out for 15 minutes. This allows any gasses that have accumulated in the compartment to escape.
- Find the charger output cable you would like to extend and use the wire cutters to cut the red or white (positive) and black (negative) wires before the fuse holders
NOTE: Some output cables will have a temperature sensor in the cable covered by heat shrink. You must cut above the temperature sensor to avoid damaging the sensor (see Figure 1)
- Remove the loose pieces of insulation from the ends of the extension cable wires and crimp the black (negative) wire into the
Wire Splice connector using the crimpers (see Figure 2).
- Strip the charger output cable wires 3/8” if they are 12AWG. Strip the output wires 3/4” if they are 14AWG or 16AWG.
- Place one of the Adhesive Heat Shrinks over the Wire Splice and onto the black extension cable wire.
- For 12AWG wire, insert the black charger output cable into the Wire Splice and crimp using the crimpers. For 14AWG or 16AWG wire, fold the stripped black charger output wire in half before inserting and crimping the wire.
- Center the Adhesive Heat Shrink over the Wire Splice. Using the heat gun, warm the Adhesive Heat Shrink until it seals the connection.
- Repeat steps 4 through 8 for connecting the red or white (positive) wires to the Wire Splice.
- Prepare each battery in advance by cleaning off dirt, oil, battery corrosion, etc. Use a water and baking soda solution for cleaning corrosion. Wipe using a dry cloth.
- Route the output extension cable away from sharp objects. Do not remove the fuse holders, since fuses are located on both the positive and negative wires for protection in case of a short circuit
- Now connect the extension cable to the battery. Be sure to connect the black (negative -) ring terminal to the negative battery post and connect the red (positive +) ring terminal to the positive battery post.|
SAFETY INFORMATION
IMPORTANT SAFETY INSTRUCTIONS SAVE THESE INSTRUCTIONS!
Before connecting your batteries or AC power, please read through the instructions and safety information contained on the battery charger and batteries.
WARNING: Risk of explosive gases. Working in the vicinity of a lead acid battery is dangerous. Batteries contain sulfuric acid and produce explosive gases. A battery explosion could result in loss of eyesight or serious burns. For this reason, it is of utmost importance that before using the battery charger, you read this manual and follow the instructions exactly.
To reduce the risk of battery explosion, follow these instructions and those published by the battery manufacturer for any equipment you intend to use in the vicinity of the battery. Review cautionary markings on these products and on engine, motor or other equipment requiring battery usage.
PERSONAL PRECAUTIONS
- Someone should be within range of your voice or close enough to come to your aid when you work near a lead acid battery.
- Have plenty of fresh water and soap nearby in case battery acid contacts skin, clothing or eyes.
- Wear complete eye protection and clothing protection. Avoid touching eyes while working near battery.
- If battery acid contacts skin or clothing, wash immediately with soap and water. If acid enters eye, immediately flood eye with running cold water for at least 10 minutes and get medical attention immediately.
- Never smoke or allow a spark or flame in vicinity of battery, engine, motor or other flammable or explosive equipment.
PREPARING TO CHARGE
- If necessary to remove battery from boat or vehicle to charge or maintain, always remove grounded terminal from battery first (if applicable). Make sure all accessories in the boat or vehicle are off, so as not to cause an arc.
- Be sure area around battery is well ventilated while battery is being charged or maintained. Gas can be forcefully blown away by using a piece of cardboard or other nonmetallic material as a fan.
- Clean battery terminals. Be careful to keep corrosion from coming in contact with eyes.
- Add distilled water in each cell until battery acid reaches level specified by battery manufacturer. Do not overfill. For a battery without removable cell caps, such as valve regulated lead acid batteries, carefully follow manufacturer’s recharging instructions.
- Study all battery manufacturers’ specific precautions while charging and for recommended rates of charge.
- If an AC extension cord must be used, make sure:
a. That pins of plug of the AC extension cord are the same number, size and shape of those of the plug on the battery charger;
b. That AC extension cord is properly wired and in good electrical condition;
c. That wire in AC extension cord is proper size according to the chart: - When using an AC extension cord, connect the AC plug on the charger first. Then the AC extension cord must be connected to a Ground Fault Interrupt (GFCI) protected outlet.
- When disconnecting the charger, always unplug the power cord from the outlet first.
25′ AC Ext. Cord 50′ AC Ext. Cord 100′ AC Ext. Cord MK106PC/MK110PC/MK212PC/MK106D/MK210D AWG Size 18 18 16 MK440PC/MK345PC/MK440D AWG Size 16 12 10 MK220PC/MK230PC/MK318PC/MK330PC/MK220D/MK315D/MK330D AWG Size 16 16 12 MK460PC AWG Size 14 12 10
For warranty information please visit www.minnkotamotors.com
minnkotamotors.com
Minn Kota Consumer & Technical Service Johnson Outdoors Marine Electronics, Inc. PO Box 8129 Mankato, MN 56001|
121 Power Drive
Mankato, MN 56001
Phone (800) 227-6433
Fax (800) 527-4464
©2018 Johnson Outdoors Marine Electronics, Inc. All rights reserved.






















