SYMA X5UW-D 2.4G Gyro Remote Control Series 720p Positioning Aerial Drone with Adjustable Camera

MAIN FEATURES
- Utilizes the 4-axis structure, enabling the drone to be even more flexible and speedy. It suitable for both spacious indoor & outdoor areas.
- Built-in 6-axis gyro stabilizer, barometer and optical flow sensor to ensure the accuracy of inflight position.
- Be capable of 360°stunt flip function.
- Headless function makes it easier for directional control.
- Auto take-off and landing function make it easier and safer to control.
- HD adjustable camera with real-time transmission function for getting the fun of aerial photography.
- Smartphone control is available.
Safety Guide
- Please store the small sized drone accessories in the place that is out of the reach of children.
- This drone is very powerful. For all first-time flights, the left joystick must be slowly pushed up in order to prevent the drone from ascending too fast to avoid unnecessary collision and possible damage and injury.
- When you finish the fly, please firstly turn off the power of the remote control, then turn off the power of the drone.
- Keep the batteries out of high temperature / heat areas.
- Take extra pre-caution to ensure the drone is with a minimum height of 15 feet from the pilot, crowd, or animals in order to avoid any injury during the flight operation. A minimum separation distance of 20cm must be maintained between the pilot and the device under any conditions.
- This drone is recommended for user ages 12+. It should always under the visual of the pilot (or instructor) to ensure safety fly.
- Non-rechargeable batteries should not be recharged; Batteries should be inserted with a correct polarity; Different types of batteries, new or used batteries should not be mixing.
- When the drone is not in use, please remove the batteries from the remote control.
- The supply terminals should not be short-circuited.
- To maximize the battery life, discharge the battery level to 40-50% (upon fully charged, use for flying for half of the total estimated flying time) if the drone will not be used for 10 days or more.
- Please keep a safe distance from the spinning propellers to avoid injury.
- To ensure the electromagnetic environment requirement of the aviation radio (station), it is forbidden to fly the drone in a radius of about 5000m against the circle centre. All users should also follow the regulation or rules set by the government within the territory.
- Only use the recommended transformer for the aircraft, and it is not part of the aircraft. Therefore, disconnect the transformer from the aircraft before cleaning. Check the cord, plug, enclosure and other parts of the transformer regularly. If any damages are found, please stop using it immediately unless it is repaired.
- Never look steadily at the laser beam due to the laser radiation.
- Attention: Drone assembly under adult supervision.
- Pilot should be taking the responsible for the safe operation: keep the safe distance from the crowds, property, other aircrafts users, and shall never fly the drone on top of the crowds. (> 12 persons)
- Open the battery cover of the toy with screwdriver.
- The packing has to be kept since it contains important information.
Repair and Maintenance
- Use dry and soft cloth to clean this product.
- Avoid exposing this product to heat.
- Do not immerse this product in water, otherwise, the electronic parts will be damaged.
- Transformer used with the aircraft should be examined regularly, such as the cord, plug, enclosures and other parts. In case of any damages is found, please stop using it unless it is repaired or replaced.
Package Description
The following items can be found Inside this product package:

Installation of Protective Gear

Insert the protective gear into the drone as shown.
Camera’s Installation and Dismantling Methods
Camera’s installation procedures:
- Connect the camera’s wire connector to the drone.

- Place the camera into the drone and rotate the camera counterclockwise to lock.
Camera’s dismantling procedures:
- Rotate the camera in the clockwise direction.

- Take out the camera upward and disconnect the wire connector from the drone.
Installation of Mobile Phone Retaining Clip
Mobile phone retaining clip’s attachment method:
- Pull up the phone clip cover from behind the remote control.

- Insert the phone clip holder into the connector at the top of the remote control.

- Press the handles to adjust the jaws.
Battery Changing and Charging Methods for Drone
- Press the power button on the top of the drone to make sure the drone is “OFF”.

- Press the fixed components at the bottom of the battery and pull out the battery.
- Connect the battery power cord to the USB Charging Cable, then connect the USB interface to the computer. (The indicator light of the drone will turn on while charging, and turn off when charging completed. It takes about 130 minutes to completely charge the battery.)

- After charging completed, replace the battery into the drone.
The charging time is about 130 minutes, hover flight time is approximately 7 minutes.
Precautions as follows during charging of battery:
- Avoid placing the active batteries in places with direct exposure, sunlight and high temperatures. For example, naked light or electrical equipment installations; otherwise it may cause damages or explosions.
- Avoid immersing the batteries in the water. The batteries shall be stored in a cool and dry place.
- Avoid dismantling the batteries.
- During the charging of battery, avoid leaving the charging place.
- Rechargeable batteries should be removed from the toy before being charged.
- Rechargeable batteries are only to be charged under adult supervision.
- Exhausted batteries are to be removed from the toy.
- Caution: Risk of explosion if battery replaced by an incorrect type, dispose of used batteries according to the instructions.
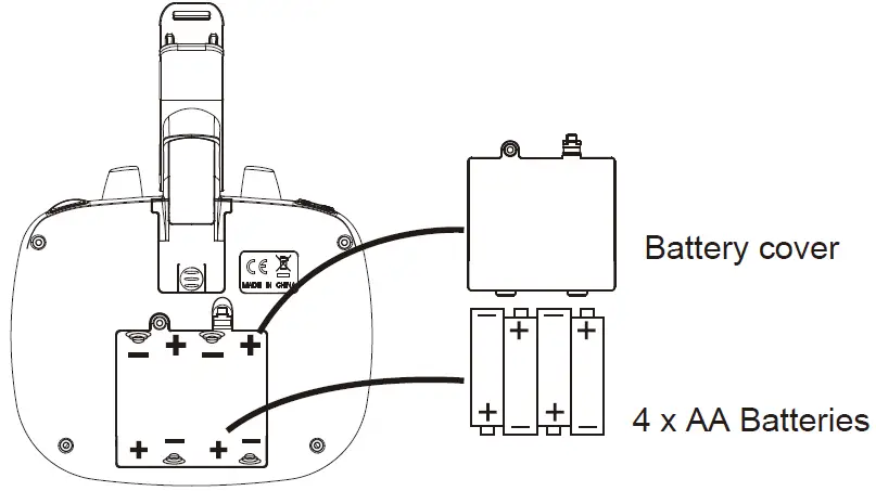
Understanding Your Remote Control
Remote control’s button function description:

Battery installation for remote control:

Battery Installation Method: Open up the battery cover at the back of the remote control. Correctly place 4 x AA alkaline batteries in the battery box in strict adherence to the polarity instructions ( batteries are not included).
- During the battery installation, it must be ensured that the polarities of the batteries are matched with that of the battery box. No battery shall be installed with the opposite polarity.
- Please do not use new and old batteries together.
- Please do not use different types of batteries together.
- Do not use rechargeable batteries.
Flight Preparation and Turning the Drone ON and OFF
- Flight preparation
Step1:Press the power button of the remote control.
Step 2:Install the drone battery in place.
Step 3:Press and hold the power button on the top of the drone to make sure the drone is turned “ON”.
Step 4:Push the left joystick (throttle) up to the highest point and then pull down to the lowest point. When the indicator lights in the drone change from quick flashing to the continuous lighting, it means that the drone goes into the flight standby mode. - Turning on the drone
Method 1:Push the left joystick (throttle) to the highest point and then back to the center, the blades of the drone start rotating slowly.
Method 2:Push the left and right joysticks to the bottom inner corners for 1 second, the blades of the drone start rotating slowly.
Method 3:When the drone is stationary, press the button B, the drone automatically takes off and hovers at a certain height.- If the drone is out of the range of the flight, the indicator light will flash slowly, and then slow down.
- When the remote control is switched off or the power is cut off, the drone will automatically slow down to stop.ln the process , open the remote control to control again.
- Turning off the drone
Method 1:Push the left joystick (throttle) to the lowest level and hold for 2 to 3 seconds, the drone can then be turned off.
Method 2:Push the left and right joysticks to the bottom inner corners for 1 second, and the drone can be turned off.
Method 3:When the drone is in flight, press the button B, the drone will descend to the ground and lands.
Drone Controlling Diagram
Operting direction
Ascending and descending control

When the left joystick (throttle) is pushed upwards or downwards, the drone will ascend or descend correspondingly.
Forward and backward control

When the right joystick (rudder) is pushed upwards or downwards, the drone will fly forward or backward correspondingly.
Left turning and right turning control

When the left joystick (throttle) is pushed towards the left or right, the drone will turn left or right correspondingly.
Left side flying and right side flying control

When the right joystick (rudder) is pushed towards the left or right, the drone will fly sideways on the left or right correspondingly.
Trimming operation
Forward and backward trim control

If the drone automatically flies forward/backward while hovering, press in the left joystick and at the same time push the right joystick backward/forward slightly to fine tune the direction. Don’t release the left joystick until the drone is flying in a stable state.
Left/right side flight trim control

If the drone automatically flies towards the left/right side while hovering, press in the left joystick and at the same time push the right joystick right/left slightly to fine-tune the direction. Don’t release the left joystick until the drone is flying in a stable state.
Left/right side turning trim control

If the drone automatically rotates and flies towards the left/right side while hovering, press in the left joystick and at the same time move it to the
right/left slightly to fine tune the direction. Don’t release the left joystick until the drone is flying in a stable state.
Product Features
- Low-Voltage Protection:
When the four indicator lights at the bottom of drone start flashing, it means that the drone’s battery power is low. At this time, please control the drone return.
- Over-Current Protection:
When the drone encounters direct impact from a foreign object, or is obstructed, or the blades are not rotating, the drone will go into the over-current protection mode. - Level Calibration Function:
Place the drone on a level surface and at the same time, push both left and right joysticks to the lower right corners for 2 to 3 seconds; the indicator lights on the drone will blink rapidly, and they will return to solid status after about 2 to 3 seconds. The level calibration is successful.
- High/Low Speed Function:
Low speed by default when first powered-on. Possible to switch the function mode of high/low speed by pressing the right joystick for a short time. It is switched into high speed mode when two ”beep” sounds come from the remote control, pressing the right joystick for a short time under fast speed mode and then one “beep” sound would come from the remote control,then it is switched back into low speed mode. - 360°Stunt Flip Function:

When you are familiar with the basic actions, you can proceed to explore even more exciting stunt actions. Fly the drone to a height of above 3 m above the ground, press the upper right corner button (Stunt Flip Button) on the remote control and simultaneously push the right joystick to the farthest position of Front/Back/Left/Right, the drone will now execute the Front/Back/Left/Right stunt flip function.
Note: The drone will have the best stunt flip action when the batteries are fully charged. - Photo/ Video Shooting Function:
- Photo shooting function: Press the Photo button, the drone indicator and the red indicator light on the camera will flash once when the photo has been taken.
- Video shooting function: Press the Video button, the drone indicator and the indicator light on the camera will flash twice, and then turn long bright, it indicates the video is recording, press the Video button again, the indicator light on the drone is long bright, indicating the recording is complete.
- Adjustable function of camera

As shown on the right, press the button A or B to adjust the camera angle in corresponding upward or downward. - Optical Flow Hover & Auto Hover Function:
- Optical flow hover function:
When the drone is turned on, the drone will automatically start the optical flow positioning function when hovering in the air, and the drone will remain stationary at a certain point.
Note:1.Achieve fixed-point accuracy of about 0.5 meters.
If the light is dark, the ground reflects,the height is greater than 12 meters,or the wind is above level 2, the optical flow positioning will influenced under these conditions, at this time the indicator light of the drone will be flashing three times. - Auto hover function:
After using the left joystick (throttle) to control the ascending/descending flight of the drone, release the left joystick (throttle) and the drone will hover at that height when the joystick is released.
- Optical flow hover function:
- Headless Function:
- Defining forward direction:
- Press on the power button of the remote control.

- Connect the battery to the drone, press the power button of the drone, and adjust the specified direction of the drone’s head under the headless mode as the new forward direction.

- Push the left joystick (throttle) on the remote control up to the farthest position and then pull down to the farthest position. When the remote control issues a long “beep” sound, it means the frequency and defining forward direction functions are completed.
- Press on the power button of the remote control.
- Toggling between headless function and normal function:
- After the drone is matched with the corresponding frequency, the drone would be in normal pattern by default. At this time the indicator light on the drone would be in a state of on for a long time. After pressing in on the right joystick of the remote control for 2 seconds, the remote control would make a sound of “beep, beep, beep” to show that it has entered into a state of headless mode. Press in the right joystick for 2 seconds then a long sound of “beep” would be heard to show an exit status. (When under the state of headless mode, four indicator lights on the drone flash slowly once every four seconds).

- Under the headless mode, the operator does not need to differentiate the head position of the drone, and only needs to control the drone’s direction front/back/left/right by using the right joystick direction on the remote control.

- After the drone is matched with the corresponding frequency, the drone would be in normal pattern by default. At this time the indicator light on the drone would be in a state of on for a long time. After pressing in on the right joystick of the remote control for 2 seconds, the remote control would make a sound of “beep, beep, beep” to show that it has entered into a state of headless mode. Press in the right joystick for 2 seconds then a long sound of “beep” would be heard to show an exit status. (When under the state of headless mode, four indicator lights on the drone flash slowly once every four seconds).
- Calibration for the definition of the front:

When the drone encounters a direct impact with foreign objects in the headless mode, if there is an occurrence of deviation of the defined direction, it is only required to push both the left and right joysticks to the bottom left corners simultaneously after placing the flying direction of the drone in the correction position. When the LED indicator of the drone turn to solid after slowly flashing for 3 seconds, it indicates the calibration is complete.
- Defining forward direction:
- Wireless Real-Time Transmission Function
- Downloading the installation software
For Android phones,download and install the SYMA FLY APP by visiting the www.symatoys.com or by scanning the QR code.
For IOS Apple phones,download and install the SYMA FLY APP by visiting the App Store or by scanning the QR code.
Tips: QR codes are provided on the packaging box and at the bottom of the user manual. Please visit website www.symatoys.com or the App Store/Google Play to obtain the newest SYAM FLY App. - For more information on the connection, see the APP operating instructions.
- Downloading the installation software
Warning: Changes or modifications to this unit not expressly approved by the party responsible for compliance could void the user’s authority to operate the equipment.
NOTE: This equipment has been tested and found to comply with the limits for a Class B digital device, pursuant to Part 15 of the FCC Rules. These limits are designed to provide reasonable protection against harmful interference in a residential installation. This equipment generates, uses and can radiate radio frequency energy and, if not installed and used in accordance with the instructions, may cause harmful interference to radio communications.
However, there is no guarantee that interference will not occur in a particular installation. If this equipment does cause harmful interference to radio or television reception, which can be determined by turning the equipment off and on, the user is encouraged to try to correct the interference by one or more of the following measures:
- Reorient or relocate the receiving antenna.
- Increase the separation between the equipment and receiver.
- Connect the equipment into an outlet on a circuit different from that to which the receiver is connected.
- Consult the dealer or an experienced radio/TV technician for help.
“This device complies with FCC radiation exposure limits set forth for general population (uncontrolled exposure).
This device must not be collocated or operating in conjunction with any other antenna or transmitter.”
Decoration of Conformity lnserts:
“Hereby, GuangDong Syma model drone lndustrial co.,ltd, declares that this drone is in compliance with the essential requirements and other relevant provisions of Directive 2014/53/EU.”
A copy of the full DoC is attached.
Accessories /Parts List (Optional)
You can choose your favourite optional accessories as below. In order to make it easier for the customers to choose and purchase, we have specially offered each and every accessory. The accessories can be purchased through the local distributors. Please kindly specify the colours during your purchase.

Product Descriptions

| NO. | Product Name | Qty. | NO. | Product Name | Qty. | NO. | Product Name | Qty. |
| 01 | Top Main Body | 1 | 07 | Motor(Clockwise Direction) | 2 | 13 | Main Stand | 4 |
| 02 | Bottom Main Body | 1 | 08 | Motor(Counter- clockwise Direction) | 2 | 14 | Power Button | 1 |
| 03 | Blade(Clockwise Direction) | 2 | 09 | Landing Gear | 4 | 15 | Top Body Cover | 1 |
| 04 | Blade(Counter- clockwise Direction) | 2 | 10 | Lamp Cover | 4 | 16 | Battery Fastener | 1 |
| 05 | Protective Gear | 4 | 11 | Plating Object | 4 | 17 | Receiver Board | 1 |
| 06 | Battery | 1 | 12 | Camera | 1 | 18 | Optical Flow Board | 1 |
Main Specifications

Rectification Procedures
| Problem | Reason | Solution |
| The drone has no response | 1. The drone has entered into low-voltage protection. 2. When the power of the remote control is weak,the power light indicator will blink. | 1. Charge up the drone. 2. Change the batteries of the remote control. |
| The flight response of the drone is not sensitive | 1. The power of the remote control is weak. 2. There is an interference with the same frequency as that of the remote control. | 1. Change the batteries. 2. Change to a place where there is no interference with the same frequency. |
| The drone is flying towards its side in one direction during hovering |
1. The drone is not calibrated level to the ground. | 1. Re-adjust the calibration until the drone is level to the ground. For further details, see No.3 on Page 9 for details(Level calibration function). |
| Problem | Reason | Solution |
| In the headless state, it is biased towards the front direction | 1. Many collisions may cause head drift. | 1. Re-define the front direction. For further details, see No. 9 Page 11 for details(Headless function). |
|
Fixed high instability / up and down movement |
1. The drone is not calibrated level to the ground. 2. Unstable air pressure under the severe weather condition. 3. Violent collision resulting in data disorder of gyroscope. | 1. Re-adjust the calibration until the drone is level to the ground. For further details, see No.3 on Page9 for details(Level calibration function). 2. Avoid to fly under the severe weather condition. 3. Make level adjustment again, see No.3 on Page 9 for details (Level calibration function). |
Manufacturer
Guangdong Syma Model drone Industrial Co., Ltd.
The Crossing of No.2 West Xingye Road and North Xingye Road,Laimei.
Industrial Park Chenghai District Shantou City Guangdong China.
Contact person:SYMA Telephone:+86 0754 86381898
The company has the right of final interpretation of this instruction manual statement.
Sell area:Europe

















If the light is dark, the ground reflects,the height is greater than 12 meters,or the wind is above level 2, the optical flow positioning will influenced under these conditions, at this time the indicator light of the drone will be flashing three times.






















