HARBOR FREIGHT 5798 Worm Gear Hand Winch Owner’s Manual
Save This Manual Keep this manual for the safety warnings and precautions, assembly, operating, inspection, maintenance and cleaning procedures. Write the product’s serial number in the back of the manual near the assembly diagram (or month and year of purchase if product has no number).
Keep this manual and the receipt in a safe and dry place for future reference.
![]()
Read this material before using this product.
Failure to do so can result in serious injury.
SAVE THIS MANUAL.
| WARNING SYMBOLS AND DEFINITIONS | |
| This is the safety alert symbol. It is used to alert you to potential personal injury hazards. Obey all safety messages that follow this symbol to avoid possible injury or death. | |
| Indicates a hazardous situation which, if not avoided, will result in death or serious injury. | |
| Indicates a hazardous situation which, if not avoided, could result in death or serious injury. | |
| Indicates a hazardous situation which, if not avoided, could result in minor or moderate injury. | |
![]() | Addresses practices not related to personal injury. |
Important Safety Information
WARNING! Read all instructions.
Failure to follow all instructions may result serious injury and/or DEATH.
The warnings and precautions discussed in this manual cannot cover all possible conditions and situations that may occur. It must be understood by the operator that common sense and caution are factors which cannot be built into this product, but must be supplied by the operator.
Installation Precautions

- Prevent entanglement. Do not wear loose clothing or jewelry, as they can be caught in moving parts.
Non-skid footwear is recommended.
Wear restrictive hair covering to contain long hair. - Wear ANSI-approved safety goggles and heavy-duty leather work gloves during installation.
- Before installation confirm that area is clear of fuel lines, brake lines, electrical wires, gas tanks or any other component which could be damaged during drilling.
- Mounting location and hardware must support Winch and load.
- Use supplied Wire Rope listed in manual only. Do not use thinner/longer wire ropes or link multiple wire ropes together.
- Install Winch in underwind orientation, so that the Wire Rope enters and exits the Winch at the bottom of the Drum.
Operation Precautions

- Prevent entanglement. Do not wear loose clothing or jewelry, as they can be caught in moving parts.
Non-skid footwear is recommended.
Wear restrictive hair covering to contain long hair. - Wear ANSI-approved safety goggles and heavy-duty leather work gloves during installation.
- Before installation confirm that area is clear of fuel lines, brake lines, electrical wires, gas tanks or any other component which could be damaged during drilling.
- Mounting location and hardware must support Winch and load.
- Use supplied Wire Rope listed in manual only. Do not use thinner/longer wire ropes or link multiple wire ropes together.
- Install Winch in underwind orientation, so that the Wire Rope enters and exits the Winch at the bottom of the Drum.
Operation Precautions

- Do not exceed load capacity. Be aware of dynamic loading! Sudden load movement may briefly create excess load causing product failure.
- Verify load is within rated capacity. If any part of the Winch starts to bend, deform, or show any signs of damage, STOP using the Winch immediately.
- Use double line rigging whenever possible.
See Double Line Rigging on page 8. - Wear ANSI-approved safety goggles and heavy-duty leather work gloves during operation.
- Do not try to guide Wire Rope while winching.
- Stay out of the direct line that the Wire Rope is pulling. If it slips or breaks, it will “whiplash” along this line. Place heavy blanket or rug (not included) over Wire Rope span 6 feet from Hook to help absorb the force released if the Wire Rope breaks. (See Figure A)

Figure A: Whiplash Dampening Blanket or Rug - Do not use for lifting or moving people.
- Use a spotter to assist you in ensuring that it is safe to operate the Winch. Make sure the spotter is out of the way of the load and the Wire Rope before activating the Winch.
- Use as intended only.
Do not lift items vertically or use for aircraft purposes. - Prevent entanglement. Do not wear loose clothing or jewelry, as they can be caught in moving parts.
Non-skid footwear is recommended.
Wear restrictive hair covering to contain long hair. - Inspect before every use; do not use if damaged or parts loose. Examine the Winch for structural cracks, bends, damage, frayed or kinked Wire Rope, and any other conditions that may affect the safe operation of the Winch. Do not use the Winch even if minor damage appears. A kink permanently weakens the Wire Rope, even after it is straightened out; kinked Wire Rope can fail suddenly and must not be used.
- Keep Wire Rope straight to avoid kinking it. The illustrations below show how a kink forms and how to prevent kinking.
a. This illustration shows a kink about to form. At this point the Winch should be stopped and the Wire Rope should be straightened out to prevent kinking.
b. This Wire Rope is kinked. It is too late to reverse the damage at this point, the Wire Rope must be discarded. It is permanently damaged and must not be used.

c. This is a kinked Wire Rope that has been straightened out. Even though it has been pulled straight, some wires in the Wire Rope are stretched, and others are severely bent, if not broken. The unstretched wires will take more load and can fail suddenly before the rope reaches its capacity. This Wire Rope must be discarded and not be used.
A kink permanently weakens the Wire Rope, even after it is straightened out; kinked Wire Rope can fail suddenly and must not be used. - Keep children and bystanders away while operating.
Distractions can cause you to lose control. - Stay alert, watch what you are doing and use common sense when operating.
Do not use a Winch while you are tired or under the influence of drugs, alcohol or medication.
A moment of inattention while operating Winches may result in serious personal injury. - Do not overreach. Keep proper footing and balance at all times. This enables better control of the Winch in unexpected situations.
- Hook onto the object using a pulling point, tow strap or chain. Do not wrap the Wire Rope around the load and hook onto the Wire Rope itself. This can cause damage to the load being pulled, and kink or fray the Wire Rope.
- Do not use a Recovery Strap while winching.
They are designed to stretch and can suddenly whip back towards the operator during a winching operation. - Secure load after moving.
NO LOCKING MECHANISM. - Keep at least 5 full turns of Wire Rope on Drum. The Wire Rope’s connection to the Drum is not intended to sustain a load, without the added support from the friction of at least 5 full turns of Wire Rope.
- Keep clear of Wire Rope, Hook, and load while winching. Do not step over Wire Rope.
Do not push sideways against Wire Rope under tension; Wire Rope might break under this load and recoil back, striking the person pushing against it or a bystander. - If Wire Rope begins to get entangled, stop Winch immediately and release tension on Wire Rope.
- Do not operate the Winch at extreme angles.
Do not exceed the angles shown in Figure B.
Figure B: Maximum Winching Angles - If the load to be pulled must be pulled at an angle in relation to the Winch, use a pulley (sold separately) and an anchor point directly in front of the Winch, as shown in Figure C, to keep the Wire Rope pull straight.

Figure C: Pulley Anchoring - Broken strands of Wire Rope will be sharp.
Wear heavy-duty leather work gloves when handling the Wire Rope. Do not slide Wire Rope through hands, even with gloves on.
Service Precautions

- Wear ANSI-approved safety goggles and heavy-duty leather work gloves during service.
- Use supplied Wire Rope listed in manual only. Do not use thinner/longer Wire Ropes or link multiple Wire Ropes together.
- Have the Winch serviced by a qualified repair person using only identical replacement parts. This will ensure that the safety of the Winch is maintained.
- Maintain labels and nameplates on the Winch.
These carry important safety information.
If unreadable or missing, contact Harbor Freight Tools for a replacement.
SAVE THESE INSTRUCTIONS.
Symbology
| Symbol | Property or Statement |
![]() | Wear heavy-duty, cut- and abrasion–resistant leather gloves. |
![]() | Wear ANSI-approved safety glasses. |
![]() | Cut or sever hazard. |
![]() | Roller entanglement hazard. |
| Symbol | Property or Statement |
![]() | Do not loop the wire rope around load and hook onto itself. |
![]() | Do not use winch in overwind orientation. (Wire rope enters/exits at the top.) |
![]() | use winch only in underwind orientation. (Wire rope enters/exits at the bottom.) |
| G5 | Grade 5 A fastener strength rating. |
Specifications
| Rated Single Line Pull | 2,000 lb |
| Gear Ratio | 40:1 |
| Drum Size | Ø1-1/2″ x 5-1/4″ |
| Hook | 5/8″ Clevis, with Spring-loaded Safety Latch |
| Wire Rope Size | Ø3/16″ x 25′ |
| Mounting Plate | 5-3/4″ x 5-5/8″ |
| Mounting Hardware | G5, 3/8″ bolts and lock nuts (sold separately) |
| Weight | 12.6 lb |
Components

Assembly and Installation Instructions
Read the ENTIRE IMPORTANT SAFETY INFORMATION section at the beginning of this manual including all text under subheadings therein before set up or use of this product.
Attaching the Handle
Attach the Handle by securing with the Nut.
Installing the Wire Rope
- Route the Wire Rope end under Bushing and through the Hole to outside of Drum.
- Loosen the Nut, then install the Wire Rope under the Wire Rope Clamp. (See Figure D:)
- Tighten the Nut securely.

Mounting the Winch
Note: This Winch can generate extreme forces.
Select a mounting location that can withstand the rated capacity without damage or weakening.
Steel reinforcement plates may be needed or a certified welder may need to weld on additional bracing depending on the mounting location.
- When choosing mounting location, make sure that the Handle will be able to rotate 360 degrees freely.
- Place Winch on mounting surface and mark the locations of the mounting holes that fit your application.
- Before drilling, verify that the mounting surface has no hidden components or structural pieces that will be damaged.
- Drill holes appropriate for the proper hardware (sold separately), described under Specifications on page 5, at the marked locations.
- Secure the Winch with the hardware.
Preparing the Wire Rope
Note: The Wire Rope must be properly wrapped on the Drum to be able to support a load without damaging the Wire Rope.
- Turn the Handle clockwise, carefully wrapping the Wire Rope onto the Drum. Tightly pack the coils side by side so the next layers cannot slip down between the coils.
- When finished, attach the Hook to the Bushing.
Lubricating the Gears
Lubricate the Ring and Worm Gears with gear grease.
Operation Instructions
Read the ENTIRE IMPORTANT SAFETY INFORMATION section at the beginning of this manual including all text under subheadings therein before set up or use of this product.
The instructions that follow are basic guidelines only and cannot cover all situations encountered during use. The operator and assistants must carefully plan usage to prevent accidents.
![]()
BEFORE USE, verify load is within rated capacity. If any part of the Winch starts to bend, deform, or show any signs of damage, STOP using the Winch immediately.
- Note: This Winch is equipped with a Shear Pin which will break to prevent an overweight load from causing Winch failure. Keep extra Shear Pins on hand in case it needs to be replaced. Only replace with Shear Pin replacement part 13 from Parts List on page 11.
(See Shear Pin Replacement on page 9.) - Examine the Wire Rope. Do not use the Winch if the Wire Rope is frayed, kinked or damaged.
- Remove the Hook from the Bushing and route the Hook under the Bushing.
(See Figure D: on page 6) - Turn Handle counterclockwise to let out the Wire Rope.
WARNING! TO PREVENT SERIOUS INJURY: Leave at least five full turns of Wire Rope on the Drum. - Hook onto the load using a pulling point or chain.
Do not wrap the Wire Rope around the load and hook onto the Wire Rope itself.
This can damage the load being pulled, and kink or fray the Wire Rope. - Attachment point must be centered in loop of Hook and the Hook’s safety clasp must be fully closed. Do not attach load to point of Hook. (See Figure E)

Figure E: Correct and Incorrect Hook Attachment - Do not use a recovery strap while winching.
They are designed to stretch and can suddenly whip back towards the operator during a winching operation. - Place a heavy blanket or rug (not included) over the Wire Rope span, 6 feet from the Hook to help absorb the force released if the Wire Rope breaks. (See Figure A)

Figure A: Whiplash Dampening Blanket or Rug
WARNING! TO PREVENT SERIOUS INJURY:
Do not allow anyone to stand near the Wire Rope, or in line with the Wire Rope behind the Winch while it is under a load. If the Wire Rope should slip or break, it can suddenly whip back towards the Winch, causing a hazard for anyone in the area.
Stand well to the side while winching.
Double Line Rigging
a. A double line system should be used whenever possible. It reduces the load on the Winch, allowing it to work longer with less heat buildup.
It reduces load on the Winch in two ways:- It utilizes the lower layers of Wire Rope that have higher capacity, and
- It halves the load on the Winch through pulley action.
b. Connect the Wire Rope for a double line system as shown in . Use a pulley block (sold separately) properly rated for the load to be pulled and designed to be operated with this Winch’s Wire Rope.
Figure F: Double Line Setup
c. Loop the Wire Rope around the pulley and connect to a separate anchor point. Do not anchor the Wire Rope back to the Winch or winch mount.
- Do not operate the Winch at extreme angles.
Do not exceed the angles shown in Figure B.
Figure B: Maximum Winching Angles - If the load to be pulled must be pulled at an angle in relation to the Winch, use a pulley (sold separately) and an anchor point directly in front of the Winch, as shown in Figure C, to keep the Wire Rope pull straight.

Figure C: Pulley Anchoring - When it is safe to do so, turn the Handle clockwise to reel in the Wire Rope.
- When winching operation is finished, secure the load.
- Turn the Handle counterclockwise to release tension on the Wire Rope so that you can move the blanket or rug and unfasten the Hook from the load.
- Turn the Handle clockwise and reel in the Wire Rope. Refer to instructions for Preparing the Wire Rope.
IF THE HANDLE SUDDENLY MOVES FREELY AND THE DRUM WILL NOT MOVE, the Shear Pin has broken to prevent an overweight load from causing Winch failure.
WARNING! To prevent serious injury and death from catastrophic Winch failure, only replace with Shear Pin replacement part 13 from Parts List.
During normal operation, the Worm Gear (6), Worm Gear Shaft (5) and Shear Pin (21) rotate together by turning the Handle.
When the Shear Pin breaks, the Worm Gear Shaft and middle section of the Shear Pin continue to rotate while the Worm Gear and broken Shear Pin pieces do not rotate.
The Winch will not operate unless the Shear Pin is replaced.

Figure G:
Shear Pin Replacement
- If possible, shift the load to another winch before replacing the Shear Pin.
- Locate the Shear Pin on the bottom of the Worm Gear.

- Shine a light behind the Shear Pin, then slowly rotate the Handle until you can see the light, indicating the broken pieces of the Shear Pin are lined up.
- Using a pin punch and hammer (both sold separately), tap the end of the Shear Pin to force the pieces out of the hole.
- Insert a new Shear Pin into the hole and tap it in until centered. Only replace with genuine replacement part.
Maintenance and Servicing
Procedures not specifically explained in this manual must be performed only by a qualified technician.
![]()
TO PREVENT SERIOUS INJURY FROM WINCH FAILURE:
Do not use damaged equipment. If abnormal noise or vibration occurs, have the problem corrected before further use.
Cleaning, Maintenance, and Lubrication
- BEFORE EACH USE, inspect the general condition of the Winch. Check for:
- loose hardware,
- misalignment or binding of moving parts,
- cracked or broken parts,
- frayed, kinked or damaged Wire Rope,
- and any other condition that may affect its safe operation.
- AFTER USE, wipe external surfaces of the Winch with clean cloth.
- PERIODICALLY, lubricate the Wire Rope with a light oil. Lubricate the Gears with gear grease.
Wire Rope Replacement
- Reel the old Wire Rope all the way out by turning the Handle counterclockwise.
- STAY CLEAR, the Wire Rope end is under tension and may suddenly whip out! Carefully loosen the Nut and remove the old Wire Rope from underneath the Wire rope Clamp.
- Remove the old Wire Rope from underneath the Wire Rope Clamp.
- Remove the old Wire Rope.
WARNING! To prevent serious injury and death, do not replace with inferior Wire Rope. Only use a Wire Rope rated to the same rating cited on the Specifications chart on page 5 or better. - Route new Wire Rope end under Bushing and through the Hole to the outside of the Drum. (See Figure I)
- Install the Wire Rope under the Wire Rope Clamp.
- Tighten the Nut securely.

Figure I: Wire Rope Replacement - Reel new Wire Rope onto Drum by turning the Handle clockwise, being careful not to allow kinking. Refer to instructions for Preparing the Wire Rope on page 6.
- Test Winch for proper operation.
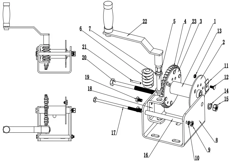
Parts List and Diagram
| Part | Description | Qty |
| 1 | Drum | 1 |
| 2 | Drum Plate A | 1 |
| 3 | Drum Plate B | 1 |
| 4 | Worm Gears | 1 |
| 5 | Worm Gear Shaft | 1 |
| 6 | Worm Gear | 1 |
| 7 | Axis Guide | 2 |
| 8 | Frame | 1 |
| 9 | Bushing Nut M8 | 1 |
| 10 | Gasket | 1 |
| 11 | Wire Rope Clamp | 1 |
| 12 | Wire Rope Bolt | 1 |
| Part | Description | Qty |
| 13 | Wire Rope Nut M6 | 1 |
| 14 | Gasket | 1 |
| 15 | Drum Nut M12 | 1 |
| 16 | Drum Bushing | 1 |
| 17 | Bushing Bolt | 1 |
| 18 | Worm Bracket | 1 |
| 19 | Worm Bolt | 2 |
| 20 | Drum Bolt | 1 |
| 21 | Shear Pin | 1 |
| 22 | Handle Arm | 1 |
| 23 | Flat Head Rivet M6 | 6 |

Record Product’s Serial Number Here:
Note: If product has no serial number, record month and year of purchase instead.
Note: Some parts are listed and shown for illustration purposes only, and are not available individually as replacement parts. Specify UPC 193175487384 when ordering parts.
PLEASE READ THE FOLLOWING CAREFULLY
THE MANUFACTURER AND/OR DISTRIBUTOR HAS PROVIDED THE PARTS LIST AND ASSEMBLY DIAGRAM IN THIS DOCUMENT AS A REFERENCE TOOL ONLY. NEITHER THE MANUFACTURER OR DISTRIBUTOR MAKES ANY REPRESENTATION OR WARRANTY OF ANY KIND TO THE BUYER THAT HE OR SHE IS QUALIFIED TO MAKE ANY REPAIRS TO THE PRODUCT, OR THAT HE OR SHE IS QUALIFIED TO REPLACE ANY PARTS OF THE PRODUCT. IN FACT, THE MANUFACTURER AND/OR DISTRIBUTOR EXPRESSLY STATES THAT ALL REPAIRS AND PARTS REPLACEMENTS SHOULD BE UNDERTAKEN BY CERTIFIED AND LICENSED TECHNICIANS, AND NOT BY THE BUYER. THE BUYER ASSUMES ALL RISK AND LIABILITY ARISING OUT OF HIS OR HER REPAIRS TO THE ORIGINAL PRODUCT OR REPLACEMENT PARTS THERETO, OR ARISING OUT OF HIS OR HER INSTALLATION OF REPLACEMENT PARTS THERETO.
Limited 90 Day Warranty
Harbor Freight Tools Co. makes every effort to assure that its products meet high quality and durability standards, and warrants to the original purchaser that this product is free from defects in materials and workmanship for the period of 90 days from the date of purchase. This warranty does not apply to damage due directly or indirectly, to misuse, abuse, negligence or accidents, repairs or alterations outside our facilities, criminal activity, improper installation, normal wear and tear, or to lack of maintenance. We shall in no event be liable for death, injuries to persons or property, or for incidental, contingent, special or consequential damages arising from the use of our product. Some states do not allow the exclusion or limitation of incidental or consequential damages, so the above limitation of exclusion may not apply to you. THIS WARRANTY IS EXPRESSLY IN LIEU OF ALL OTHER WARRANTIES, EXPRESS OR IMPLIED, INCLUDING THE WARRANTIES OF MERCHANTABILITY AND FITNESS.
To take advantage of this warranty, the product or part must be returned to us with transportation charges prepaid. Proof of purchase date and an explanation of the complaint must accompany the merchandise. If our inspection verifies the defect, we will either repair or replace the product at our election or we may elect to refund the purchase price if we cannot readily and quickly provide you with a replacement. We will return repaired products at our expense, but if we determine there is no defect, or that the defect resulted from causes not within the scope of our warranty, then you must bear the cost of returning the product.
This warranty gives you specific legal rights and you may also have other rights which vary from state to state.
Visit our website at: http://www.harborfreight.com
Email our technical support at: [email protected]
When unpacking, make sure that the product is intact and undamaged. If any parts are missing or broken, please call 1-888-866-5797 as soon as possible.
Copyright© 2022 by Harbor Freight Tools®. All rights reserved.
No portion of this manual or any artwork contained herein may be reproduced in any shape or form without the express written consent of Harbor Freight Tools.
Diagrams within this manual may not be drawn proportionally. Due to continuing improvements, actual product may differ slightly from the product described herein.
Tools required for assembly and service may not be included.

26677 Agoura Road • Calabasas, CA 91302 • 1-888-866-5797












Do not wrap the Wire Rope around the load and hook onto the Wire Rope itself.























