
User Manual
Dolomite® Gloss®

This manual MUST be given to the user of the product.
BEFORE using this product, this manual MUST be read and saved for future reference.
General
1.1 Introduction
This user manual contains important information about the handling of the product. To ensure safety when using the product, read the user manual carefully, and follow the safety instructions.
Note that there may be sections in this document, which are not relevant to your product since this document applies to all available models (on the date of printing). If not otherwise stated, each section in this document refers to all models of the product.
The models and configurations available in your country can be found in country-specific sales documents.
Invacare reserves the right to alter product specifications without further notice.
Before reading this document, make sure you have the latest version. You find the latest version as a PDF on the Invacare website.
If you find that the font size in the printed document is difficult to read, you can download the PDF version from the website. The PDF can then be scaled on the screen to a font size that is more comfortable for you.
For more information about the product, for example, product safety notices and product recalls, contact your Invacare distributor. See addresses at the end of this document.
In case of a serious incident with the product, you should inform the manufacturer and the competent authority in your country.
1.2 Symbols in this Document
Symbols and signal words are used in this document and apply to hazards or unsafe practices which could result in personal injury or property damage. See the information below for definitions of the signal words.
WARNING
Indicates a hazardous situation that could result in serious injury or death if it is not avoided.
CAUTION
Indicates a hazardous situation that could result in minor or slight injury if it is not avoided.
IMPORTANT
Indicates a hazardous situation that could result in damage to property if it is not avoided.
Tips and Recommendations
Gives useful tips, recommendations, and information for efficient, trouble-free use.
1.3 Compliance
Quality is fundamental to the company’s operation, working within the disciplines of ISO 13485.
This product features the CE mark, in compliance with the Medical Device Regulation 2017/745 Class I. The launch date of this product is stated in the CE declaration of conformity.
We are continuously working towards ensuring that the company’s impact on the environment, locally and globally, is reduced to a minimum.
We only use REACH-compliant materials and components.
1.4 Service Life
The expected service life of this product is five years when used daily and in accordance with the safety instructions, maintenance intervals, and correct use, stated in this manual. The effective service life can vary according to frequency and intensity of use.
1.5 Warranty Information
We provide a manufacturer’s warranty for the product in accordance with our General Terms and Conditions of Business in the respective countries.
Warranty claims can only be made through the provider from whom the product was obtained.
1.6 Limitation of Liability
Invacare accepts no liability for damage arising from:
- Non-compliance with the user manual
- Incorrect use
- Natural wear and tear
- Incorrect assembly or set-up by the purchaser or a third party
- Technical modifications
- Unauthorized modifications and/or use of unsuitable spare parts
Safety
2.1 General Safety Information
WARNING!
Risk of Serious Injury or Damage
Improper use of this product may cause injury or damage.
– If you are unable to understand the warnings, cautions, or instructions, contact a health care professional or provider before attempting to use this equipment.
– Do not use this product or any available optional equipment without first completely reading and understanding these instructions and any additional instructional material such as the user manual, service manual, or instruction sheet supplied with this product or optional equipment.
WARNING!
Risk of Serious Injury
Incorrect use can lead to hazardous situations.
– Do not use stairs or escalators.
– Do not stand on the product.
– Be careful when walking on sloping or slippery ground or on uneven surfaces.
– Avoid walking against obstacles, both forward and backward.
– Do not let children play with the product.
– Make sure that no clothes, such as long skirts, can get stuck on the wheels.
– Do not use the product to transport a person.

CAUTION!
Risk of Injury
The unbalanced or heavy load may lead to overturning.
– Do not hang any loads, such as bags, to the frame, the push handles, or hand knobs.
– Only carry loads with the designated equipment, like baskets or trays. Do not exceed the maximum load for the equipment.
– The total load, including the weight of the user and any additional load, must not exceed the maximum user weight.
– Refer to chapter 7 Technical Data, page 18 for maximum user weight and load information.
CAUTION!
Risk of Injury
Non-original or wrong parts may affect the function and safety of the product.
– Only use original parts for the product in use.
– Due to regional differences, refer to your local Invacare catalog or website for available options or contact your Invacare distributor. See addresses at the end of this document.
CAUTION!
Risk of First Degree Burns
Parts of the product may heat up when exposed to high temperatures (above 41° C).
– Be careful if the product is exposed to high temperatures, e.g. direct sunlight.
IMPORTANT!
There is a risk of damage due to wear, e.g. corrosion.
– Do not use the product under water, e.g. in pools.
– Do not use the product in hot areas like saunas.
– Do not store the product in wet or humid environments.
2.2 Labels and Symbols on the Product Identification label

| A Product name B Part number C Date of manufacture D Serial number | E Maximum user weight F Maximum width G Manufacturer address |
Symbols
![]() | European Conformity | Medical Device | |
![]() | Manufacturer | ![]() | Read user manual |
| Date of manufacture | Serial number | ||
| Maximum width | Maximum user weight | ||
| Indoor / Outdoor use |
Product Overview
3.1 Product Description
The four-wheeled walking aid is equipped with a central seat that can be folded up for storage and transportation. The front wheels are steering wheels. Rear wheels are provided with a brake system for slowing down and for locking the wheels. The walking aid is available in different sizes and can be equipped with a wide range of accessories.
3.2 Intended Use
The walking aid is intended to support during walking and may also serve as a resting seat.
The walking aid is suitable for indoor and outdoor use on even ground.
The intended user is an adult with a maximum user weight as stated on the product label and in chapter 7 Technical Data, page 18.
3.3 Indications for Use
Indications
Persons with impaired muscle strength and/or balance, need additional support whilst walking. The remaining walking and cognitive ability must be sufficient for the safe use of a walking aid.
Contraindications
Persons with severe equilibrium disorders or functional perceptual disorders. 1637696-D
3.4 Scope of Delivery and Main Parts

A Push handles with hand brakes
B Frame
C Rear wheels with brake system
D Front wheels
E Seat
F User manual
G Location of the identification label
The product is delivered fully assembled.
3.5 Accessories
Various accessories, like a basket/bag, are available for this product and can be found in country-specific sales documents. Depending on the configuration accessories may be pre-assembled.
Usage
4.1 Before Use
CAUTION!
Risk of Injury or Damage to Property
– Before use, verify the general functionality of the product.
– Before use, check the product for any defects.
– Do not use a defective product.
Invacare presumes a healthcare professional has made an individual assessment of the user to determine his risk level or therapy requirements. Providers and carers have assessed that the product gives the required support and that its adjustments are appropriate for the user. Carer and user have been appropriately trained by a healthcare professional on how to use the product correctly and safely.
4.2 Folding and Unfolding
Unfolding to Operating Position
WARNING!
– Before use, always make sure that the rollator is fully unfolded and the lock is engaged.

- Release the fixation strap, if attached.
- Pull the push handles outwards.
- Press on the seat until the rollator is fully unfolded.
When in operating position, the release handle of the seat will “click” into a locked position.
Folding
CAUTION!
Risk of injury or damage
When lifting the unfolded rollator at the seat, it can accidentally fold and cause injury.
– Always lift the rollator at the frame and the push handles.
– Do not touch the release handle when lifting the unfolded rollator.
CAUTION!
Risk of pinching
– Be careful when folding the rollator.
- Stand next to the rollator and pull the release handle A.
2. Lift seat B upwards. - Press the push handles C inwards to fold the rollator.
For storage and transport, the rollator can be fixed in folded position:

- Attach the fixation strap A to both knobs.
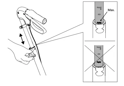
4.3 Adjusting the Handle Height
WARNING!
Risk of falling
– Always ensure that the hand knobs are tightened securely to prevent the handle from unintended lowering.
– Do not set the handles above their highest allowed position, indicated by the marking on the tubes.
If the user is not supposed to adjust the height of the handles, e.g. for safety reasons, the hand knobs can be replaced by locking screws (available as an accessory).
Recommended height: The handles should be positioned at wrist height when standing straight with relaxed arms. The therapist may suggest different heights depending on the specific needs of the client.
- Loosen the hand knob, but do not remove it.
- Adjust the handle to a suitable height.
- Retighten the hand knob. Press on the handle to check for a secure fit.
- Repeat the procedure on the other side.
For a more comfortable hand position, you may swivel the handles to point inwards. A locking mechanism prevents exceeding the maximum allowed angle.

4.4 Walking
WARNING!
Risk of falling
– Be careful if the wheels stop against an obstacle, e.g. a curb.
- Place the walking aid slightly in front of you and take a step towards it while using the hand grips for support.
4.5 Sitting Down on a Chair

- Stand in front of the chair with the walking aid, the back of your legs should touch the chair.
- Lock both hand brakes of the walking aid.
- Place your hands on the arms of the chair, lean forward slightly and sit down carefully.
4.6 Rising to a Standing Position
WARNING!
Risk of tipping
– Do not use the walking aid to pull yourself up from a sitting position.

- Place the walking aid in front of you and lock both hand brakes.
- Use the armrests of the chair as support and rise carefully to a standing position.
- Once stable in a standing position, transfer hands to the hand grips of the walking aid.
4.7 Sitting on the Walking Aid
WARNING!
Risk of Falling
– Use the walking aid for stationary seating only.
– Before sitting down, lock both brakes in the parking position and make sure the walking aid stands stable.
– Always sit on the walking aid from the rear side. Do not sit down from the front side.
– Do not sit on the walking aid on sloping ground.
– Do not maneuver the walking aid with your feet while sitting on it.
4.8 Using the Hand Brakes

- To slow down, pull both brakes handles upwards.
- To move again, carefully let go of both brake handles.
Locking the Hand Brakes in Parking Position

- To lock the hand brakes, press both brake handles downwards.
An audible click indicates that the brake is locked position. - To unlock and release the hand brakes, pull both brake handles upwards.
Adjusting the Braking Effect
WARNING!
Risk of Injury
If the braking effect is too low, the rollator can move, even if the hand brakes are locked in the parking position.
– Check the braking effect by applying the brake and verify that the wheel cannot rotate.
If the counter nut is not tightened, it could loosen and the hand brakes won’t work anymore.
– After each adjustment, make sure that the counter nut is tightened properly.
8 + 10 mm spanner (not included)
The brake handle must be in the unlocked position to adjust the braking effect.
- Loosen the counter nut A.
- To decrease the braking effect, turn the adjusting nut
B clockwise.
To increase the braking effect, turn the adjusting nut
B counterclockwise.
(The distance between the brake clamp and the wheel should be 2 mm.) - Tighten the counter nut A properly to fix the new adjustment.
4.9 Attaching the Basket
- Hang the basket on the attachment horns.
- Fixate the basket with hook-and-loop straps on both sides of the frame.
Maintenance
5.1 General Maintenance Information
WARNING!
Risk of Injury
– Maintenance should be done at least once a year.
– Do not use a defective product.
– Do not attempt repairs yourself. For repairs contact your provider.
5.2 Inspection Checklist
To ensure good performance and safety, inspect your product regularly.
Ensure that all screws and adjustments are properly tightened.
Ensure that hand grips are tight.
If hand grips are loose do not use the walking aid.
Instructions on how to change hand grips can be obtained from your provider or Invacare distributor.
Verify brake operation.
If brake adjustment is required, see chapter 4 Usage, page 10.
Inspect the frame and loaded parts for cracks.
Inspect the wheels’ tightness, wear, and damage.
Make sure that the wheels are free of hair, lint, and other debris.
5.3 Cleaning and Disinfection
5.3.1 General Safety Information
CAUTION!
Risk of Contamination
– Take precautions for yourself and use appropriate protective equipment.
IMPORTANT!
Wrong fluids or methods can harm or damage the product.
– All cleaning agents and disinfectants used must be effective, and compatible with one another, and must protect the materials they are used to clean.
– Never use corrosive fluids (alkalines, acid, etc.) or abrasive cleaning agents. We recommend an ordinary household cleaning agent such as dishwashing liquid, if not specified otherwise in the cleaning instructions.
– Never use a solvent (cellulose thinner, acetone, etc.) that changes the structure of the plastic or dissolves the attached labels.
– Always make sure that the product is completely dried before taking it into use again.
For cleaning and disinfection in clinical or long-term care environments, follow your in-house procedures.
5.3.2 Cleaning Intervals
IMPORTANT!
Regular cleaning and disinfection enhance smooth operation increases the service life and prevents contamination.
Clean and disinfect the product
– regularly while it is in use,
– before and after any service procedure,
– when it has been in contact with anybody’s fluids,
– before using it for a new user.
5.3.3 Cleaning Instructions
The product can be cleaned in a washing machine or by hand.
When using a high-pressure cleaner or an ordinary jet of water, do not aim the jet towards bearings, draining holes, or labels.
The maximum cleaning temperature is 60 °C. Do not use a steam cleaner.
- Clean the walking aid with a damp cloth and mild detergent.
- Clean the wheels with a brush (no wire brush).
- After cleaning, wipe the product dry.
Disinfection
- Wipe down all generally accessible surfaces with disinfectant.
Information on recommended disinfectants and methods can be found at https://vah-online.de/en/for-users.
After Use
6.1 Disposal
Be environmentally responsible and recycle this product through your recycling facility at its end of life.
Disassemble the product and its components, so the different materials can be separated and recycled individually.
The disposal and recycling of used products and packaging must comply with the laws and regulations for waste handling in each country. Contact your local waste management company for information.
6.2 Reconditioning
This product is suitable for reuse. To recondition the product for a new user, carry out the following actions:
- Inspection
- Cleaning and disinfection
For detailed information, see 5 Maintenance, page 15, and the service manual for this product.
Make sure that the user manual is handed over with the product.
If any damage or malfunction is detected, do not reuse the product.
Technical Data
7.1 Dimensions and Weights

| [mm] | Gloss 450 | Gloss 520 | Gloss 600 | Gloss 680 |
| Total width A | 520 | 595 | 600 | 610 |
| Total height B | 635 – 770 | 725 – 860 | 795 – 920 | 915 – 1050 |
| Seat width C | 370 | 445 | 445 | 445 |
| Seat height Ⓓ | 450 | 520 | 600 | 680 |
| Total length E | 615 | 675 | 720 | 790 |
| Width when folded | 190 | 190 | 190 | 190 |
| Recommended user height | 1250 – 1600 | 1400 – 1650 | 1500 – 1850 | 1650 – 2050 |
| Front/ rear wheel diameter | 200 | |||
| Front/ rear wheel width | 40 | |||
All dimensions are subject to certain tolerances.
| [kg] | Gloss 450 | Gloss 520 | Gloss 600 | Gloss 680 |
| Weight1 | 5.9 | 6.3 | 6.5 | 6.8 |
| Max. user weight2 | 160 | |||
| Max. load basket | 7.0 | |||
| Max. load tray | 5.0 | |||
7.2 Material
| Frame | Polyester powder-coated aluminum |
| Handlebars | Anodised aluminum |
| Hand grips | TOP |
| Wheels | Polypropylene with treads of TPE |
| Plastic parts | Material according to marking (PA, PP) |
| Screws | Steel, rust protected |
- Total weight excluding equipment.
- This weight limitation includes the weight of the user, whether standing or sitting and any additional load, e.g. the content of the basket.
Invacare Distributors

United Kingdom:
Invacare Limited
Pencoed Technology Park, Pencoed
Bridgend CF35 5AQ
Tel: (44) (0) 1656 776 222
Fax: (44) (0) 1656 776 220
[email protected]
www.invacare.co.uk
Invacare Rea AB
Växjövägen 303
SE-343 71 Diö
Sweden
Making Life’s Experiences Possible®





















