
Refrigerator
User manual

UR584APW – UR584APS – UR4584S – UR4584W
57 1012 0000/AT
![]()
Please read these instructions first before using your appliance
Thank you for choosing a Beko appliance.
Please take some time to read this user manual before using your appliance, to ensure you know how to safely operate the controls and functions.
Carefully follow all unpacking and installation instructions to ensure the appliance is correctly connected and fitted prior to use.
Please write your product model and serial number on the last page of this user manual, and store in a safe location close to the appliance for easy future reference.
This user manual may also be applicable for several other models. Differences between models will be listed.
If you have any questions or concerns, please call our contact centre or find help and information online at www.beko.co.uk
Symbols and their descriptions
This instruction manual contains the following symbols:
Important information or useful usage tips.
Warning against dangerous conditions for life and property.
Warning against electric voltage.
INFORMATION
The model information as stored in the product data base can be reached by entering following website and searching for your model identifier (*) found on energy label.
https://eprel.ec.europa.eu/
Your refrigerator
Congratulations on your choice of a Beko quality Appliance which has been designed to give you service for many years.
| 1. Freezing compartment & ice tray | 5. Crisper cover | 9. Egg tray |
| 2. Interior light & Thermostat knob | 6. Crisper | 10. Bottle shelf |
| 3. Movable shelves | 7. Adjustable front feet | 11. Top trim |
| 4. Defrost water collection channel Drain tube | 8. Door shelves |
Figures that take place in this instruction manual are schematic and may not correspond exactly with your product. If the subject parts are not included in the product you have purchased, then it is valid for other models.
Warnings
- Do not connect your appliance to the electricity supply until all packing and transit protectors have been removed.
- If transported horizontally leave to stand upright for at least 4 hours before switching on to allow compressor oil to settle
- If you are discarding an old refrigerator with a lock or latch fitted to the door, disable the lock/latch, ensure that it is left in a safe condition to prevent the entrapment of young children.
- This fridge/freezer must only be used for its intended purpose i.e the storing and freezing of edible foodstuff.
- Do not dispose of the appliance on a fire. At Beko, the care and protection of our environment is an ongoing commitment. This appliance which is among the latest range introduced is particularly environment friendly. Your appliance contains non CFC / HFC natural substances in the cooling system (Called R600a) and in the insulation (Called cyclopentane) which are potentially flammable if exposed to fire. Therefore, take care not to damage, the cooling circuit / pipes of the appliance in transportation and in use. In case of damage do not expose the appliance to fire or potential ignition source and immediately ventilate the room where the appliance is situated.
- We suggest you contact your local authority for disposal information and facilities available.
- To obtain the best possible performance and trouble free operation from your appliance it is very important to carefully read these instructions.
- On delivery, check to make sure that the product is not damaged and that all the parts and accessories are in perfect condition.
- Ensure that the plug remains readily accessible. Do not use multiple adapter or extension cable.
- Failure to observe these instructions may invalidate your right to free service during the guarantee period.
- Keep ventilation openings, in the appliance enclosure or in the built-in structure, clear of obstruction.
- Do not damage the refrigerant circuit.
- Do not use electrical appliances inside the food storage compartments of the appliance, unless they are of the type recommended by the EN manufacturer.
- We suggest you keep these instructions in a safe place for easy reference.
- This appliance can be used by children aged from 8 years and above and persons with reduced physical, sensory or mental capabilities or lack of experience and knowledge if they have been given supervision or instruction concerning use of the appliance in a safe way and understand the hazards involved. Children shall not play with the appliance. Cleaning and user maintenance shall not be made by children without supervision.
- Children should be supervised to ensure that they do not play with the appliance.
Electrical requirements
Before you insert the plug into the wall socket make sure that the voltage and the frequency shown on the rating plate inside the appliance corresponds to your electricity supply. Rating label is on the left hand side of fridge inner liner. We recommend that this appliance be connected to the mains supply via a suitable switched and fused socket. The appliance must be positioned so that the plug is accessible.
WARNING:
When positioning the appliance ensure the supply cord is not trapped or damaged.
Should the mains lead of the appliance become damaged or should it need replacing at any time, it must be replaced by a special purpose made mains lead which can only be obtained from a Beko authorised service agent.
Warning! This appliance must be earthed
If the fitted moulded plug is not suitable for your socket, then the plug should be cut off and an appropriate plug fitted. Destroy the old plug which is cut off as a plug with bared cord could cause a shock hazard if inserted into a socket elsewhere in the house. The moulded plug on this appliance incorporates a 13 A fuse. Should the fuse need to be replaced an ASTABEAB approved BS 1362 fuse of the same rating must be used. Do not forget to refit the fuse cover. In the event of losing the fuse cover the plug must not be used until a replacement fuse cover has been fitted. Colour of the replacement fuse cover must be the same colour as that visible on the pin face of the plug. Fuse covers are available from any good electrical store.
Important! Fitting A Different Plug
- As the colours of the wires in the mains lead of this appliance may not correspond with the coloured markings identifying the terminals in your plug proceed as follows: (See diagram).
- Connect the green-yellow or green (Earth) wire to the terminal in the plug marked
or with the symbol or coloured green and yellow or green. - Connect the blue (Neutral) wire to the terminal in the plug marked `N’ or coloured black.
- Connect the brown (Live) wire to the terminal in the plug marked `L’ or coloured red.
- With alternative plugs a 13 A fuse must be fitted either in the plug or adaptor or in the main fuse box. If in doubt contact a qualified electrician.

Energy saving tips
- Ensure your appliance is installed in a well ventilated area.
- Ensure the time between buying chilled/frozen food and placing them in your appliance is kept at minimum, particularly in summer. We recommend you use a cool bag or a special carrier bag to carry perishable food.
- Do not leave the door (s) of your appliance open longer than necessary and ensure they are closed properly after each opening.
- Defrost frozen food in the fridge compartment, so that frozen food acts as an ice pack to assist cooling in the fridge.
- Energy consumption of this appliance is measured while freezer compartment is loaded without use of top shelf lid and the drawers except the bottom drawer. It is advised that freezer compartment is loaded without use of drawers except the bottom drawer in order to achieve maximum loading capacity.
Compliance with WEEE Directive and Disposing of the Waste Product:
Packaging materials of the product are manufactured This product complies from recyclable materials in with EU WEEE accordance with our National Directive (2012/19/ Environment Regulations. Do EU). This product not dispose of the packaging bears a classification materials together with the symbol for waste domestic or other wastes. Take electrical and electronic them to the packaging material equipment (WEEE). This product collection points designated by has been manufactured with the local authorities. high quality parts and materials which can be reused and are suitable for recycling. Do not dispose of the waste product with normal domestic and other wastes at the end of its service life. Take it to the collection center for the recycling of electrical and electronic equipment. Please consult your local authorities to learn about these collection centers.
Compliance with rohs directive:
The product you have purchased complies with EU RoHS Directive (2011/65/EU). It does not contain harmful and prohibited materials specified in the Directive.
Package information
Packaging materials of the product are manufactured from recyclable materials in accordance with our National Environment Regulations. Do not dispose of the packaging materials together with the domestic or other wastes. Take them to the packaging material collection points designated by the local authorities.
Installation
Transportation Instructions
- The appliance should be transported only in a vertical upright position. The packing as supplied must be intact during transportation.
- If during the course of transport the appliance has to be transported horizontally, it must only be laid on its right hand side when standing in the front of the appliance. After bringing it to upright position, it must not be operated for at least 4 hours to allow the system to settle.
- Failure to comply with the above instructions could result in damage occuring to the appliance. The manufacturer will not be held responsible if these instructions are disregarded.
- The appliance must be protected against rain, moisture, and other atmospheric influences.
- Empty any water in the drain tray before moving see section “Defrosting” and “Cleaning & Care” for further information
Important: Make sure the plastic evaporating pan at the back of the product collects water properly.
Important: Care must be taken wh le clean ng / carry ng the appl ance to avo d touch ng the bottom of the condenser metal w res at the back of theappl ance as you might injure your fingers and hands.
Important: This appl ance s not des gned for stack ng with any otherappl ance.When positioning your appl ance, take care not to damage your floor ng, p pes, wall cover ngs etc. Do not move the appl ance by pull ng by the door or handle. Do not attempt to s t or stand on top of your appl ance as t s not des gned forsuch use. You could injure yourself or damage the appl ance.
Important: Make sure that mans cable s not caught under the appl anceduring and after carrying ng / moving the appl ance, to avo d the ma ns cablebecoming cut or damaged.”Do not allow children to play with the appl ance or tamper with the controls.BEKO declines to accept any liability should the instructions not be followed.
Installation Instructions
- If possible avoid placing the appliance near cookers, radiators, or in direct sunlight as this will cause the compressor to run for long periods. If installed next to a source of heat or refrigerator, maintain the following minimum side clearances:
From Cookers 2″ (50 mm) From Radiators 12″ (300 mm) From Refrigerators or Larder Fridge 1″ (25 mm) - No gap is required at sides and top. See item 3 below to ensure a gap is obtained at the rear of the appliance. If a gap is available on side and top, retain it if possible as it would improve the air circulation around the appliance.
- Fit the two plastic wall spacers supplied with the appliance rotating 1/4 turn to the condenser at the back of the refrigerator (see diagram).

- The appliance should be located on a smooth surface. The two front feet can be adjusted as required. To ensure that, your appliance is standing upright adjust the two front feet by turning clockwise or anti-clockwise, until the product is in firm contact with the floor. Correct adjustment of feet avoids excessive vibration and noise.
- Refer to “Cleaning and Care” section to prepare your appliance for use.
- This appliance has been designed to operate in ambient temperatures between +10 and +32 degrees C (50 and 90 degrees F). There fore if the appliance is installed in an unheated / cold room (E.g.: Conservatory /annex / shed / garage etc.) then the appliance may not operate and as a result the storage time of food may be reduced.
- A special receptacle is supplied to store the mains plug during transit. The receptacle is fixed at the back of the cabinet, on the right hand side of the compressor. (See diagram) Gently remove the plug from the receptacle. Never pull the mains cord, you may damage the appliance. In the case of transportation, ensure you locate the plug in the receptacle provided to avoid transit damage.

- The space in the room where the appliance is installed must not be smaller than 10 cubic metres.
- Your product requires adequate air circulation to function efficiently. If the product will be placed in an alcove, remember to leave at least 5 cm clearance between the product and the ceiling, rear wall and the side walls.If the product will be placed in an alcove, remember to leave at least 5 cm clearance between the product and the ceiling, rear wall and the side walls. Check if the rear wall clearance protection component is present at its location (if provided with the product). If the component is not available, or if it is lost or fallen, position the product so that at least 5 cm clearance shall be left between the rear surface of the product and the wall of the room. The clearance at the rear is important for efficient operation of the product.
WARNING
Do not locate extension sockets or charging transformers/power supplies or Lithium-Ironbattery operated products adjacent to the compressor as they could overheat.
- Switch off at the socket outlet and pull out the mains plug.
- Remove all food, loose items and fittings from inside the appliance and door shelves.
- Carefully tilt the appliance on its back side. (1) (You may need somebody to help you.) Take care not to damage the appliance by laying on some protective material (e.g. its original packaging). Make sure that you tilt the appliance on its back side, otherwise compressor oil may block the pipes and you may damage the appliance.
- Unscrew and remove the LHS front feet and bolt (2).
- Unscrew the bolts and remove the bottom hinge while holding the door (3).
- Remove the door carefully from the top hinge by sliding down wards (4).
- Reposition top hinge bushing and blanking plug on the opposite side and stand the door safely (5). You may find it easier to remove the bushing and the plug with the tip of a small screwdriver. Take care not to mark the door.
- Reposition the top hinge on the opposite side (6 and 11).
- Unscrew and remove the freezer compartment door plastic hinge while holding the door (7).
- Remove the door (8).
- Reposition the plastic hinge bushing on the opposite side (9 and 12) after removing the plug.
- Reposition the door catch on the opposite side (10 and 15) after removing the plug, while removing the plug on inner liner.
- Reverse the door and refit (13).
- Fit the plastic hinge (14) while removing the plugs on inner liner.
- To refit the door, locate the top hinge in the door, attach to the cabinet and hold the door (18).
- Fit the bottom hinge (19). If necessary adjust and then tighten the bolts. Ensure,that the door opens and closes easily and that there are no gaps allowing air into the cabinet. If there are gaps between the door seal and the cabinet,adjust the door seal by gently pulling away from the door using fingers.
- Fit the other front feet (20).
- Fit the plugs on the holes on inner liner (16 and 17).
- Carefully stand your appliance. (You may need somebody to help you.)Adjust the front feet (See Installation Instructions)
- Put back all, loose items and fittings.
- Wait for at least 4 hours to allow the system to settle before switching on.Spare plastic parts supplied with the appliance are for your future use during door repositioning.
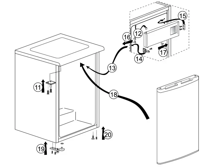
REPOSITIONING THE DOOR
Follow the step by step instructions and the diagram below. Numbers in brackets refer to diagrams.

Before operating
Final Check
Before you start using the fridge/ freezer check that:
- For a freestanding appliance; `this refrigerating appliance is not intended to be used as a built-in appliance’ .
- The feet have been adjusted for perfect levelling.
- The interior is dry and air can circulate freely.
- Clean the interior as recommended under “Cleaning And Care.”
- Insert the plug into the wall socket and switch on the electricity supply. When the door is open the interior light will come on.
- You will hear a noise as the compressor starts up. The liquid and gases sealed within the refrigeration system may also give rise to noise, whether the compressor is running or not which is quite normal.
- Slight undulation of the top of the cabinet is quite normal due to the manufacturing process used, so do not worry, it is not a defect.
- We recommend that you set the thermostat knob at 3 (three) and monitor the temperature to ensure the appliance maintains desired storage temperatures (See section Temperature Control and Adjustment).
- Do not load the appliance immediately it is switched on. Wait until the correct storage temperature has been reached. We recommend that you check the temperature with an accurate thermometer (see; Temperature Control and Adjustment).
Important Note :Ice formation at the back is normal, do not worry. (See Defrosting)
Using your refrigerator

Arrangement Examples (See diagram).
- 4-star freezer compartment
- Baked, chilled cooked food, dairy products.
- Meat, sausages, cold cuts, cans.
- Fruit, vegetables, salads.
- Tubes, small bottles and cans.
- Egg tray.
- Butter, cheese, dairy products.
- Beverages, large bottles.
The following guidelines and recommendations are suggested to obtain the best results and storage hygiene.
- Appliance is for the short term storage of fresh food and drinks and frozen food.
- Cooked dishes must be stored in airtight covered containers and are best placed on either of the removable shelves.
- Fresh wrapped produce can be placed on the shelf. Fresh fruit and vegetables should be cleaned and stored in the crisper bins.
- Bottles can be placed in the door section.
- To store raw meat, wrap in polythene bags and place on the lowest shelf. Do not allow to come into contact with cooked food to avoid contamination. For safety, only store raw meat for two to three days.
- Shelves incorporate rear stops and tilting for storing bottles. Lift shelf to clear grooves when adjusting.
- To tilt a shelf place the back of the shelf one level below the front of the shelf. To remove a tilted shelf, first release the back off the grooves and then pull it.
- Keep the food packed, wrapped or covered. Allow hot food and beverages to cool before placing them in the fridge. Do not store explosive substances in the refrigerator. High proof alcohol must be stored upright in sealed containers. Left over canned food should not be stored in the can.
- Side handle to be fitted by the user (Supplied in the appliance)
- Some fruit and vegetables suffer damage if kept at temperatures near 0 degrees centigrade. Therefore wrap pineapples, melon, cucumbers, tomatoes and similar produce in polythene bags.
- Shelves, racks, crisper bins, dairy compartments, drawers, bottle grippers are all removable.
- Always wrap food using a suitable packaging material before storing in your appliance to avoid contact with the appliance surface and food remains for hyg ene reasons.
Temperature Control And Adjustment
Operat ng temperatures are controlled by the thermostat (see d agram). Sett ngs may be made from 1 to 5, the coldest pos t on.
When the appl ance s sw tched on for the f rst t me, the thermostat should be adjusted so that after 24 hours, the average fr dge temperature s no h gher than +5°C (+41°F).
We recommend you set the thermostat halfway between the 1 and 5 sett ng and mon tor to obta n the des red temperature . e. towards 5 you w ll obta n a colder fr dge temperature and v ce versa.
Some sect ons of the fr dge may be cooler or warmer ( such as the salad cr sper and the top part of the cab net ) wh ch s qu te normal.Over amb ent temperatures of 25°C (77°F) espec ally n summer turn the thermostat knob towards 5. Under amb ent temperatures of 25°C (77°F) turn the thermostat knobto a half way pos t on.
Frequent door open ng cause h gher nternal temperatures, so close the door as soon as poss ble after use. In case of a temporary ce bu ld up nithe fridge compartment reduce the thermostat setting to 1, monitoring at the same time that the fridge temperature is max mum +5 degrees C (41 degrees F). Once the ice build up disappears and the appliance starts auto defrost ng again as normal, then you may ncrease the thermostat sett ng, if required.
Defrosting
The larder fridge defrosts automatically.
The defrost ng water runs to the drain tube via a collection channel and sievaporated n a special conta ner (1)at the back of the appl ance (seeidiagram).
During defrosting water droplets may format the back of the larder fridge where concealed evaporator silocated. Some droplets may rema inon the li ner and refreeze when defrost ng s completed.
Do not use po nted or sharp edged objectssuch as kn ves, forks to remove the droplets which have refreezed. If at any t me the defrost water does not dra n from the collect on channel, check to ensure that no food part cles have blocked the dra n tube. The drain tube can be cleared by pushing the spec al plast ciplunger prov ded down the drain tube.
Freezer Compartment
Defrosting is very easy and without mess thanks to a special defrost collection basin.
Defrost twice a year or when a frost layer of around 7 mm (1/4″) has formed.
To start defrosting procedure switch off the appliance at the socket outlet and pull out the mains plug.
All food should be wrapped in several layers of newspaper and stored in a cool place (e.g. fridge or larder).
Containers full of warm water may be placed carefully in the freezer to speed up the defrosting.
Changing the illumination lamp
To change the Bulb/LED used for illumination of your refrigerator, call your AuthorisedService.
The lamp(s) used in this appliance is not suitable for household room illumination. The intended purpose of this lamp is to assist the user to place foodstuffs in the refrigerator/ freezer in a safe and comfortable way.The lamps used in this appliance have to withstand extreme physical conditions such as temperatures below -20 °C.
(only chest and upright freezer)
Maintenance and cleaning
- We recommend that you switch off the appliance at the socket outlet and pull out the mains plug before cleaning.
- Never use any sharp abrasive instrument, soap, household cleaner, detergent and wax polish for cleaning.
- Use luke warm water to clean the cabinet of the appliance and wipe it dry.
- Use a damp cloth wrung out in a solution of one teaspoon of bicarbonate of soda to one pint of water to clean the interior and wipe it dry.
- Excess deposit of ice should be removed on a regular basis using the handle of a spoon. Large accumulation of ice will impair the performance of the freezer.
- If the freezer is not going to be used for a long period of time switch it off,remove all food, clean it and leave the door ajar.
- To remove a drawer, pull it as far as possible, and then tilt it upwards, and then pull it out completely.
- Any dust that gathers on the condenser, which is located at the back of the freezer, should be removed once a year with a vacuum cleaner.
- Check door seals regularly to ensure they are clean and free from food particles..
- Never :
- Clean the worktop with unsuitable material; eg petroleum based products.
- Subject it to hot temperatures in any way, Scour, rub etc., with abrasive material.
Do’s and Don’ts
Do- Clean and defrost your appliance regularly (See “Defrosting”)
Do- Keep raw meat and poultry below cooked food and dairy products.
Do- Take off any unusable leaves on vegetables and wipe off any soil.
Do- Leave lettuce, cabbage, parsley and cauliflower on the stem.
Do- Wrap cheese firstly in greaseproof paper and then in a polythene bag excluding as much air as possible. For best results take out of the fridge compartment an hour before eating.
Do- Wrap raw meat and poultry loosely in polythene or aluminium foil. This prevents drying.
Do- Wrap fish in polythene bags. Do- Wrap food which have a strong odour or can dry out in polythene bags, aluminium foil or place in an airtight container. Do- Wrap bread well to keep it fresh. Do- Chill white wines, beer, lager and mineral water before serving. Do- Check contents of the freezer every so often. Do- Keep food for as short a time as possible and adhere to “Best Before”, “Use by” etc. dates. Do- Store commercially frozen food in accordance with the instructions given on the packets that you buy. Do- Always choose high quality fresh food and be sure it is thoroughly clean before you freeze it. Do- Prepare fresh food for freezing in small portions to ensure rapid freezing.
Do- Wrap all food in aluminium foil or freezer quality polythene bags and make sure any air is excluded.
Do- Wrap frozen food when you buy it and put it in to the freezer as soon as possible.
Do- Defrost food in the fridge compartment.
Do- Remove ice cream from the freezer 10-20 minutes before serving.
Don’t- Store bananas in your fridge compartment.
Don’t- Store melon in your fridge. It can be chilled for short periods as long as it is wrapped to avoid it flavouring other food.
Don’t- Store poisonous or any dangerous substances in your appliance. It has been designed for the storage of edible foodstuffs only.
Don’t- Consume food which has been stored for an excessive time in the fridge.
Don’t- Store cooked and fresh food together in the same container. They should be packaged and stored seperately.
Don’t- Let defrosting food or food juices drip onto food.
Don’t- Leave the door open for long periods as this will make the appliance more costly to run and cause excessive ice formation.
Don’t- Use pointed sharp edged objects such as knives, forks to remove the ice.
Don’t- Put hot food into the appliance. Let it cool down first.
Don’t- Put liquid-filled bottles or sealed cans containing carbonated liquids into the freezer as they may burst
Don’t- Exceed the maximum freezing loads (4 kg in any 24 hours) when freezing fresh food.
Don’t- Give children ice-cream and water ices direct from the freezer. The low temperature may cause ‘freezer burns’ on lips.
Don’t- Freeze fizzy drinks. Don’t- Try to keep frozen food which has thawed, it should be eaten within 24 hours or cooked and refrozen. Don’t- Remove items from the freezer with wet hands. Don’t- Leave frozen food at room temperature to thaw; the best way to defrost ood is to put it in the fridge to thaw slowly. Make sure
BEKO UK AND IRELAND STANDARD MANUFACTURER GUARANTEE TERMS AND CONDITIONS
Your new Beko product is guaranteed against faulty materials, defective components or manufacturing defects.
The standard guarantee starts from the date of original purchase of the product, and lasts for a period of twelve (12) months unless Beko plc (the “Manufacturer”) agrees to extend the guarantee for the product in writing.
If you have purchased an American style Fridge freezer, the standard guarantee starts from the date of original purchase of the product, and lasts for a period of twenty four (24) months unless Beko plc (the “Manufacturer”) agrees to extend the guarantee for the product in writing.
If you have any questions about the guarantee on your product (including how long it is valid), please contact your retailer or our contact centre on
0333 207 971(UK and Northern Ireland) or 01 862 3411 (Republic of Ireland) This guarantee does not in any way diminish or affect your statutory rights in connection with the product. This guarantee is in addition to your statutory rights as a consumer. If you have any questions about these rights, please contact the retailer from which you purchased the product. In certain circumstances, it is possible that your statutory rights may offer additional or higher levels of protection than those offered under the terms of this guarantee.
What is covered by this guarantee?
- Repairs to the product required as a result of faulty materials, defective components or manufacturing defects.
- Functional replacement parts to repair a product.
- The costs of a Beko Approved Engineer to carry out the repair.
What is not covered?
- Transit and delivery damage.
- Cabinet or appearance parts, including but not limited to control knobs, flaps and handles.
- Accessories and/or consumable items including but not limited to ice trays, scrapers, cutlery baskets, filters and light bulbs.
- Repairs necessary as a direct or indirect result of:
– Accidental damage, misuse or abuse of a product.
– An attempted repair of a product by anyone other than a Beko Approved
Engineer (the “Engineer”).
– Installation or use of a product where such installation or use fails to meet the requirements contained in this guarantee or the User Instructions
- Repairs to a product operated at any time on commercial or non-residential household premises (unless we have previously agreed to the installation environment).
This guarantee is limited to the cost of repairing the product. To the extent permitted by law, the Manufacturer does not accept and will not be held liable for any financial loss incurred in connection with the failure of any product to operate in accordance with the expected standards. Such financial loss includes but is not limited to loss arising from:
- Time taken off work.
- Damaged food, clothing or other items.
- Meals taken at restaurants or from takeaways.
- General compensation for inconvenience.
Important Notes
- Your product is designed and built for domestic household use only.
- The guarantee will automatically be void if the product is installed or is used in commercial or non-residential domestic household premises, unless we have previously agreed to the installation environment.
- The product must be correctly installed, located and operated in accordance with the instructions contained in the User Instructions Booklet provided with your product.
- Professional installation by a qualified Electrical Domestic Appliance Installer is recommended for all Washing Machines, Dishwashers and Electric Cookers (as incorrect installation may result in you having to pay for the cost of repairing the product).
- Gas Cookers must be professionally installed by a Gas Safe (or Gas Networks Ireland for Republic of Ireland) registered gas installer.
- This guarantee is given in respect of products purchased and used within the United Kingdom and the Republic of Ireland.
- This guarantee is effective from the initial date of purchase of a new product from an authorised retailer and will be void if the product is resold.
- This guarantee does not apply to graded sales (where the product is purchased as a “second”).
- Possession of a copy of these terms and conditions does not necessarily mean that a product has the benefit of this guarantee. If you have any questions, please call our Call Centre on the number set out above.
- The Manufacturer reserves the right to terminate the guarantee if its staff or representatives are subjected to physical or verbal abuse in the course of carrying out their duties.
- Optional extras, where available (i.e. extendable feet) are supplied on a chargeable basis only.
Does Beko offer replacements?
This is a repair-only guarantee. On occasion, the Manufacturer may at its sole discretion, replace your product with a new product instead of carrying out a repair. Where a replacement is offered, this would normally be an identical model but when this is not possible, a model of similar specification will be provided. The Manufacturer will cover the costs and arrange for the delivery of the new product and for the return of the old product. Any costs related to disconnecting the faulty product and installing the replacement product will not be borne by the Manufacturer unless previously agreed to in writing. The original guarantee will continue to apply to the replacement product; the new product will not come with a new guarantee.
When will the repair take place?
Our Engineers work Monday to Friday 9.00am to 5.00pm. Appointments outside these hours may be possible at the sole discretion of the Manufacturer but cannot be guaranteed. Whilst our Engineers will endeavour to minimize inconvenience and to meet requests for specific timed appointments, this cannot be guaranteed. We will not be liable for delays or if it is unable to carry out a repair because a convenient appointment cannot be arranged.
Will there be any charge for the repairs?
It is your responsibility to provide evidence to the Engineer that your product is covered by this guarantee with a proof of purchase. The Manufacturer reserves the right to charge for the reasonable cost of any service call if:
- You cannot provide evidence that your product is covered by this guarantee.
- Where a service call has been made and the engineer finds that there is no fault with your product.
- That your product has not been installed or operated in accordance with the User Instructions Booklet.
- That the fault was caused by something other than faulty materials, defective components or manufacturing defects.
- For missed appointments.
Payment of these costs are due immediately upon the Engineer providing you with an invoice. The Manufacturer reserves the right to terminate the guarantee if you fail to pay the costs for the service call in a timely manner.
If you are a resident of the United Kingdom, this guarantee will be governed by English law and subject to the English Courts, save where you live in another part of the United Kingdom, in which case the law and courts of that location will apply.
If you are resident in the Republic of Ireland, this guarantee will be governed by Irish law and the Irish courts will have jurisdiction.
This guarantee is provided by Beko plc. Beko House, 1 Greenhill Crescent, Watford, Hertfordshire. WD18 8QU.
Beko plc is registered in England and Wales with company registration number 02415578
BEKO UK AND IRELAND BUILT-IN APPLIANCES GUARANTEE TERMS AND CONDITIONS
If you have purchased a built-in or integrated appliance, and registered it within 90 days of purchase by completing the online registration form, then the standard 12 month guarantee will be extended to 24 months, under the same terms and conditions as detailed in our Standard Guarantee Terms and Conditions.
HOW TO OBTAIN SERVICE FOR YOUR APPLIANCE
Please keep your purchase receipt or other proof of purchase details in a safe place; you will need to have this documentation available should the product require attention under guarantee.
Please take a few moments to complete the details below, as you will need this information when you call us, or to use our online services. When you call us you may be required to input your serial number into your telephone keypad. For help please visit beko.co.uk/support/model-finder
- The product model number is printed on the Operating Instruction Booklet /User guide
- The product model and serial number is printed on the Rating Label affixed to the appliance.
- The Retailer (Purchased from) and Date of purchase will be printed on your purchase receipt or other proof of purchase paperwork
Recording of these details alone will not count as proof of purchase. A valid proof of purchase is required for requesting service under guarantee.Model number Serial number Purchased from Date of purchase
For service under guarantee or for product advice please call our Contact centre
Before requesting service please check the troubleshooting guide in the Operating Instructions booklet, as a charge may be levied where no fault is found, and even though your product may still be under guarantee.
After arranging service the area around the product must be easily accessible to the Engineer, without the need for cabinets or furniture to be removed or moved.
It is your responsibility to ensure our Engineers have a clean and safe environment to carry out any repairs.
Please have your Model number and Serial number available when you call us, as you may be required to input your serial number into your telephone keypad during your call.
UK Mainland & Northern Ireland:
0333 207 9710
Landline or mobile calls to 0333 numbers cost no more than calls to geographic numbers 01 or 02, and are charged at the basic rate. Calls from landlines and mobiles are included in free call packages but please check with your telephone service provider for exact call charges.
Republic of Ireland:
01 862 3411
Service once the manufacturers guarantee has expired
If you have purchased an extended guarantee please refer to the instructions contained within the extended guarantee agreement document, otherwise please call us using the appropriate number above, where service can be obtained at a charge.
Should you experience any difficulty in obtaining service please call us on 0333 207 9710 or 01 862 3411
Contact us though our website
Send us a secure message through our online contact us form. Please visit our website, click Contact Us and choose a product support topic from the list of options. Complete the required details and click send message.
Product registrations
For UK registrations please visit beko.co.uk/register and for the Republic of Ireland visit beko.ie/register.



















