TCL 65C843 Smart LED Display

Product Information
The product is a television set designed for domestic household use. It has an identification sticker at the back that indicates the required domestic mains supply voltage. The TV set can be switched on and put into standby mode using the POWER/ button on the set or the remote control. To completely disconnect the TV set, the mains plug must be pulled out. The TV set should not be exposed to moisture exceeding 75% humidity and should not be moved from a cold place to a warm one without letting condensation evaporate. During thunderstorms, it is recommended to disconnect the TV set from the mains and aerial to avoid electrical or electromagnetic surges that could damage it. If the TV set gives off a smell of burning or smoke, it should be unplugged immediately.
Product Usage Instructions
- Ensure that the domestic mains supply voltage matches the voltage indicated on the identification sticker located at the back of your set.
- Keep the mains plug, AC inlet or appliance coupler readily operable if used as a disconnect device.
- Switch on or put the TV set into standby mode using the POWER/ button on the set or remote control.
- Completely disconnect the TV set by pulling out the mains plug.
- Avoid exposing the TV set to moisture exceeding 75% humidity.
- Let condensation evaporate before switching on the TV set after moving it from a cold to a warm place.
- Disconnect the TV set from the mains and aerial during thunderstorms to avoid electrical or electromagnetic surges that could damage it.
- Unplug the TV set immediately if it gives off a smell of burning or smoke.
- Do not attempt to open the TV set yourself as it may cause an electric shock.
- Leave more than 10cm clearance around the television to allow adequate ventilation.
- Do not cover the ventilation openings with items such as newspapers, table-cloths, curtains, etc.
- Avoid placing objects filled with liquids, such as vases, on the TV set.
- Avoid exposing batteries to excessive heat such as sunshine, fire or the like.
- Avoid exposing the TV set to rain or moisture to reduce the risk of fire or electric shock.
- Take simple precautions to avoid injuries, particularly to children, such as ensuring the TV set is placed on a stable surface and not placing objects on top of it.
Important information
Safety
- Ensure that your domestic mains supply voltage matches the voltage indicated on the identification sticker located at the back of your set. Where the mains plug, AC inlet, or appliance coupler is used as a disconnect device, it shall remain readily operable.
- On certain models, the light indicator is located at the side of the TV set. The absence of a light indication at the front does not mean that the TV set is fully disconnected from the mains. To disconnect the TV set completely, the mains plug must be pulled out.
- The TV set’s components are sensitive to heat. The maximum ambient temperature should not exceed 35º Celsius. Do not cover the vents at the back or sides of the TV set. Leave sufficient space around it to allow adequate ventilation. Install the appliance away from any source of heat (fireplace, etc.) or appliances creating strong magnetic or electric fields.
- Moisture in rooms where the set is installed should not exceed 75% humidity. Moving the set from a cold place to a warm one can cause condensation on the screen (and on some components inside the TV set). Let the condensation evaporate before switching the TV set on again.
- The or POWER/ button on the TV set or the button on the remote control can be used to switch it on and put it into standby mode. If you are not going to be watching the TV for a lengthy period of time, switch it off completely by removing the plug from the mains power socket.
- During thunderstorms, we recommend that you disconnect the TV set from the mains and aerial so that it is not affected by electrical or electromagnetic surges that could damage it. For this reason, keep the mains and aerial sockets accessible so they can be disconnected, if necessary.
- Unplug the TV set immediately if you notice it giving off a smell of burning or smoke. You must never, under any circumstances, open the TV set yourself, as you run the risk of an electric shock in doing so.
WARNINGS
- This appliance is intended for domestic household use only and should not be used for any other application, such as for non-domestic use or in a commercial environment.
- If the external flexible cable or cord of this product is damaged, it shall be replaced by the manufacturer or his service agent or a similar qualified person in order to avoid a hazard.
- Leave more than 10cm clearance around the television to allow adequate ventilation. The ventilation should not be impeded by covering the ventilation openings with items, such as newspapers, table-cloths, curtains, etc.
- The apparatus shall not be exposed to dripping or splashing and no objects filled with liquids, such as vases shall be placed on the apparatus.
- Batteries (battery pack or batteries installed) shall not be exposed to excessive heat such as sunshine, fire or the like.
- To reduce the risk of fire or electric shock, do not expose this apparatus to rain or moisture.
- A television set may fall, causing serious personal injury or death. Many injuries, particularly to children, can be avoided by taking simple precautions such as:
- ALWAYS use cabinets or stands or mounting methods recommended by the manufacturer of the television set.
- ALWAYS use furniture that can safely support the television set.
- ALWAYS ensure the television set is not overhanging the edge of the supporting furniture.
- ALWAYS educate children about the dangers of climbing on furniture to reach the television set or its controls.
- ALWAYS route cords and cables connected to your television so they cannot be tripped over, pulled or grabbed.
- NEVER place a television set in an unstable location.
- NEVER place the television set on tall furniture (for example, cupboards or bookcases) without anchoring both the furniture and the television set to a suitable support.
- NEVER place the television set on cloth or other materials that may be located between the television set and supporting furniture.
- NEVER place items that might tempt children to climb, such as toys and remote controls, on the top of the television or furniture on which the television is placed.
If the existing television set is going to be retained and relocated, the same considerations as above should be applied.
- Equipment with this symbol is a Class II or double-insulated electrical appliance. It has been designed in such a way that it does not require a safety connection to electrical earth.

- Equipment without this symbol is a Class I electrical appliance. It shall be connected to a mains socket outlet with a protective earthing connection.
- To prevent the spread of fire, keep candles or other open flames away from this product at all times.

- This symbol indicates that high voltage is present inside. It is dangerous to make any kind of contact with any internal part of this product.

- This symbol indicates that the fuse may be in the neutral, and that the mains shall be disconnected to de-energize the phase conductors.

To prevent injury, this apparatus must be securely attached to the floor/wall in accordance with the installation instructions.
To reduce the risk of RF exposure, the use distance of this apparatus should be at least 100cm.
If an outside antenna or cable system is connected to the product, be sure the antenna or cable system is grounded by a skilled person so as to provide some protection against voltage surges and built-up static charges.
TV screen
The TV screen used in this product is made of glass. Therefore, it can break when the product is dropped or impacted upon by other objects.
The TV screen is a very high technology product, giving you finely detailed pictures. Occasionally, a few nonactive pixels may appear on the screen as a fixed point of blue, green or red. This does not affect the performance of your product.
Care
Use a glass-cleaning product to clean the screen and a soft cloth and mild detergent to clean the rest of the set.
Important: Using strong detergents, alcohol-based and abrasive products may damage the screen.
Dust the vents at the back and sides regularly. Using solvents, abrasive or alcohol-based products could damage the TV set. If an object or liquid enters the appliance, unplug it immediately and have it checked by an authorized engineer. Never open the appliance yourself since this may put you at risk or damage the appliance.
ESD regulation
This apparatus meets ESD performance criteria.
In case the apparatus does not recover in Ethernet connection mode or USB playing mode due to electrostatic discharge, user intervention is required.
Bluetooth function notice
Bluetooth® technology (if available in your TV) uses 2.4GHz frequency thus close proximity to Wi-Fi access points, routers or microwave ovens might interfere with Bluetooth audio streaming. If you face interruptions in audio reception, you should restart your Bluetooth device to find frequency with less interferences and if you continue to face issues you should move closer to TV or increase space between TV and source of interferences.
Bluetooth declaration ID: D043135
Hanging the TV set on the wall
Warning: This operation requires at least two people depending on your TV dimension.
To ensure a safe installation, observe the following safety notes:
- Check that the wall can support the weight of the TV set and wall mount assembly.
- Follow the mounting instructions provided with the wall mount. For certain models, make sure to screw the hexagonal VESA wall mounting screw bosses (and screws) provided with the set into the nuts for the wall mount at the back of your set before your wall mounting.
- The TV set must be installed on a vertical wall.
- Make sure to use only screws suitable for the material of the wall.
- Make sure that the TV set cables are placed so that there is no danger of tripping over them.
All other safety instructions about our TV sets are also applicable here.
Multi product user manual
The features described in this manual are common to most models. Some features may not be available on your TV and/or your TV may include features that are not described in this user manual. The illustrations in this manual may differ from the actual product. Please refer to the actual product.
Device update
Typically, some devices are updated quarterly, but not always so specific. Some devices, especially those that went on sale more than three years ago, will only be updated if a critical vulnerability is found and fixed.
Information for Users on Disposal of Old Equipment and Batteries
[European Union]
- These symbols indicate that the electrical and electronic equipment and the battery with this symbol should not be disposed of as general household waste at their end-of-life. Instead, the products should be handed over to the applicable collection points for the recycling of electrical and electronic equipment as well as batteries for proper treatment, recovery and recycling in accordance with your national legislation and the Directive 2012/19/EU, 2006/66/EC and 2008/12/EC.
- By disposing of these products correctly, you will help to conserve natural resources and will help to prevent potential negative effects on the environment and human health which could otherwise be caused by inappropriate waste handling of these products.
- For more information about collection points and recycling of these products, please contact your local municipal office, your household waste disposal service or the shop where you purchased the product.
- Penalties may be applicable for incorrect disposal of this waste, in accordance with national legislation.
[Business users]
If you wish to dispose of this product, please contact your supplier and check the terms and conditions of the purchase contract.
[Other Countries outside the European Union]
These symbols are only valid in the European Union. If you wish to dispose of these items, please do so in accordance with applicable national legislation or other rules in your country for the treatment of old electrical equipment and batteries.
Declaration of Conformity
- Hereby, TCL declares that the radio equipment type TV is in compliance with Directive 2014/53/EU. The full text of the EU declaration of conformity is available at the following internet address: www.tcl.com. Choose the model name and go to DOWNLOADS.
- Applies to products intended for the UK market.
- Hereby, TCL declares that the radio equipment type TV is in compliance with the relevant UK statutory requirements. The full text of the UK declaration of conformity is available at the following internet address: www. tcl.com. Choose the model name and go to DOWNLOADS.
Figures and illustrations in this User Manual are provided for reference only and may differ from actual product appearance. Product design and specifications may be changed without notice.
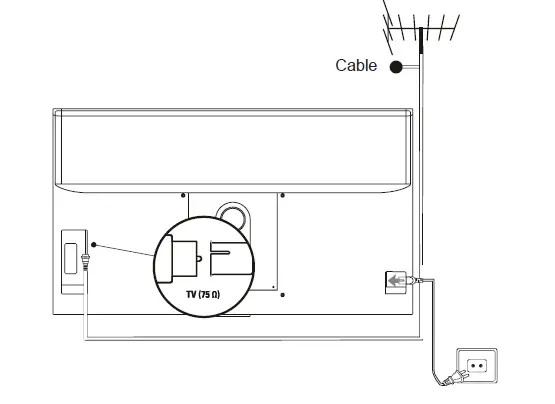
Connections
Connect the power and antenna
To switch on TV after connecting power cord, press or POWER/ . Notes:
- Position of power socket varies according to TV model.
- Disconnect the power cord before connecting devices.

Connect Blu-ray Disc player, HD game console, HD camcorder, headphones, CI module
Note: Before you use OPTICAL function, OPTICAL is set to on in the Display and sound menu first. Press on the remote control, select Settings > Display and sound > Sound > Audio output > Optical, and press OK to turn it on.
Connect to the Internet
Note: The following instructions are just the usual ways to connect your TV to the wired or wireless network.
The connection method may be different depending on your actual network configuration. If you have any questions about your home network, please refer to your Internet service provider.
Wired connection

Wireless connection

Network settings:
- Press
on the remote control to display the dashboard menu. - Select Settings and press OK to enter the settings menu.
- Press
/
to select Network and Internet, press OK to enter the submenu and follow the on-screen guidance to set up your network.
Notes:
- Your TV might not have all connectors visible on the diagram above. The number of USB and HDMI ports may vary according to TV model.
- Button and connector locations may vary according to TV model.
- USB connectors are for data input from USB drives and for connecting other relevant USB devices where applicable.
- All USB devices have to be directly connected to TV set without cable extenders. In case an extender is required, a maximum 50cm length is recommended. Longer extenders should have ferrite beads.
- eARC/ARC (enhanced Audio Return Channel/Audio Return Channel) function is only supported on the HDMI port identified with eARC/ARC. To use eARC/ARC function, please turn on CEC function first as described in the CEC section.
- It is recommended to use high-quality and well-shielded HDMI cables to avoid possible interferences.
- Please use headphones with 3.5mm TRS connector. Excessive sound pressure from headphones can cause
Getting started
Exclusive Remote control
Most of your television’s functions are available via the menus that appear on the screen. The remote control supplied with your set can be used to navigate through the menus and to configure all the general settings.

Notes:
- This remote control is available only for selected models. The remote control type may be changed without notice.
- The App buttons may differ depending on the model. The App button is used for accessing the corresponding App.
- Follow the on-screen guide to pair the remote control with the TV when pressing the Google Assistant button for the first time.
- Google TV is the name of this device’s software experience and a trademark of Google LLC.
- The Google Assistant is not available in certain languages and countries.
Installing batteries
- Push to open the back cover as illustrated.
- Insert two AAA batteries according to the polarities marked on the batteries case.
- Replace the back cover as illustrated.

Note: The remote control type may be changed without notice.
CAUTION: Risk of fire or explosion if the battery is replaced by an incorrect type.
Important:
Batteries shall not be exposed to excessive heat such as sunshine, fire or the like. Remove batteries when the remote control is not to be used for a long time. Batteries left in equipment may cause damage through deterioration and corrosive leakage, invalidating the guarantee.
To protect the environment use local recycling facilities for battery disposal. Dispose of used batteries according to the instructions.
CAUTION: Risk of explosion if batteries are replaced by an incorrect type. Replace only with the same or equivalent type recommended by the equipment manufacturer.
If the batteries in your remote control are run down, you can use the button on your TV set.
You can turn on the TV from standby mode by pressing the button on your TV set.
While the TV is on, the multi-function menu appears by pressing the button on your TV set. For more information about how to use the multi-function menu, please refer to the figure below.
- Press the button to move the highlight to the next function selection.
- Press and hold the button for more than 2 seconds to confirm your selection. Note: Please refer to the Quick Start Guide to find the button on your TV set.
Switch the TV on and off
- When the power cord is connected, the TV will be turned on directly or be in standby mode. If the TV is in standby mode, press the or POWER/ button on the set or the button on the remote control to turn it on.
- To put the TV into standby mode, press the button on the remote control. The TV set remains powered up, but with low energy consumption.
- To switch the TV off, unplug the mains plug from the mains outlet.
Note: In order to save energy and protect environment, certain models are designed with a relay switch. It is normal phenomenon if you hear the sound of the relay when you turn on or off the TV set.
Initial setup
The first time you switch the set on, the Welcome screen appears, which guides you through the initial setup process. Follow the on-screen instructions to finish the initial setup process such as selecting the language, connecting to the network, scanning channels, and more. During each step, either make a choice or skip the step. If you skip a step, you can perform the setup later from the settings menu.
Note: If the channel search retrieved only the analogue channels it could be caused by poor broadcasting and therefore is not covered by manufacturer warranty. Manufacturers cannot be held responsible for lack of or poor broadcasting in some areas.
Basic TV operations
Accessing channels
- Using the Navigation Direction buttons: press
/
on the remote control to scroll through the channels. - Using the OK button: press the OK button to display the channel list and press
/
and OK to select channels. - Using the CH
/
buttons: press the CH
/
buttons on the remote control to scroll through the channels. - Using the LIST button: press the LIST button on the remote control to display the channel list and press
/
and OK to select channels.
Watching connected devices
Press on the remote control to display the source list. Press
/
to select TV or other input sources and press OK to confirm.
Adjusting volume
- Volume control: press the VOL
/
buttons on the remote control to increase or decrease the volume. - Sound mute: press the button to temporarily mute the sound. Press this button again or the VOL button to restore the sound.
Accessing Smart TV homepage
Allows you to enjoy Internet Applications (Apps) and specially adapted Internet websites, and perform system settings for your TV. You can make controlling with the TV remote control
WARNING:
- Configure the network settings before using Smart TV applications.
- Slow responses and/or interruptions may occur, depending on your network conditions.
- If you experience a problem using an application, please contact the content provider.
- According to circumstances of the content provider, an application’s updates or the application itself may be discontinued.
- Depending on your country’s regulations, some applications may have limited service or not be supported.
- Changes in application content may be made without prior notice by the service provider.
- Press on the remote control to display the Smart TV homepage.
- Press
/
and OK to enter the desired Apps, functions or settings. - Press to return to the homepage.
Note: Since the connection with Internet takes time, it’s recommended that you wait a few minutes to use the Smart TV feature after activation of TV from standby.
Using Settings menu
Allows you to adjust TV settings, such as picture and sound.
- Press on the remote control to display the dashboard menu.
- Select Settings and press OK to enter the settings menu.
- In submenus, press
/
to select menu options, then press OK
/
to enter the option list, or the corresponding submenu, or press OK to toggle on or off, or press
/
to adjust the setting. - Press to return to the previous menu
Using more of your TV
Installing channels
This section describes how to search and store channels automatically. This may be done in any of the cases below:
- you have skipped the channel installation step in the initial setup;
- you are prompted that there are no channels in TV mode;
- you want to update your channels.
- In TV mode, press on the remote control and select Settings > Channels and inputs > Channel > Channel scan. Press OK/ to enter.
- The TV installs and arranges channels according to your country or region. Press
/
to select Country/Region, and press OK/ to enter. Enter the password you have set in the Settings > System > Lock menu. Press
/
to select your country or region and press OK to confirm. - Press
/
to select Automatic search and press OK to enter. - Press
/
to select Tuner mode and press
/
to select Cable, Antenna or Satellite. (Note: Satellite option is available only in selected models.) - Press
/
to select other options to configure. - After configuration is completed, press to select Search and press OK to start scanning channels.
- The channel search may take a few minutes. After the automatic search, channels are arranged in a preset order. If you want to edit the channel list, press on the remote control, select Settings > Channels and inputs > Channel > Edit Channels and press OK to enter.
Note: Edit Channels option is not available when Tuner mode is set to Antenna and Country/Region is set to United Kingdom.
Common interface
- Encrypted digital TV channels can be decoded with a common interface module and a card provided by a digital TV service operator.
- The common interface module may enable several digital services, depending on the operator and services you choose (for example, pay TV). Contact your digital TV service operator for more information about services and terms.
Using the common interface module
WARNING: Switch off your TV before inserting a common interface module. Be sure to follow the instructions described below. Wrong insertion of a common interface module may damage both the module and your TV.
- Following the directions printed on the common interface module, gently insert the module into the common interface slot on the TV.
- Push the module in as far as it will go.
- Turn on the TV and wait for the common interface function to be activated. This may take several minutes.
Note: Do not remove the common interface module from the slot. Removing the module will deactivate the digital services
Accessing common interface services
- After inserting and activating the common interface module, press on the remote control, select Settings > Channels and inputs > Channel > Common interface and press OK to enter.
- This menu option is only available if the common interface module is correctly inserted and activated. On-screen applications and content are provided by your digital TV service operator.
Using subtitles
You can enable subtitles for each TV channel.
Subtitles are broadcast via Teletext or DVB-T/DVB-C/ DVB-S/DVB-T2/DVB-S2 digital broadcasts. With digital broadcasts, you have the additional option of selecting a preferred subtitle language.
Turning on/off subtitles
- Press on the remote control, select Settings > Channels and inputs > Channel > Subtitle and press OK/ to enter.
- Select the Subtitle option, and press OK to toggle between on or off.
- Press to return to the previous menu.
Enabling subtitle languages on digital TV channels
- Press on the remote control, select Settings > Channels and inputs > Channel > Subtitle > Digital subtitle language 1st and press OK/ to enter.
- Press
/
to select a subtitle language as your preferred language and press OK to confirm. - Press
/
to select Digital subtitle language 2nd and press OK/ to enter. - Press
/
to select a secondary subtitle language and press OK to confirm. - Press to return to the previous menu.
Selecting a subtitle type on digital TV channels
- Press on the remote control, select Settings > Channels and inputs > Channel > Subtitle > Subtitle type and press OK/ to enter.
- Press / to select a subtitle type and press OK to confirm. You can select Hearing impaired to display the hearing impaired subtitles with your selected language.
- Press to return to the previous menu.
Using Teletext
Selecting the decoding page language
- Press on the remote control, select Settings > Channels and inputs > Channel > Teletext > Decoding page language and press OK/ to enter.
- Press / to select a proper type of language in which Teletext will display and press OK to confirm.
- Press to return to the previous menu.
Digital Teletext language
On digital TV channels, depending on the broadcaster, you may be able to enjoy a service with multiple initial Teletext pages in different languages.
This function allows you to select an available language as primary language, which relates to different initial Teletext pages.
- Press on the remote control, select Settings > Channels and inputs > Channel > Teletext > Digital teletext language and press OK/ to enter.
- Press
/
to select a language and press OK to confirm. - Press to return to the previous menu
External devices control (CEC)
Use this function to search for CEC devices connected to the HDMI sockets in your TV and enable one-touch play and one-touch standby between CEC devices.
Enabling or disabling CEC
- Press on the remote control, select Settings > Channels and inputs > Inputs > External devices control (CEC) and press OK/ to enter.
- Select the HDMI Control option, and press OK to toggle between on or off.
- Press to return to the previous menu.
Using Auto power on
Enables the TV to automatically power on when you power on a CEC device (e.g. DVD) with the device’s remote. Press OK to turn it on to enable this function.
Using Auto standby
Enables all CEC devices to automatically go to standby mode when you turn off the TV with the TV remote. Press OK to turn it on to enable this function.
Note: The CEC functions depend on the devices connected and it is possible that some devices may not interoperate correctly when connected to this TV. The user manual or the manufacturer of the problematic devices should be consulted for further information.
HbbTV
HbbTV (Hybrid broadcast broadband TV) is a service offered by certain broadcasters and available only on some digital TV channels. HbbTV delivers interactive television over broadband Internet. These interactive features are added to and enrich the normal digital programs, and include services such as digital teletext, electronic programme guide, games, voting, specific information related to the current program, interactive advertising, information magazines, catch-up TV, etc.
To use HbbTV please ensure your TV is connected to Internet and HbbTV is switched on.
Notes:
- HbbTV services are broadcast- or country-dependent and may be unavailable in your area.
- You cannot download files to your TV with HbbTV function.
- Application provider or broadcasting related conditions may cause an HbbTV application to be unavailable momentarily.
- To access HbbTV applications you must connect your TV to the Internet via a broadband link. HbbTV applications may not work correctly in case of network related issues.
HbbTV access
- Press on the remote control, select Settings > System > HbbTV settings and press OK/ Select the HbbTV option, and press OK to turn it on.
- When you tune to a digital TV channel that offers HbbTV, this will be signalled to you by an onscreen indication (generally a red button, but other colour buttons may also be used). Press the indicated colour button to open the interactive pages.
- Use
/
and the colour buttons to navigate through the HbbTV pages and press OK to confirm.
HbbTV deactivation
To avoid disturbances that may be caused by HbbTV broadcasting tests, you can turn off the HbbTV function:
- Press on the remote control, select Settings > System > HbbTV settings and press OK/ to enter.
- Select the HbbTV option, and press OK to turn it off to disable it
Using EPG (Electronic Programme Guide)
EPG is an on-screen guide that displays scheduled digital TV programs. You can navigate, select and view programs.
- Press on the remote control, select Settings > Channels and inputs > Channel > EPG and press OK to enter, or press on the remote control (if available), the Programme Guide menu will appear, which allows you to get information about the current or next program playing on each channel. Navigate through the different programs using the
/
buttons on the remote control. - Use the related buttons shown at the left of the screen to view EPG.
- — Filter: Program guide filter for digital TV programs.
- Navigate through the different types using the / buttons on the remote control.
- Select one or more types, which you want to highlight from the type list, press OK to select or deselect. A checkmark will appear to the left of the type when selected.
- Schedule List: Press the OK button to enter, then select Schedule reminder to set Channel, Date, Reminder time and Repeat.
- — Filter: Program guide filter for digital TV programs.
- Press to return to the previous menu
Bluetooth function
(* not available for some models) Bluetooth® is a wireless technology standard for exchanging data over short distance between Bluetooth devices. You can connect Bluetooth audio device, mouse or keyboard via the TV.
- Press on the remote control, select Settings > Remotes and accessories and press OK/ to enter.
- Select Pair accessory and press OK to enter. The TV will search nearby Bluetooth devices automatically. Select an available device, press OK and follow the guides on the screen to connect
Note: Bluetooth technology (if available in your TV) uses 2.4GHz frequency thus close proximity to Wi-Fi access points, routers or microwave ovens might interfere with Bluetooth audio streaming. If you face interruptions in audio reception, you should restart your Bluetooth device to find frequency with less interferences and if you continue to face issues you should move closer to TV or increase space between TV and source of interferences.
The Bluetooth® word mark and logos are registered trademarks owned by Bluetooth SIG, Inc. and any use of such marks by TTE Corporation is under license. Other trademarks and trade names are those of their respective owners.
Quick start function
It enables you to turn on your TV faster from standby mode than turning this function off, but it will also increase standby power consumption.
- Press
on the remote control, select Settings > System > Power and energy > Quick start and press OK/ to enter. - Select the Quick start option and press OK to toggle between on and off.
- Press to return to the previous menu
Networked waking up
This function allows you to turn on your TV from standby mode via a network. To use this function, please make sure:
- Your TV is connected to an effective wireless home network;
- The desired controller, such as a smartphone, is connected to the same wireless network as your TV;
- An App which supports networked waking up function, such as Youtube, has been installed into the controller;
- In Google TV mode, press
on the remote control, select Settings > Network and Internet > Network standby and press OK to turn it on. - When the TV is in networked standby mode, you can use the App to wake up the TV remotely.
Notes:
- This feature is disabled if you press and hold the button on the remote control and confirm to shut the TV down.
- Before using the feature of networked waking up, make sure the Quick start function is enabled
- This function may not be available for certain models.
- This feature is only available in Google TV mode.
Reset to factory default settings
Allows you to reset the TV to factory default settings.
- Press
on the remote control, select Settings > System > About > Reset > Factory reset and press OK to enter. - Select the Factory reset option and press OK to enter. Then select Delete everything and press OK to confirm.
- Enter the password you have set or the PIN according to the on-screen prompt.
- Select OK and press OK to confirm.
- The Welcome screen appears. Follow the instructions in the section Initial setup.
Using the hands-free TV voice control
Before using the hands-free TV voice control, connect the TV to the network and make sure it can access the Google website first. Then follow the steps below to access.
- Turn the built-in MIC switch (Please refer to the Quick Start Guide to find the MIC switch on your TV set) to on before using this function.
- In Google TV mode, Press
on the remote control. - Select “Yes, I’m in”.
- Say “OK Google” or “Hey Google” to activate it.
Notes:
- This hands-free TV voice control is only available for selected models. For details, please refer to your local dealer.
- A quiet surrounding is required for better function when using it. The recommended distance for using the hands-free TV voice control is within 2 meters in front of it.
- Turn the built-in MIC switch to off if you are not going to use it.
- The availability of hands-free TV voice control depends on your region/country/language.
- Turn on both Quick start and Screenless service in the Settings > System > Power and energy menu to enjoy hands-free voice control in TV standby mode.
- Standby power consumption will increase because the built-in MIC is always listening when the Google Assistant or voice control with the built-in MIC is enabled.
- This feature is only available in Google TV mode
Variable Refresh Rate
Variable Refresh Rate is a feature that will allow
smooth gaming and eliminate screen tearing. The
refresh rate can dynamically change to up to 144Hz.
(Note: To use the function, Game Master needs to
be set to Auto or On in the System menu.)
This feature is available under source of HDMI1,
HDMI2, HDMI3 or HDMI4(the number of HDMI
socket on the TV will vary according to TV model).
Notes:
- 4K@144Hz is only available on HDMI 1 (not available in all models). PC Graphics card must be able to output 144Hz, please check your graphics card specifications.
- 4K@120Hz is only available on HDMI 1 or HDMI 2.
- Some models support refresh rate up to 120Hz.
- You need to make sure your Games Console or PC support Variable Refresh Rate, and you may need to check your games console settings to activate the function.
- The game/content also will need to support Variable Refresh Rate, and you may also need to check the settings within the game.
Apple AirPlay and HomeKit
(* not available for some models)
- Wirelessly share content with your TV using AirPlay and control your TV using the Home app on your iPhone, iPad, or Mac. You can set up AirPlay and HomeKit at any time in Settings menu.
- The function is enabled by default. To use the function, make sure your iPhone, iPad, or Mac is iOS or iPadOS device and the WiFi on the iOS or iPadOS device is turned on. Then follow the steps below to operate.
- Press
on the remote control, select Settings > System > AirPlay and HomeKit Settings > Apple AirPlay and HomeKit and press OK to enter, or press
(if available) on the remote control, then select AirPlay > AirPlay and HomeKit Settings and press OK to enter. - Press
/
to select the desired item and press OK to enter the corresponding submenu. - Press to return to the previous menu.
- For the first time, activate the screen mirroring function on your iPhone, iPad, or Mac and choose the TV’s name you want to connect in the searching list.
- If an AirPlay passcode appears on your TV screen, enter the passcode on your iOS or iPadOS device.
- To stop mirroring your iOS or iPadOS device, open Control Center, tap screen mirroring, then tap stop mirroring.
Notes:
- If your WiFi is turned off, press
on the remote control, select Settings > Network and Internet > Wi-Fi, and press OK to turn it on. - To disable the feature, select Settings > System > AirPlay and HomeKit Settings > Apple AirPlay and HomeKit > AirPlay and press OK to turn it off.
- Apple, AirPlay and HomeKit are trademarks of Apple Inc., registered in the U.S. and other countries.
- This Smart TV Pro is compatible with AirPlay 2 and HomeKit. iOS 12.3 or later or macOS 10.14.5 or later is required.
Multi Visual
Allows you to enjoy different programmes with your family on one TV at the same time. The multi visual function is enabled by default. To use the function, make sure your phone is Android OS and the WiFi on the phone is turned on. Then follow the steps below to operate.
- Press
on the remote control, select Settings > Network and Internet > Wi-Fi, and press OK to turn it on. - Press
on the remote control on the remote control, elect Multi Visual, then select your desired display mode and press OK to enter. Press “Start now” to connect. - Activate the cast screen function on your phone and choose the TV’s name you want to connect in the searching list.
- For the first time, depending on different types of phones, there are two situations:
- An invitation prompt appears, select Accept and press OK to connect.
- Enter a correct PIN code to connect as per the PIN message on the phone.
- To exit the multi visual function, press , then select OK and press OK to confirm.
Notes:
- This feature is not available in any of the cases below:
- when TV is using Netflix or Media Player.
- if the video from phone/DTV is scrambled.
- when the capacity of required video decoding exceeds 4K 60Hz.
- When in full screen mode, due to the compatibility of the third party’s Apps, there might occur failure to return to the dual views.
- Multiple phones can be used. When in dual view mode, use / to move the focus to TV view and then cast another phone to the TV.
- To check all available history list, press
on the remote control, select Settings > System > Multi visual settings > Connection list and press OK to enter.
Blue Light Filter
It reduces the amount of blue light emitted by the screen, which can reduce the visual fatigue associated with screen viewing.
- Press
on the remote control to display the dashboard, select Picture > Advanced Settings > Colour and press OK/ to enter. - Select the Blue Light Filter option, and press OK to toggle between on or off.
Notes:
- After watching TV for half an hour, please move away from the TV and rest your eyes.
- When resting, please look far away to adjust the ciliary muscles of the eye to avoid eye strain.
- Please form a good habit of doing eye exercises to protect eyesight and prevent myopia.
Other information
Password in Parental Control
- Set the password in the Settings > System > Lock menu.
- The super password is 0423. If you forget your code, enter the super password to override any existing codes.
Troubleshooting
Please check the following list before requesting service.
There is no picture or sound.
- Make sure the power cord is properly inserted in the power outlet.
- Make sure the source type is set correctly.
- Make sure the antenna is properly connected.
- Make sure the volume is not set to minimum or the sound is not set to mute.
- Make sure the headphones are not connected.
- The TV may be receiving a signal other than from TV broadcasting stations
Picture is not clear.
- Make sure the antenna cable is properly connected.
- Consider whether your TV signal is being properly received.
- Poor picture quality can occur due to a VHS camera, camcorder, or other peripheral being connected at the same time. Switch off one of the other peripherals.
- The ‘ghost’ or double image may be caused by obstruction to the antenna due to high-rise buildings or hills. Using a highly directional antenna may improve the picture quality.
- The horizontal dotted lines shown on the pictures may be caused by electrical interference, e.g., hair dryer, nearby neon lights, etc. Turn off or remove these.
Picture is too dark, too light or tinted.
- Check the colour adjustment.
- Check the brightness setting.
- Check the sharpness function.
Remote control does not work.
- Check the batteries of the remote control.
- Make sure the remote sensor window on the TV front is not under strong fluorescent lighting.
- Try to clean the remote sensor window on the TV front with a soft cloth.
If the above suggestions do not solve your technical issue, please refer to the warranty card for service information
Operating Conditions
- Temperature 5°C – 35°C (41°F – 95°F)
- Humidity 20 – 75% (non-condensing)
Storage Conditions
- Temperature -15°C – 45°C (5°F – 113°F)
- Humidity 10 – 90% (non-condensing)
Radio Information
- Bluetooth® transmitter frequency range: 2402 – 2480MHz
- Bluetooth® transmitter power: 6dBm (+/-4dB)
- 2.4G Wi-Fi transmitter frequency range: 2412 – 2472MHz
- 2.4G Wi-Fi transmitter power: 14dBm (+4dB/-5dB)
- 5G Wi-Fi transmitter frequency range:
- Band 1: 5150 – 5250MHz
- Band 2: 5250 – 5350MHz
- Band 3: 5470 – 5725MHz
- Band 4: 5725 – 5850MHz
- 5G Wi-Fi transmitter power: 14dBm (+4dB/-5dB)
- DVB-T/T2/C tuner frequency range: 50.5 – 858MHz
- DVB-S/S2 tuner frequency range: 950 – 2150MHz
- Operation of 5150 – 5350MHz is restricted to indoor use only.

OSS Notice
- This product uses the GPL (Version 2 and 3) and LGPL (version 2.1) and MPL (version 1.1).
- To send inquiries and requests for questions regarding open source, contact nearest TCL office.
- This product uses some software programs which are distributed under the Independent JPEG Group.
- This product uses some software programs which are distributed under the libpng Project.
- This product uses some software programs which are distributed under the Freetype Project.
- This product uses some software programs which are distributed under the zlib Project.
- This product uses some software programs (libxml2, curl, expat, c-areas) which are distributed under the MIT.
- This product uses CyberLink for C which is distributed under the Open Source Project.
- This product uses opensl, xerces which is distributed under the Apach License Project.
- GPL software: Linux Kernel, glib, libiconv, gcc libgcc, gcc libstdc++, u-Boot loader, ffmepg, util-linux-ng, e2fsprogs, wget, iptables
- LGPL software: DFB (DirectFB), gstreamer, get plugins- base, gst-plugins-good, gst-plugins-bad, get plugins- ugly, gst-ffmpeg, glibc, wpa_supplicant
- BSD software: webp, mng, uriparser
- GNU software: dosfstools
[Legal Statement] of TCL – manufacturer of this TV set
- Due to the various capabilities of products featuring the SmartTV – Services, as well as limitations in the available content, certain features, applications, and services may not be available on all devices or in all territories. Some features on SmartTV may also require additional peripheral devices or membership fees that are sold separately. Please visit our website for more information on specific device information and content availability. The services and availability of content through SmartTV are subject to change from time to time without prior notice.
- All content and services accessible through this device belong to third parties and are protected by copyright, patent, trademark and/or other intellectual property laws. Such content and services are provided solely for your personal noncommercial use. You may not use any content or services in a manner that has not been authorized by the content owner or service provider. Without limiting the foregoing, unless expressly authorized by the applicable content owner or service provider, you may not modify, copy, republish, upload, post, transmit, translate, sell, create derivative works, exploit, or distribute in any manner or medium any content or services displayed through this device.
- YOU EXPRESSLY ACKNOWLEDGE AND AGREE THAT USE OF THE DEVICE IS AT YOUR SOLE RISK AND THAT THE ENTIRE RISK AS TO SATISFACTORY QUALITY, PERFORMANCE AND ACCURACY IS WITH YOU. THE DEVICE AND ALL THIRD PARTY CONTENT AND SERVICES ARE PROVIDED “AS IS” WITHOUT WARRANTY OF ANY KIND, EITHER EXPRESS OR IMPLIED. TCL EXPRESSLY DISCLAIMS
- ALL WARRANTIES AND CONDITIONS WITH RESPECT TO THE DEVICE AND ANY CONTENT AND SERVICES, EITHER EXPRESS OR, IMPLIED, INCLUDING BUT NOT LIMITED TO, WARRANTIES OF MERCHANTABILITY, OF SATISFACTORY QUALITY, FITNESS FOR A PARTICULAR PURPOSE, OF ACCURACY, OF QUIET ENJOYMENT, AND NON-INFRINGEMENT OF THIRD PARTY RIGHTS. TCL DOES NOT GUARANTEE THE ACCURACY, VALIDITY, TIMELINESS, LEGALITY, OR COMPLETENESS OF ANY CONTENT OR SERVICE MADE AVAILABLE THROUGH THIS DEVICE AND DOES NOT WARRANT THAT THE DEVICE, CONTENT OR SERVICES WILL MEET YOUR REQUIREMENTS, OR THAT OPERATION OF THE DEVICE OR SERVICES WILL BE UNINTERRUPTED OR ERROR-FREE. UNDER NO CIRCUMSTANCES, INCLUDING NEGLIGENCE, SHALL TCL BE LIABLE, WHETHER IN CONTRACT OR TORT, FOR ANY DIRECT, INDIRECT, INCIDENTAL, SPECIAL OR CONSEQUENTIAL DAMAGES, ATTORNEY FEES, EXPENSES, OR ANY OTHER DAMAGES ARISING OUT OF, OR IN CONNECTION WITH, ANY INFORMATION CONTAINED IN, OR AS A RESULT OF THE USE OF THE DEVICE, OR ANY CONTENT OR SERVICE ACCESSED BY YOU OR ANY THIRD PARTY, EVEN IF ADVISED OF THE POSSIBILITY OF SUCH DAMAGES.
- Third party services may be changed, suspended, removed, terminated or interrupted, or access may be disabled at any time, without notice, and TCL makes no representation or warranty that any content or service will remain available for any period of time. Content and services are transmitted by third parties by means of networks and transmission facilities over which TCL has no control. Without limiting the generality of this disclaimer, TCL expressly disclaims any responsibility or liability for any change, interruption, disabling, removal of or suspension of any content or service made available through this device. TCL may impose limits on the use of or access to certain services or content, in any case and without notice or liability. TCL is neither responsible nor liable for customer service related to the content and services. Any question or request for service relating to the content or services should be made directly to the respective content and service providers.
























