Trunk box for dogs
9Y0044891 Dog Transport Box
Instructions
9Y0044891 Dog Transport Box
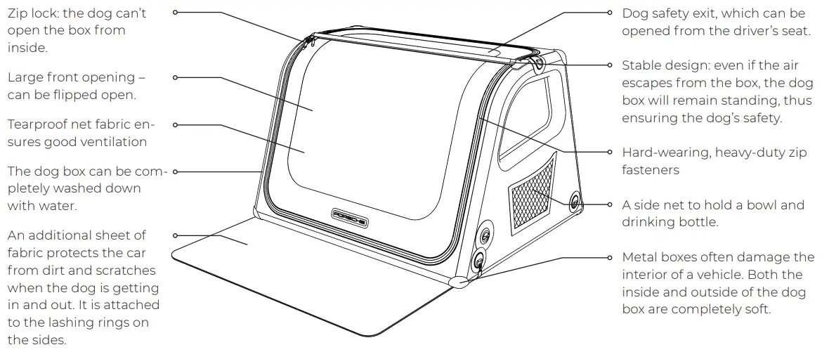
ILLUSTRATIONS


Your dog box package contains
- 1x dog box of your choice
- 1x foot pump
- 1x repair set (adhesive is not included in delivery – a standard PVC adhesive is recommended)
- 2x short straps with hooks
- 2x long straps with hooks
- 1x protective sheet for the opening edge
- 1x safety stabilization bar (already built in)
Your dog box is made of phthalate-free (non-toxic) PVC. Nevertheless, before using it for the first time, you should air it thoroughly in an inflated state.
ASSEMBLY
- Open the hooks, unfold the box (Fig. 1) and take out the foot pump.
- The stabilization bar must be pushed all the way into the end locking piece (Fig. 2).
- Open the cap of the valve. Press and turn the knob so that the inner pin of the valve is on top (Fig. 3).
- Next attach the pump to the valve and screw it on tightly in a clockwise direction (Fig. 4). Now you can pump up the box (Fig. 5). Go on pumping until it is no longer possible to press down with your foot.
- Close the cap of the valve so as to prevent any risk of injury (Fig. 6).
DISASSEMBLY
- Open the valve by pressing the pin inwards and turning it (Fig. 7). This allows the air to escape from the box.
- Fold both sides of the box inwards, then fold the back of the box downwards so that the air can escape.
- If desired, you can fold the box length ways once. Now connect each of the two long straps with one of the short straps and pass them through the lashing rings on both sides of the box, as shown in Fig. 8.
SAFETY DUE TO DROPSTITCH THREADS
Many thousands of threads stabilise the walls of the dog box and the air pressure gives it a flexibility and elasticity that protect the dog in the event of braking sharply, extreme bends in the road or, in the worst case, a collision.
FIXING THE BOX IN THE BOOT
The stable straps allow your dog box to be securely fixed in the boot of your vehicle. To do this, insert the hooks on one end of the straps into the lashing rings on the side of the dog box and insert the hooks on the other end into the lashing rings intended for them in the boot (Fig. right). You will find instructions for doing this in the vehicle instruction manual.

REPAIR SET
Should you discover a damaged area on your dog box from which air is escaping, you can repair it very easily. First, demarcate the damaged area (Fig. 9). Take one of the patches contained in the repair set and, if necessary, cut it to fit the size of the damaged area. Place the cut-out patch over the damaged area and draw round it with a pencil. Stick down masking tape along the pencilled line.
Using a small brush, spread the adhesive over the damaged area inside the tape (Fig. 10) and over the patch (Fig. 11). Remove the masking tape and stick the patch down over the prepared area (Fig. 12). To ensure firm adhesion, press the patch to the surface using a roller or similar object (Fig. 13).
IMPORTANT SAFETY INFORMATION
- When buying the box, make sure it’s the right size for your dog. It should offer enough room for the dog to be able to stand, turn comfortably and lie down.
- Only transport your pet in the dog box if it is already used to the box.
- To avoid any risk of choking, do not put a lead on your dog when transporting it in the box.
- Leaving pets alone for long periods can result in their becoming frightened and trying to get out of the box by force. This can lead to injuries.
- Never leave your dog alone in the car in high temperatures.
- Keep the dog box in a sheltered place.
- To inflate the dog box, only use the foot pump provided. A tyre air compressor is not suitable for inflating the box.
- Porsche accepts no liability for any damage to the dog box that may be caused by the dog, e.g. due to aggressive or poorly trained behaviour.
TECHNICAL DETAILS

MOBILITY
The dog boxes are also ideal for going on journeys.
Important: The box is not approved for transporting a dog on a plane.

EXPERTS RECOMMEND…
You should give your dog sufficient time to get used to its new box. The ideal approach with nervous animals is to first let them get used to the box at home and to use it sometime later in the car. All dog boxes also make an excellent place to sleep at home.
Put your dog’s favourite blanket in the box: familiar smells will also give the dog a greater sense of security when travelling in the car later on. You can familiarise your dog with the box by using their favourite treat or toy as well. Praise your pet frequently. If the dog is going to stay in the box for a longer period, you may consider establishing a word of command for the dog to get into the box. Once it’s inside, it gets a reward.
To begin with, always only close the box for a couple of minutes. So that the dog associates this time with something positive, you can put a favourite toy or a dog chew into the box with it. Each dog needs its own individual time to get used to its box. Once your dog feels fine in the box and isn’t displaying any stress reactions, you can lengthen the periods during which the dog box is closed.
The important thing is that these exercises should not last too long and that your dog is regularly allowed out of the box.
If your dog is also able to use the box as a sleeping and resting place at home, it will feel that the box is a safe place.
The final step is now the first drive. Put the dog box in your car and get the dog to jump into the box on your command or lift it into the box. You could already place a treat for the dog in the box beforehand. Repeat this procedure to create positive reinforcement for the dog. Remain standing next to the open box and praise your dog when it stays lying or sitting inside. Now close the zip for a couple of minutes and observe whether your dog is behaving peacefully and feeling good. Particularly the first drives can still be an unfamiliar experience, so only plan short routes to start with.
Little by little, increase the time span und be patient with your pet if it doesn’t work so well in the beginning. Even after the dog has got used to the box, new noises, passing landscapes, bends in the road or braking can still be overwhelming for it.
With a bit of preparation and time, your dog will definitely get used to going on drives in the box.
Dr. Ing. h.c. F. Porsche AG
Porscheplatz 1
70435 Stuttgart
www.porsche.com



















