www.windsterhood.com
User’s Manual
RA-7730SS
RA-7736SS
RA-7742SS
RA-7748SS
UNDER CABINET SERIES
RA-7730SS 36 Inch Stainless Steel Wall Hood
NOTE: PLEASE INSPECT HOOD IMMEDIATELY UPON RECEIVING. CLAIM OF DAMAGE AFTER 7 DAYS OF DELIVERY WILL BE DENIED.
This unit is designed for indoor residential use only. DO NOT USE OVER A WOOD GRILL OR MOUNT IN OUTDOOR ENVIRONMENT.
Please read this operation manual thoroughly before using your range hood. Store it in a safe location for when you need to reference it in the future.
SAFETY INFORMATION
TO REDUCE THE RISK OF A FIRE, ELECTRICAL SHOCK, AND/OR INJURY OBSERVE THE FOLLOWING:
- Unit is intended for indoor residential use only. If you should have questions, contact the manufacturer at the address or telephone number listed in the warranty.
- In case the unit should need to be cleaned or repaired, switch power off at service panel and lock service disconnecting means to prevent power from being switched on accidentally. When the service disconnecting means cannot be locked, securely fasten a prominent warning device, such as a tag, to the service panel.
- Installation work and electrical wiring must be done by a qualified technician in accordance with all applicable codes and standards, including fire-rated construction.
- Sufficient air is needed for proper combustion and exhausting of gases through the flue (chimney) of fuel-burning equipment to prevent back drafting. Follow the heating equipment manufacturer’s guidelines and safety standards such as those published by the National Fire Protection Association (NFPA), the American Society of Heating, Refrigeration and Air Conditioning Engineers (ASHRAE), and the local code authorities.
- Because the unit is made of stainless steel, it may contain sharp edges. Be careful to avoid cuts and abrasions by wearing protective gloves during installation and cleaning.
- Before you begin to cut or drill into the wall, verify that there is no electrical
wiring or any other hidden electrical components. - Ducted fans must always be vented to the outdoors.
- The unit must be properly grounded and installed at the recommended height before beginning operation.
- To reduce the risk of fire, use only metal ductwork.
CAUTION: FOR GENERAL VENTILATING USE ONLY. DO NOT USE TO EXHAUST HAZARDOUS OR EXPLOSIVE MATERIALS AND VAPORS.
TO REDUCE THE RISK OF FIRE, OR ELECTRIC SHOCK, DO NOT USE THIS FAN WITH ANY SOLID-STATE SPEED CONTROL DEVICE.
- Regardless of heat level, never leave any surface materials unattended while operating an open flame.
- Always turn the hood ON when cooking at high heat or when flambéing food (i.e. Crepes Suzette, Cherries Jubilee, Peppercorn Beef Flambé).
- Depending on the amount of usage, clean ventilating fans and filters frequently. Grease should not be allowed to accumulate on the fan or filter. For instructions on how to clean, see the maintenance page.
- Never leave surface units unattended at high settings. Boil-overs may cause smoking and greasy spillovers may ignite as result. Heat oils slowly in low or medium settings.
- Use proper pan size. Always use cookware appropriate for the size of the surface element.
TO REDUCE THE RISK OF INJURY TO PERSONS IN THE EVENT OF A RANGE TOP GREASE FIRE, OBSERVE THE FOLLOWING:
- SMOTHER FLAMES with a close-fitting lid, cookie sheet, or metal tray, then turn off the burner. BE CAREFUL TO PREVENT BURNS. If the flames do not go out immediately, EVACUATE AND CALL 911.
- NEVER PICK UP A FLAMING PAN — Doing so may result in serious burns and possibly spread the fire.
- DO NOT USE WATER – Grease fire must be extinguished before further action may be taken. Using water will agitate the grease and may cause a violent steam explosion.
- Use a Fire Extinguisher ONLY if:
- You know you have a Class ABC extinguisher, and you already know how to operate it.
- The fire is small and contained in the area where it started.
- The fire department is being called.
- You are able to safely control the fire with your back to an open exit. * Based on “Kitchen Fire safety Tips” published by NFPA.
PROP. 65 WARNING FOR CALIFORNIA RESIDENTS:
- This product may contain chemicals known to the State of California to cause cancer, birth defects, or other reproductive harm.
CONTENT CHECKLIST
- CONTENTS INCLUDED
a. (1) RA-77 series (30”, 36”, 42” or 48”) hood assembly
b. (1) Lower duct cover (14-1/4”)
c. (1) Upper duct cover (15-1/4”) with bracket
d. (1) User’s manual
e. (1) 6” – 7” transition collar
f. (2) Aluminum filters (RA-77 30” model only)
g. (3) Aluminum filters (RA-77 36” / 42” model only)
h. (4) Aluminum filters (RA-77 48” model only)
i. (1) Screw packet
j. (1) Light Fixture Tool - CONTENTS NOT INCLUDED
a. RA-77EXTDC (Extension duct cover)
b. RA-77DK (Ductless kit)
c. RA-77CFMR (CFM reducer)
d. 6” / 7” round solid metal duct or flexible aluminum duct
e. RA-77BF (Baffle Filter) - TOOLS REQUIRED (NOT INCLUDED)
a. Safety gloves
b. Safety glasses
c. Electric drill w/ starter bit
d. Utility knife
e. Spirit level
f. Measuring tape
g. Writing instrument (pen, marker, pencil)
h. Aluminum tape
MEASUREMENTS

PREPARATION
- BEFORE YOU START
**DO NOT INSTALL IF DAMAGED**
**RETURN OR EXCHANGE WILL BE DENIED IF INSTALLED**
a. Be sure you have all the content of your purchase and the required tools for this installation.
b. Installation may take at least 1 to 2 hours from start to finish.
c. Plan to use as few elbows or turns as possible for more efficient airflow.
d. Collar size may need to be increased if utilizing a long duct run.
e. At least 12” of vertical duct is required before any turn.
f. Do not try to install this unit by yourself, SERIOUS INJURY MAY OCCUR.
g. At least two people are needed for installation.
h. Hiring a certified installer and electrician is recommended. - LOCATION
a. Determine the exact location you want to install the range hood.
b. Distance between cooktop and range hood should be between 27”-33”.
c. Range hood should be mounted at stated measurements to ensure performance and lifespan of electrical components.
d. Correctly measure the dimension needed to install the unit. - HOOD
a. Inspect for any sign of defect or damage. (ie. scratches, dents, loose seams, etc.)
b. Power up the unit to make sure it is working properly.
Use Fig. 1a and 1b on page 5 for measurements
INSTALLATION
- WALL MOUNT INSTALLATION
a. Make sure all preparation steps are completed.
b. Determine your ceiling height to see if you need an extension.
i. Hood unit height = 12-1/4”
ii. Duct cover height = 14-1/4” (lower) + 15-1/4” with bracket (upper)
iii. Minimum height (duct cover only) = 14-1/4”
iv. Maximum height (duct cover only) = 28-1/4”
v. (OPTIONAL) Extension duct cover height = 46-3/4”
vi. Maximum height (duct cover with extension only) = 60”
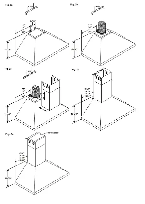
c. Determine the location you want to install the range hood. (Fig. 2a)
d. Prepare back wall frame with cross wood support.
e. Mount the unit onto wall with mounting screws (not included)
f. Adjust the duct cover mounting bracket to your desired height.
g. Use a spirit level to ensure the balance of the hood is true.
h. (OPTIONAL) Use the conversion collar for 7” ducting.
i. Connect a 6” or 7” ducting to the collar of the hood.
j. Connect the exhaust piping to the outlet of the unit. (Fig. 2b)
k. Finish off by sealing the connection point with aluminum tape.
l. Slide the duct cover into the unit and adjust its height. (Fig. 2c)
m. Secure it with the (6) duct cover screws provided. (Fig. 2d) - EXTENSION DUCT COVER INSTALLATION
a. Replace the original inner duct cover piece with the extension.
b. Determine the desired height to mount the duct cover.
c. REPEAT “STEP F – M” from WALL MOUNT INSTALLATION. - COLD WEATHER INSTALLATION (OPTIONAL)
a. Check with your local building codes to see if a CFM reducer is an acceptable alternative to make-up air.
b. Remove the RA-77CFMR (CFM reducer) and inspect for any sign of defect or damage. (ie. Cracks, broken flips)
c. AFTER COMPLETING Step A – G of Section 1 WALL MOUNT INSTALLATION
d. Place the CFM reducer onto the outlet of the unit and seal the connection point with aluminum tape. (Be sure it is secure with no opening or gaps)
e. REPEAT “STEP F – M” from WALL MOUNT INSTALLATION section. - DUCTLESS INSTALLATION (OPTIONAL)
a. AFTER COMPLETING Step A – G of Section 1 WALL MOUNT INSTALLATION
b. Remove the RA-77DK (ductless kit) and inspect for any sign of defect or damage. (ie. dents, broken inlet)
c. Mount the ductless kit at the top of the ceiling using the screws provided.
d. Make sure the duct cover vent opening aligns with the air diverter. (Fig. 2e)
e. Connect a 6” or 7” ducting to the collar of the hood.
f. Connect the exhaust pipe to the outlet of the unit. (Fig. 2b)
g. Connect the exhaust pipe to the air diverter collar.
h. REPEAT “STEP K – M” from WALL MOUNT INSTALLATION section.
INSTALLATION DIAGRAM
OPERATION & FEATURES
- EASY ACCESS CONTROL SWITCH (from left to right)
a. Button 1 – Power ON / OFF
b. Button 2 – Low speed
c. Button 3 – Medium speed
d. Button 4 – High speed
e. Button 5 – Lights ON/OFF - ALUMINUM FILTERS
a. (2) 14-7/8” x 10-5/8” aluminum filters (30” model only)
b. (3) 14-7/8” x 10-5/8” aluminum filters (36” / 42” model only)
c. (4) 14-7/8” x 10-5/8” aluminum filters (48” model only) - BAFFLE FILTERS(OPTIONAL)
a. (2) 14-7/8” x 10-5/8” baffle filters (30” model only)
b. (3) 14-7/8” x 10-5/8” baffle filters (36” / 42” model only)
c. (4) 14-7/8” x 10-5/8” baffle filters (48” model only) - GU10 LED 5W LIGHT FIXTURES
a. A set of (2) GU10 5W LED light fixtures will be included.
b. Additional GU10 LED lamps may be purchased separately at your local hardware store.
c. Light sockets can accommodate both halogen and LED lamps without needing to change the transformer.
5. REPLACING THE LIGHT SET
**NOTE: BE SURE THE LIGHTS ARE NOT HOT
* Use maximum of GU10 5W LED light bulb *
a. Twist outer light ring counter clock wise with light key.
b. Outer light ring should drop down along with the light bulb.
c. Slightly pull the light away from the ring.
d. Move light to left or right side of the ring.
e. Twist light bulb counter clock wise to release it.
f. Replace light bulb.
Electrical Shock Hazard
Warning: To avoid electrical shock, replacement GU10 bulbs MUST contain UL or CSA certification.
**STEP BY STEP DIAGRAM ON NEXT PAGE
Using the light fixture tool provided, line up each corner of the fixture tool in parallel with the notch located on the outer ring of the light fixture. Twist the outer ring counterclockwise to unlock the light fixture housing.

WARNING!!!
Check to make sure all power sources are disconnected before starting any troubleshooting. Safety gloves and glasses should be worn when working on the unit. Serious injury or death may occur if safety precautions are not followed.

6. CHARCOAL FILTERS
**DO NOT WASH CHARCOAL FILTERS! IT WILL DISSOLVE!!**
a. Insert the charcoal filters on each side of the motor on top of the white protective grill as shown below. (Fig. 3a)

CLEANING & MAINTENANCE
WARNING!!!
To prevent the possibility of a fire and explosion, do not use flammable liquids or solvents to clean the unit or any of its parts.
Check to make sure all power sources are disconnected before servicing or taking unit apart for cleaning.
Please thoroughly clean the unit weekly as stainless steel can rust under certain condition or by improper cleaning.
- RANGE HOOD
a. Use household cleaners to remove grease or dirt from the outer shell of the unit. Spray on a wiping cloth or sponge and wipe in the direction of the to avoid scratching the unit. (DO NOT SPRAY DIRECTLY ONTO UNIT)
b. Clean the inner working of the unit periodically to avoid grease build-up.
c. Do not open the control switch panel while the hood is connected to power.
d. Use stainless steel cleaner to bring back the shine to the unit. - BAFFLE FILTERS
a. Remove baffle filters from the unit and place in warm soapy water.
b. Clean the baffle filters regularly for the most efficient suction power.
c. Do not drop baffle filters.
d. Let it soak thoroughly and then clean it with wiping cloth or sponge.
e. Baffle filters may also be cleaned using a residential dishwasher.
TROUBLESHOOTING
WARNING!!!
Check to make sure all power sources are disconnected before starting any troubleshooting. Safety gloves and glasses should be worn when working on the unit. Serious injury or death may occur if safety precautions are not followed.
| RA-77 Series | |
| GU10 LED Light Issue (One light not turning on or all not turning on) Speed indicator not showing speed levels Burnt/melted control switch Speed levels not working correctly Unit lacking smoke intake Unit showing no power indication Unit making humming noise | 1. Replace old defective GU10 fixture with new GU10 LED 5W light fixtures found at your local hardware store. Complete control switch replacement is required. Complete control switch replacement is required. 1. Check all wiring to and from the unit. 2. Complete control switch replacement is required. 1. Check ducting for foreign objects. 2. Ensure the ducting is properly sealed. 3. Clean filters to increase airflow. 1. Make sure the power source is working properly. 2. All wiring is connected. Replace defective capacitor with new one. |
PART LIST / REPLACEMENT

| # | Description | # | Description |
| 1 2 3 4 5 6 7 8 | Duct cover bracket Duct cover 6” collar Duct cover panel Hood bracket Hood body assembly GU10 5W LED lights Light cover | 9 10 11 12 13 14 15 | Control switch Control support panel Capacitor Squirrel cage motor 6” – 7” transition collar Aluminum filters (RA-77) Baffle filters (Optional) |
WARRANTY / CONTACT US
LIMITED WARRANTY
Windster Hoods Inc. warrants its product against defects in material or workmanship as follows:
Labor: For a period of (1) year from the date of purchase, if the product is determined to be defective, Windster will attempt to repair the product, at its option, at no charge.
After the warranty period has expired, the consumer will be responsible for all labor fees. (All labor repairs are limited to the installation of internal components)
Parts: Windster Hoods, Inc. will supply, at no charge, new or rebuilt replacements in exchange for defective parts for a period of two (2) years. After the warranty period, the consumer will be responsible for all parts costs. During the “parts” warranty period, there will be no charge for parts.
Motor: Windster Hoods, Inc. will also provide, at no charge, new or rebuilt motor parts in exchange for defective parts for a period of five (5) years, excluding motor cages.
After the warranty period, a consumer will be responsible for all motor parts costs. During the “motor” warranty period, there will be no charge for motor parts.
Please keep the original sales receipt, as it will constitute as your proof of purchase. Consumers must provide the serial number and the original sales receipt to submit a warranty claim. Warranty claims submitted without serial numbers and original sales receipts will be denied. This warranty applies only to products purchased and serviced in the United States.
For products purchased in Canada, please contact your local retailer where you purchased the unit for service.
Windster Hoods, Inc. will not be held liable for removal and/or installation fees of the malfunctioning, defective, and/or replacement unit.
*Windster Hoods, Inc. reserves the right to determine the validity of your warranty claim.
WHAT IS NOT COVERED BY MANUFACTURER WARRANTY
- Damages resulting from any of the following:
a. Improper installation or maintenance
b. Any repair, modification, alteration, or adjustment not authorized by the manufacturer or an authorized service dealer
c. Misuse, accidents, and/or neglect
d. Incorrect electric current, voltage or power supply
e. Improper setting of any control (Pressing multiple selections at the same time)
f. Improper chemical cleaning (commercial or industrial cleaning agents) - Products purchased for use in an outdoor, commercial, and/or industrial setting (such as in a hotel, office, restaurant, or other business)
- Damage resulting from natural disasters (earthquake, flood, storm, etc.)
- Regular maintenance of the product
- Wear and maintain items such as: a. Aluminum Filters, Baffle Filters, Charcoal Filters, Mesh Filters, Oil cups, Lighting bulbs, light fixtures etc.
- Corrosion
- Oil Cup
- Motor Cage
- Light Bulbs
No returns refunds exchanges if the hood
- Is missing parts
- Been Installed
- Been Used
CONTACT US
Windster Hoods, Inc.
www.windsterhood.com
Information subject to change without notice




















