ESP Water Product Air Gap Faucet
Air Gap Faucet Installation
Faucet Installation
- Unpack the faucet, and insert the Top Spout into the Main Body by pushing down until inserted, then screw the Top Cap clockwise until secured in place.

- Cut zip tie on the pre-installed 1/4-inch blue water connection tubing, and unroll to straighten. Be careful not to cut the tube when removing the zip tie.
- Connect the 1/4-inch orange brine input tubing. Firmly insert one end into the 1/4-inch brass brine input connector underneath the faucet. Be sure that the tube is fully inserted over the barb until it can’t go further. Pull on the tube to ensure the tube is securely in place and does not come off. The opposite end of the orange tube will connect to the flow restrictor later (see instructions on page 16).

- Connect the 3/8-inch black drain tubing. Firmly insert one end into the 3/8-inch brass drain output connector under the faucet. Be sure that the tube is fully inserted over the barb until it can’t go further. Pull on the tube to ensure the tube is securely in place and does not come off. The opposite end of the black tube will connect to the drain clamp later (see instructions on pages 11-12). Both tubes should now be securely connected.

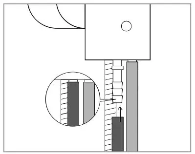
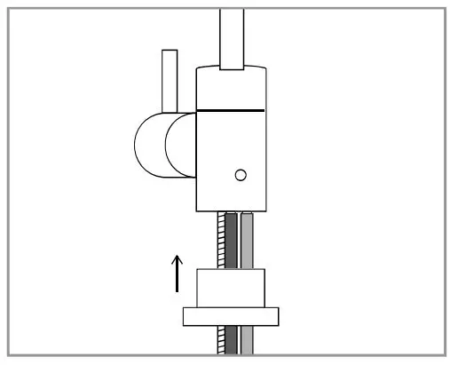
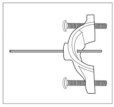
- Attach the Escutcheon to the Main Body by inserting the blue faucet tubing, orange brine input tubing, and black drain tubing (3 tubes) through the Escutcheon. Slide the Escutcheon all the way up until connected to the Main Body.

- Install the faucet on top of the countertop or sink, and feed all three tubes through the hole to the cabinet below.

- Slide the large, metal Split Washer around the tubes and metal shaft against the bottom of the countertop or sink hole. The open split should be facing against the metal shaft.

- Install the Spacer with the open-ended hole facing up by sliding the blue tube through as shown. This will keep the blue tube separate from the orange and black tubes.

- Install the small, metal Split Washer, Lock Washer, and Locking Nut through the blue tube and tighten until the faucet is firmly in place. The faucet is now installed.

- Pull the plastic tab out from the Battery Seat to activate the LED Indicator. The LED light will blink red once then blue once, then it will be ready for use.
TIP: Depending on the amount of space underneath your sink, you may need to cut and shorten some of the tubing based on your needs. When cutting, use sharp scissors or a cutting knife for a clean cut. The opening edge of the tube should be even and clean. If the opening is frayed or crimped, this may affect the flow of the water running through the tube.
Drain Clamp Installation
Before Installation
You will need to have these tools {not included) for the following installation: 1) drill, 2) 1/4-inch drill bit, and 3) 3/8-inch drill bit
WARNING: This step may require drilling into the existing drain pipe. Please seek professional help when completing this step, and always wear safety protection including safety goggles!
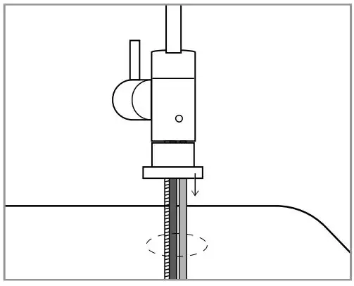
- Locate a suitable area on the sink drain pipe to install the provided drain clamp.
NOTE: Select a location for the drain hole based on the design of the plumbing. It should be installed above the trap and on the vertical or horizontal tail piece. Locate the drain connection away from the garbage disposal. See example to the right.
- You will need to drill a 3/8-inch hole in the drain pipe to install the drain clamp. Use a 1/4-inch drill bit, and carefully drill a pilot hole in the drain pipe. Use a 3/8-inch drill bit to enlarge the hole. Clean the debris from the pipe and the hole before continuing.
Warning: DO NOT drill all the way through the pipe.
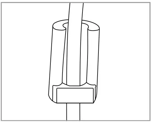
- Find the half of the drain clamp with the hole in its center. Take the foam gasket piece included with the hardware pack and remove the adhesive backing. Align the foam gasket hole to the hole on the drain clamp, and stick the adhesive to the inner wall of the drain clamp half.
- a. Insert a screwdriver, straw, or pencil through the hole on the drain saddle to use as a guide.

- b. Insert the end of the guide into the 3/8-inch hole in the drain pipe, and slide the clamp with the foam against the pipe, lining up both holes. Take the back half of the drain clamp and position it against the back side of the drain pipe. Screw the bolts through both halves of the drain clamp, and apply the nuts to secure. Do not over-tighten.

- c. Once the drain clamp is secure on the pipe, remove the guide.

- a. Insert a screwdriver, straw, or pencil through the hole on the drain saddle to use as a guide.
- Take the end of the 3/8-inch black drain tube from the faucet, and insert into the 3/8-inch Quick Connector on the drain clamp and push firmly in place.

Filter Head Connection Assembly Installation
Warning: Be sure to install the Filter Head Connection Assembly so that the top of the assembly is at least 14 inches from the floor of the sink cabinet. Otherwise, the filters will not install correctly.
- Using a pencil, mark where the Filter Head Connection Assembly will be mounted to the sidewall of the cabinet (at least 14 inches from the cabinet floor). Use a level to make sure that the Assembly will be mounted straight.
NOTE: Before you mount the Connection Assembly, it may be a good idea to practice inserting and removing the filters. - Insert the two mounting screws through the holes in the Assembly frame, and screw into the cabinet sidewall.

Filter Installation
- It is very important to install the filters in the correct order. Match the same color label on each filter to the color label on the Filter Head Connection from left to right:
- Activated Carbon Plus Filter
- E2RO Membrane Filter
- Carbon Block Filter
- To insert the filters, line up the arrow on the filter head with the arrow on the filter.

- With the top and bottom arrows lined up, push the top of the filter into the housing and turn to the right until the filter will not turn anymore. The filter head arrow should now be lined up with the “circle” icon and notch on the top of the filter.

- Repeat the process for the E2RO Membrane and Carbon Block filters.

Water Storage Tank Prep/Using “Quick Connectors”
WARNING: DO NOT tamper with the air valve cap on the front of the water storage tank. It has been preset at 6psi.
- Apply Teflon tape around the threaded outlet on top of the water storage tank.
- Screw the Tank Ball Valve tightly to the top of the tank.
- Place the tank on the tank stand with the valve upright, and position it underneath the sink next to the system assembly.

WARNING: DO NOT hold the ball valve to lift or carry the tank. Personal injury or property damage may result if the valve breaks off.
Using “Quick Connectors”
Tube connections on the T-valve, Filter Head Connection Assembly, and Indicator Faucet are all of the “Quick Connect” variety. The steps below illustrate how to connect and disconnect the tubes from these connectors.
- a. Push the tube into the Collet. The collet is a collar that provides a secure fit for the Tube and prevents water leaks.
- b. Push the tube in until it stops. The tube will be secure and resistant to tugs or pulls. The collet will be rigid and raised slightly from the Connector Housing.
- c. To disconnect the tube, push down and hold the collet first, and then pull the tube out gently.
NOTE: Visit brondell.com for our Quick Connect Tutorial Video.
Connecting the Tube
- Water Supply Connection
- a. Measure the distance from your T-valve to where you have installed the filter head assembly, and cut the white, Water Supply Tubing. Insert one end of the tubing firmly into the Quick Connect fitting on the open side of the T-valve. Be sure to push in all the way, and ensure the tubing is not bent or kinked.
TIP: When cutting the Water Supply Tubing, use sharp scissors or a cutting knife for a clean cut. The opening edge of the tube should be even and clean. If the opening is frayed or crimped, this may affect the flow of the water running through the tube. - b. Connect the opposite end of the white Water Supply Tubing into the 90° Quick Connect elbow labeled “Inlet” located on the left side of the Filter Head Connector Assembly.

- a. Measure the distance from your T-valve to where you have installed the filter head assembly, and cut the white, Water Supply Tubing. Insert one end of the tubing firmly into the Quick Connect fitting on the open side of the T-valve. Be sure to push in all the way, and ensure the tubing is not bent or kinked.
- Faucet Connection
Connect the open end of the Blue Tubing from the Faucet to the Filter Head Connector Assembly “Outlet” by inserting the Tube into the Quick Connect on the right side. Be sure to push in all the way, and ensure the tubing is not bent or kinked.
- Brine Input to Flow Restrictor Connection
Take the opposite end of the 1/4″ orange brine input tube from the faucet, and firmly insert into the Quick Connect on the Flow Restrictor. Be sure to push in all the way and ensure the tubing is not bent or kinked.
- Tank Connection
- a. Measure out the white Water Supply Tubing, and carefully cut a piece for connecting the tank. Locate the Shut-off Valve Assembly. Insert one end of the tubing firmly into the Quick Connect on the assembly. Be sure to push in all the way, and ensure the tubing is not bent or kinked.
- b. Unscrew the side cap from the Tank Ball Valve located on top of the tank. Take the cap and firmly slide the opposite end of the white tube through the cap.
- c. Firmly insert the tube into the Tank Ball Valve. Slide the cap over the valve, and securely tighten into place.

- Position the blue valve in the OFF position facing left.

PREPARING FOR USE
Checking for Leaks/Flushing the System
Turn on Water & Check for Leaks
NOTE: Before turning the cold water on, review the installation instructions to ensure that the T-valve and water hoses are connected correctly and securely.
- Turn on water supply

- a. Open the T-valve by turning the valve arm 90° as shown.
- b. Turn the cold-water supply valve at the wall counterclockwise to turn on. The cold-water supply will then begin to supply water to the Capella.
- Checking for leaks
- a. Once the water supply has been turned on, check for any signs of leaking throughout the system.
- b. If no leaks are found, wait 5 minutes and check one more time. If there is still no leaking, then continue to next step to flush the system.
NOTE: Failure to properly install this product or to properly check for leaks may cause damage to the property. In these instances, Brondell, Inc. will not be held responsible for any damages.
Flushing The System
- Turn on the blue tank shut-off valve so that it is lined up in the same direction of the tank tubing.

- Turn the provided faucet on all the way for 10 minutes to purge all the air out of the system. It is normal for some water to flow out of the faucet during this first purge.
- After the initial 10-minute purge, turn the provided faucet off and let the system run for 90 minutes to allow the water tank to fill for the first time.
NOTE: Depending on water temperature and incoming water pressure, it may take a shorter or longer period of time for the tank to fill. - When the tank is full, turn the faucet on all the way once more for 10 minutes (or until the tank empties) to flush the filters and the water tank.
- Turn the faucet off.
- Repeat steps 3 and 4 and flushes the system 2 more times (total 3 flushes). After the last flush, allow the tank to refill, and then filtered water will be ready to drink.
- Record the installation date on the Filter Change Chart on page 21 or on the provided sticker. For convenience, you may place the sticker under the sink or in another accessible place.
NOTE: Do not drink the water from the system until you have completed flushing the system.
Water Pressure
Traditional RO systems run on water pressure. Your incoming water pressure has a direct effect on how well your RO system will perform. With sufficient water pressure (max 100 psi), your RO system will function well and fill up the storage tank quickly. To test your water pressure, you can use a water pressure gauge from your hardware store that connects to your sink or garden faucet. Turn on the water all the way to FULL, and take a reading. Some areas may have different water pressure during the day and night. To get an accurate measurement, take several measurements at different times of the day and average them out. If the tank takes too long to fill up, you may have insufficient water pressure (below 35 psi) and may need to add a pump to increase your water pressure. The type of booster pump that you may need will vary depending on your specific usage and situation. Non-standard installation (external booster pump or diverting water to a secondary outlet) may reduce the filter life or impact the system’s operation.












































