THERMORY Nº63 Barrel Sauna Installation Guide
PARTS 1



PARTS 2


Installation Instruction
STEP ZERO
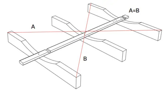
Before you begin, be sure the sauna will fit in your chosen location.
Approximately 8’ x 8’ is ideal.
Overall dimensions are shown here.
Be sure the site is level and free of standing water after rainfall.
Concrete, pavers or crushed stone is preferred.

STEP ONE
Place the support cradles (A) on level site. The middle support cradle will have no dowel. Carefully level for better stability.
Place the center stave (B) on wooden dowels embedded in outer support cradles (A).
Fix the center stave (B) with screw 4.2 x 70 (N)

STEP TWO
Measure support cradles (A) diagonally from corner to corner.
Measurements “a” and “b” should be equal to ensure the cradles are square.
Be sure cradles remain level.

STEP THREE
Place 6 sauna body staves (C, C1) to each side of the center stave (B) and fix with screws 4.2 x 70 (N).
Body staves (C) are left and right sided.
Be sure to align the panel groove on every next body stave

STEP FOUR
Place front panel with sauna doors (D) and rear panel (D1) into the trimmed grooves. Be sure each panel is centered, leveled, and completely seated into the floor panel.
Bind these panels together by temporarily placing one or two body stave (C) on top of them.

STEP FIVE
Two front side panels (E, F) attach to the front panel (D) and two back side panels (E1, F1) attach to the rear panel (D1) by 4 screws 5.0 x 120 (M) and 4 stainless steel screws 4.20 x 70 (N1).
Be sure the bench supports face the interior of the sauna.
Confirm that the combined width of the rear wall (E1, D1, F1) matches the combined width of the front wall (E, D, F).

STEP SIX
Continue placing body staves (C) tightly on both sides of the sauna using rubber mallet, while fixing body staves on the front panel with 4.2 x 70 screws and rear window panel with 4.0 x 50 screws to prevent glass breakage.
To finish the roof top joint, use top stave (H). Different thickness options are provided to completely fill the gap.

STEP SEVEN
Measure steel bands (I) to ensure correct length of 276,” +/- 1/2” is acceptable.
Install steel bands (I) by wrapping bands around barrel prior to connecting with bolts and nuts (U).
Place steel bands evenly around barrel, covering screw heads.
Measure from steel band to barrel edge to ensure the steel band is even.
Cover roof with roof tape. Rub and smooth with pressure to ensure adhesion.
Install interior aspen roof trim (O) with 4.0 x 50 (P1) stainless steel screws.

STEP EIGHT
Attach bench supporting leg (J1) to the bench (J), install two sauna benches on wall mounts using stainless steel screws 4.2 x 70 (N1).
Hold the seat and leg assembly tight to the sauna wall. Using a level, make sure the bench seat is level from front to back. This will ensure proper placement.
Install backrests (J2) at your chosen height using stainless steel screw 4.0 x 50 (P1)

STEP NINE
Wire raceways (V) and flooring duckboards (L) can be used for wiring runs, confirm specific wiring runs needed for chosen stove.

STEP TEN
Place waterproof roof cover (Z) and fix it with wooden slat (Z1) and screws 4.0 x 50 (P).
Install front and rear decorative roof finishing boards (W), fixing by screws 4.0 x 50 (P).

WATCH THE VIDEO
SEE HOW ASSEMBLY WILL LOOK HERE.

Disclaimer
Everything you need to build your very own Thermory Barrel Sauna is right there in front of you. If it looks like a lot, it is. If it seems too complicated to assemble, it isn’t.
These instructions are specifically written to guide you through each step with ease. And if you need additional encouragement, you can scan the code on the back of this guide to see how it’s done.
The Thermory Barrel Sauna Nº63 is designed for up to six people. That’s plenty of room for you and the friends helping you put this together. But if you want to enjoy the fi rst steam all by yourself, we understand.
The Wait Is Over.
We truly appreciate the opportunity to share our love of sauna culture with you. And if there’s anything we can do to make your sauna experience better, please don’t hesitate to let us know. If not, just relax and enjoy.

Customer Support
Thermory USA – Denver
537 W. Highlands Ranch Pkwy, Ste. 114
Highlands Ranch, CO 80129 720.759.7268
[email protected]
Thermory USA – Buffalo
56 Harvester Ave, Ste. 1-201
Batavia, NY 14020
585.591.6590
[email protected]
















