Maxxima MRL-S20803 2Round Anti-Glare Installation Guide

The units covered in these instructions are intended to retrofit Type IC or Type Non-IC luminaries.
WARNING / ATTENTION
- Risk of fire. Supply conductors (power wires) connecting to the fixture must be rated 90° C. If uncertain, consult an electrician.
- Risk of fire or electric shock. LED Retrofit Kit installation requires knowledge of luminaries electrical systems.
- Risk of fire or electric shock. If not qualified, do not attempt installation. Contact a qualified electrician.
- Risk of fire or electric shock. Install this kit only in the luminaires that have the construction features and dimensions shown in the photographs and/or drawings.
- To prevent wiring damage or abrasion, do not expose wiring to edges of sheet metal or other sharp objects.
- This lamp is not intended for use with emergency exit fixtures or emergency lights
CAUTIONS
- For your safety read and understand instructions completely before starting installation.
- Before attempting installation, check your local electric code, as it sets wiring standards for your locality.
NOTES
- If luminaire (fixture) is to be switched from a wall switch, make sure black power supply wire is connected to the switch. DO NOT connect the white supply wire to the switch.
- Make sure no bare wires are exposed outside the wire nut connectors.
- Do not make or alter any open holes in an enclosure of wiring or electrical components during kits installation.
Hole Cutout Diameter
The Hole Cutout Diameter size is 2.5″ or 65mm

Installation Guide:
- Turn off the power before installation. Remove the existing fixture if applicable.
- Determine the location for installation and cut ceiling hole with an approximate diameter of 2.5” or 65mm. (Fig. 1)
- Open the DRIVER/JUNCTION BOX cover and remove the appropriate knockout(s) on the side panel (Fig. 2). Install the appropriate cable clamp(s) (not included) and insert the electrical supply cable through the cable clamp. Connect the ground wire to the green wire terminal, hot wire to the black wire terminal and neutral wire to the white wire terminal using the wire nuts provided.
- Place all wiring and connections back into the box, select your preffered CCT and close the cover. Connect the DRIVER/JUNCTION BOX to the light panel using the CONNECTOR.
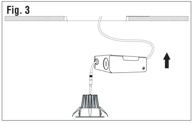
- Insert DRIVER/JUNCTION BOX through the mounting hole (Fig. 3) and secure using mounting tabs.
- Push the SPRING-LOADED CLIPS into the mounting hole upwards and insert LIGHT PANEL into it. Release the clips and the fixture will be pulled flush to the ceiling. (Fig 4)




Five Year Warranty:
Maxxima extends a 5 year limited warranty to the original purchase that the products listed are free from defects in material and/or workmanship only. Maxxima will replace any warrantied product to the original consumer/ purchaser if the product fails because of defects due to workmanship and/or materials within the limited warranty period. Limited warranty is not transferable and applies to the original installation of the Maxxima product. This offer does not constitute in any way a product guarantee and Maxxima does not hereby assume any obligation whatsoever beyond sending a free replacement product.


















