
OCANNON 1903002 Low-Profile Swivel Base Instruction Manual


CAUTION:
READ THIS MANUAL CAREFULLY BEFORE OPERATING YOUR NEW CANNON® ACCESSORY. RETAIN FOR FUTURE REFERENCE.

NOTE: Do not return your CANNON® accessory to your retailer. Your retailer is not authorized to repair or replace this unit. You may obtain service by:
- calling CANNON® at 1-800-227-6433;
- returning your accessory to the Factory Service
Center; 121 Power Drive, Mankato, MN 56001
Please include proof of purchase, and purchase date for warranty service with any of the above options.
Mounting the Swivel Base
Decks Less Than 7/16” Thick: Where access to the underside of the deck is not available, the swivel base can be mounted using wellnuts. Use the base as a template to mark locations and drill four 1/2” holes. Using four 1/4”-20 x 2.25” truss head bolts and four wellnuts, mount the base. Tighten the screws so the wellnuts are firmly compressed as pictured (see Figure 1).
NOTE: Wellnuts cannot be used for decks thicker than 7/16”.

Decks More Than 7/16” Thick: For decks thicker than 7/16” or where access to the underside of the deck is available, the swivel base can be mounted using bolts, nuts, and washers. Use the base as a template to mark locations and drill four 9/32” holes. Using four of each 1/4”-20 truss head bolts, flat washers (not included), lock-washers, and nuts, mount the base as pictured (see Figure 2).
NOTE: Thickness of boat deck will determine length of bolt required.

Decks Less Than 1/4” Thick: To prevent deflection and add stability to decks thinner than 1/4”, we recommend using a Cannon Deck Plate (part no. 2200693). To mount the Deck Plate, use it as a template to mark hole locations. Fasten it to your boat with four 1/4”-20 flat head machine screws with wellnuts, if you cannot access the underside of the deck, or with washers and nuts if you do have access under the deck (see Figure 3).
IMPORTANT: We highly recommend using the Deck Plate for downriggers with telescopic booms

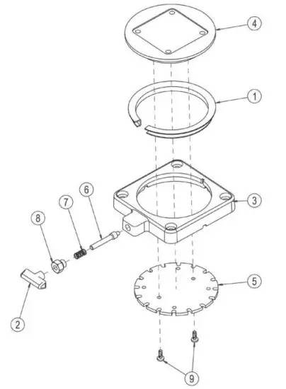
Parts List
Parts List—2207003



Parts List—1903002


Mounting the Tablock Base
(For Lake-Troll Users)
When mounting a tablock base, it is necessary to place 4 split lock washers between the two bases (as shown to the right). This will allow the swivel base to rotate easily with the tablock base. Mount the tablock base with 1/4”-20 x 1 1/2” truss head screws to the swivel base.

CANNON® LIMITED WARRANTY
Johnson Outdoors Inc. warrants to the original purchaser that if the accompanying product (see exclusions below) proves to be defective in material or workmanship within the following warranty periods, Johnson Outdoors Inc. will, at its option, either repair or replace same without charge (but no cash refunds will be made):
- The boom, motor, and reels, plus all Lexan®* parts, including but not limited to frames and bases, will be free from defects in materials and workmanship, subject to normal wear and tear, for the original purchaser’s lifetime.
- All other items will have 1-year limited warranties from the date of original retail purchase, except THE FOLLOWING ITEMS THAT HAVE NO WARRANTY WHATSOEVER:
boot covers, clothing, Dacron line, rubber bands, swivel lock pin, weights, and wire cable. This limited warranty may be enforced only by the original purchaser; all subsequent purchasers acquire the product “as is” without any benefit of this limited warranty. Repair or replacement of the product as set forth in this limited warranty shall be the original purchaser’s sole and exclusive remedy and Johnson Outdoors Inc.’s sole and exclusive liability for breach of this warranty.
EXCLUSIONS
This warranty does not apply in the following circumstances:
- When the product has been connected, installed, combined, altered, adjusted, serviced, repaired, or handled in a manner other than according to the instructions furnished with the product
- When any defect, problem, loss, or damage has resulted from any accident, misuse, negligence, carelessness, or abnormal use, or from any failure to provide reasonable and necessary maintenance in accordance with the instructions of the owner’s manual
LIMITATION AND EXCLUSION OF IMPLIED WARRANTIES AND CERTAIN DAMAGES
THERE ARE NO EXPRESS WARRANTIES OTHER THAN THESE LIMITED WARRANTIES. JOHNSON OUTDOORS INC. DISCLAIMS LIABILITY FOR INCIDENTAL AND CONSEQUENTIAL DAMAGES, AND IN NO EVENT SHALL ANY IMPLIED WARRANTIES (EXCEPT ON THE BOOM, MOTOR, REELS, AND ALL LEXAN®* PARTS), INCLUDING ANY IMPLIED WARRANTY OF MERCHANTABILITY OR FITNESS FOR PARTICULAR PURPOSE, EXTEND BEYOND ONE YEAR FROM THE DATE OF PURCHASE (AND IN THE CASE OF THE BOOT COVERS, CLOTHING, DACRON LINE, RUBBER BANDS, SWIVEL LOCK PIN, WEIGHTS, AND WIRE CABLE, JOHNSON OUTDOORS INC. DISCLAIMS ALL IMPLIED WARRANTIES). THIS WRITING CONSTITUTES THE ENTIRE AGREEMENT OF THE PARTIES WITH RESPECT TO THE SUBJECT MATTER HEREOF; NO WAIVER OR AMENDMENT SHALL BE VALID UNLESS IN WRITING SIGNED BY JOHNSON OUTDOORS INC.
Some states do not allow limitations on how long an implied warranty lasts or the exclusion or limitation of consequential damages, so the above limitation or exclusion may not apply to you. This warranty gives you specific legal rights, and you may also have other rights that vary from state to state.
* Lexan is a registered trademark of General Electric.
To download product manuals or purchase Cannon products from an authorized dealer, please visit our web page at www.cannondownriggers.com
Johnson Outdoors, Inc. / Cannon Division
121 Power Drive, Mankato, MN 56001
1-800-227-6433
© 2007 Johnson Outdoors, Inc. All rights reserved.
WARNING: This product contains chemical(s) known to the state of California to cause cancer and/or reproductive toxicity.
Read More About This Manual & Download PDF:

















