

BBQ Smoker
USER MANUAL
Model No: 4666
Safety Instructions
Notice: Ensure you read and fully understand instructions before use
While every attempt is made to ensure the highest degree of protection in all equipment, we cannot guarantee freedom from injury. The user assumes all risk of injury due to use. All merchandise is sold on this condition, which no representative of the company can waive or change.
- Make sure all fastenings are tightly in place and that everything is in order before using the product. This should be checked periodically by an adult.
- This product is intended for outdoor use only.
- Only use this product away from wooden fences, overhanging trees or other flammable objects. ·
- Only use this product on firm, level ground. ·
- After lighting, do not leave the product unattended.
- Keep animals and children away from the product during use.
- Do not move the product once it has been lit.
- Do not attempt to use this product in enclosed areas.
- Once it is lit, the product will become very hot. Use proper outdoor cooking mitts and avoid skin contact with all hot metal surfaces on the product. ·
- If the product is damaged or has any defects, please contact [email protected].
Assembly Instructions
Parts List


Step 1
Attach three legs (G) to lower body (A) using six bolts (AA) & six nuts (EE), then attach door (H) to lower body (A) using eight bolts (CC) & eight nuts (GG). Attach three support brackets (L) to lower body (A) using three bolts (BB) & three nuts (FF). Place charcoal grate (F) inside the charcoal pan (D).

Step 2
Attach door(H) to upper body(B) using eight bolts (CC) & eight nuts (GG). Attach three support brackets (L) to upper body (B) using three bolts (BB) & three nuts (FF). Attached two handle bases (J) and two handle knobs (K) on upper body (B) using two bolts (DD).

Step 3
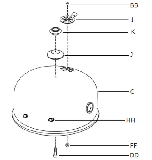
Attach handle base (J) and handle knob (K) to dome lid (C) using one bolt (DD). Attach air vent (I) to lid (C) using one bolt (BB) & one nut (FF). Attach two irons supports (M) to dome lid (C) using four nuts (HH).

Step 4
Stack the parts as shown below.

Step 5
The smoker can be used with lower body & dome lid only-as a charcoal grill, without needing to use water pan.

Caution
Caution: Be careful to not spill hot water. Ensure all bolts are tight.

Caution
The smoker must only be used outdoors and must be placed firmly on a solid, even and non-combustible surface, shielded from vind.
WARNING: Keep children away from the smoker during use and until it has cooled down after use.
WARNING: Any modification of this unit can be dangerous.
WARNING: Only use this smoker outdoors in a well-ventilated area. Do not use in a garage, butiding, or any other enclosed area.
WARNING: Do not use the smoker within 1 m. (3 ft.) of combustible materials.
WARNING: The entire cooking unit gets hot when in use. Do not leave unattended.
WARNING: Keep the cooking area dear of flammable vapors and liquids such as gasoline, alcohol etc. and combustible materials.
Do not place the smoker near entrances, doorways or in thoroughfares. Never move the smoker while it ts hot.
Use and Care
Cunng Your Smoker
- Before first use and after dining, apply a ight coat of vegetable oll or vegetable cooling spray to the imitator surface of the dome kd, smoker body, cooking grills and water pan. This simple process will help reduce intoner rusting. DO NOT apply oil to the charcoal pan.
- Charcoal lighting fluid must be allowed to bun off prior to dosing dome lid (approximately 20 minutes). Failure to do this could trap Furness from charcoal lighting fluid in smoker and may result in a flash-fire or explosion when lid is opened.
- Watch coals bumping hot in charcoal pan, close dome lid.
Lighting
- Remove dome lid, upper layer body, water pan, cooking grills and set aside.
- Make sure the charcoal pan Is resting securely on the notched out step of all three legs.
WARNING: Never use charcoal that has been pre-treated with lighter fluid. Use only high grade plain charcoal or charcoal/wood mixture. - Use charcoal lighting fluid approved for lighting charcoal ONLY. Do not use gasoline, kerosene or alcohol for lighting charcoal. Place 8-10 pounds of high quality charcoal in charcoal pan.
- Saturate charcoal with lighting fluid and wait 2 to 3 minutes for fluid to soak in. Store charcoal lighting fluid safely away from smoker.
- Carefully light the charcoal and allow to burn until covered with a ight ash prior to dosing door and placing upper waterbody and dome lid on smoker. This will allow charcoal lighting fluid to burp off.
- Dried aromatic wood chaps or chunks should be saturated with water, so that when placed directly on hot charcoal briquets, a smoldering smoke will result
- Place the upper layer body on top of the lower layer body. Place water pan on the support brackets of the lower layer body. Make sure water pan is resting securely on notched out step of all three support brackets.
- Carefully fil water pan with warm water or marinade to 1“below the nm. A full pan holds 4 quarts/1 galion of water and will last 2-3 hours. Do not overfill and allow water to overflow from water pan.
- Place a cooking grill on the lower support brackets directly on top of the water pan.
- Place food on the cooking gril in a single layer with space between each piece. This will allow smoke and moist heat to Giraulate evenly around all pieces.
- Place the other cooking grill on the upper support brackets of the upper layer body, posmon the grill so the rim is resting securely an notched out step of fall three support brackets. Place food on the cooking grill.
- Place the dome lid on smoker body and allow food to cook.
- After 2-3 hours of cooking, check water & charcoal levels by following mstructions in the ‘adding water during cooking and adding charcoal/wood during cooking” section of this manual.
- The smoker can be used without using the water pan and upper layer body. Place the charcoal pan in position and light as per the instructions above. Place the cooking grill on the lower support brackets of the lower layer body. Cook on the grill directly with or without dome lid.
- Always use a meat thermometer to ensure food is fully cooked before removing from smoker.
Adding Charcoal/Wood During Cooking
- Remove dome lid by tilting it toward you to allow heat and steam to escape away from your face. Use caution as flames can flare up when they come into contact with fresh air.
- Stand back a safe distance and carefully open door.
CAUTION: When the smoker is in use, the door will be very hot. Wear oven mats and use caution when touching the door. - Use long cooling tongs to lightly brush ashes off hot coals. Use tongs to add charcoal and/or wood, being careful not to stir-up ashes and sparks.
WARNING: Never add charcoal lighting feuds to hot or even warm coals as flashback may occur causing severe burns. - When charcoal is burming hot aga, cose the door and replace the dome lid.
Adding Water During Cooking
Option 1: Adding water through top of smoker
- Remove dome lid by tatting toward you to allow heat and steam to escape away from your face. Use caution as flames can flare up when they come into contact with fresh air. Inspect the water level in pan.
- If water level is low, add water to water pan. If food is on top cooking grill only, water may be added to the water pan by moving food aside on cooking grill and pouring water down through the cooking grill. Fill water pan to 1° below the rim. Pour slowly to avoid splashing or over-filling. If using both cooking grills, wear oven mutts to remove food and the top cooking grill. Move food aside on lower cooking grill and pour water through the lower cooling grill into water pan. Pour slowly to avoid splashing or over-filling.
HAVE A QUESTION ABOUT YOUR PURCHASE?
OUR DEDICATED CUSTOMER SERVICES TEAM ARE HAPPY TO HELP
CONTACT THEM VIA:
TELEPHONE: 020 3600 2255
EMAIL: [email protected]
LIVE CHAT: www.oypla.com
PLEASE RETAIN A COPY OF THESE INSTRUCTIONS FOR FUTURE CONSULTATION
OYPLA.COM
An Official OYPLA Branded Product
Imported by Oypla.com LLP, Uxbridge, UB8 2FX
USER MANUAL Model No: 4666


















