Ember Infrared Heating Panels
Installation Manual
Section 1 General Product Information
Thank you for purchasing an infrared heating panel produced by
INFRAPOWER MANUFACTURING LTD., sold by WARMLYYOURS RADIANT HEATING.
THIS VERSION OF THE INSTRUCTION MANUAL HAS BEEN TRANSLATED FROM THE ORIGINAL GERMAN VERSION APPROVED BY TÜV RHEINLAND GERMANY. WE DO NOT TAKE ANY RESPONSIBILITY FOR THE TRANSLATED VERSION. PLEASE ASK YOUR DEALER FOR THE ORIGINAL GERMAN VERSION.
EMBER heating panels operate on electricity. According to this definition, these devices can be dangerous. It is, therefore, necessary to read these instructions carefully before use. If you have questions, we are also happy to help. Keep this manual in the vicinity of the device.
1.1 General Information about Infrared Radiant Panels
EMBER radiant panels are direct heating systems that use the principle of infrared heat radiation. They have very low energy consumption and achieve a pleasant and comfortable indoor climate. The heat conductor is carbon fiber. EMBER panels convert electrical energy into heat with nearly 100% efficiency. A special coating on the surface is optimized so as to achieve maximum heat dissipation in the wavelength range from 7 to 10 um.
EMBER radiant panels heat a room just as the sun warms the earth. EMBER brings this infrared heat into your home, minimizing your heating costs. The panels also have a healthful effect on the human body. Heat has a positive effect on the human heart, especially for the elderly, children and newborns. It also has a very effective impact on people who are restricted in their movement. The use of EMBER panels can improve your overall health.
When the panels are in use, only 80% of traditional heating is needed, because the panels can boost the feeling of warmth in a room. Compared with traditional heating, savings up to 30% can be achieved with EMBER infrared heating panels. In transitional periods, this can rise to 60%.
1.2. General Information about Ember Panels
EMBER radiant panels can be used in different rooms and environments (for each application, see Section 1.3.). Depending on the environment and nature of the desired application, various models are recommended (to find the best model for you, please contact your dealer). For all models and applications, be sure to follow the safety instructions for installation (see Section 3.1.).
EMBER radiant panels heat up in about 5 to 10 minutes. Your room will not feel warmer immediately, because the cold objects in the room (furniture, walls, ceilings, floors, etc.) need to warm up first. Once these things are heated, the warmth will spread throughout the room and you will be able to reduce the length of time in which the heating panel is in operation. Hence, you can save a great amount of energy.
Depending on which EMBER model you have selected, the surface will heat from 176 to 257ºF (80 to 125 °C). All EMBER heating panels are equipped with temperature sensors that regulate the surface of the unit so that they do not overheat. EMBER heating panels can also be used for different environmental applications. For further details, see Section 1.3.
1.3. Various Applications and Models
1.3.1. Wall Panels
EMBER wall panels can be optimally used as a supplementary or primary heating system. Due to their thin and light structure and the differences in surface design, the panels are compact and suitable for almost all walls (please see the instructions for installation in Section 3.1.). Depending on the mounting position, EMBER wall panels have a convection heat share of almost 0%. Factory-supplied hardware must be used for ceiling and stand mounting.
Section 2 Safety Notes Before First Use
2.1. General Safety Instructions
- All EMBER heating panels are only suitable for use as a heating element. Any improper use can present a significant danger to people, animals and the environment.
- EMBER heating panels are not intended to be used by people (including children) with reduced physical, sensory or mental abilities or lack of experience and/ or knowledge, unless they are supervised by a person responsible for their safety or have received instructions on how to use the device.
- All heating panels must be kept away from children. Children should be supervised to ensure they do not play with the device.
- EMBER heating panels are not suitable for use in rain or wet conditions, underwater, and for any non-intended use.
- For all EMBER heating panels, please observe the following installation instructions (see Section 3).
- Each EMBER heater has a built-in safety switch that turns off the heating element automatically if it is overheating. By unplugging the unit and waiting for about 10 to 15 minutes, the safety switch is activated automatically and the unit is operational again.
2.2. Special Safety Instructions
- DO NOT COVER. Warning: To avoid overheating, the heater must not be covered. Never cover the EMBER heating panel. This can cause heat buildup.
- The heater is very hot when in use (depending on model, up to 125° C or 257ºF). Contact could lead to serious burns.
- Each EMBER heater is equipped with a power cord and plug. If you desire to operate the unit in a hardwired application, you can operate the heater with a room thermostat. Make sure that nobody can trip over the cable. Protect the unit from overloading the circuit breaker, and operate the equipment only as specified on the nameplate.
- Do not use the EMBER heating panel if the power cord or plug (optional) is damaged. This should be checked before each use. Do not drag or tear the main cable. Do not scrub the cable, and do not clamp the cable. Neither the cable nor the plugs (optional) may be repaired or replaced. In case of damage, contact the manufacturer or distributor.
- Never dip EMBER heating panels into water or put them in water. Also, people should never touch the heating element while they are in the bathtub or shower. Do not use this device near a bathtub shower or swimming pool.
- The Glass and Mirror heating panels can only be operated in a permanently mounted position (for more information on mounting, see Section 3.1.).
- In case of damage to the heating panel or the circuit cable, immediately disconnect it from the circuit. (For further information about the warranty process, see Section 8).
- To prevent damage and accidents, never open the device (see the detailed information described in Section 3.5.). If the device is opened, warranty and liability claims are not approved.
The surface of Ember® glass panels consists of 1/4” (6mm), specially-treated, tempered safety glass (ESG). This glass is much more durable than conventional glass and is designed for significantly higher impact forces and high-temperature use. If the safety glass gets damaged, it shatters into many small, blunt-edged pieces, to minimize the risk of injury. Please note, when choosing an installation location for the product, that a very small percentage of toughened glass products like these can exhibit “spontaneous breakage”, or shattering of the glass. This can occur at any time, even when there is no visible damage to the surface. Because of this possibility, please choose an installation location where it can pose no danger to people or nearby objects if a breakage does occur.
ATTENTION: Avoid any kind of load on the glass itself, especially directly on the edges.
Do not lean the glass panel against anything, or lean anything against it.
If testing the unit before mounting, please lay the product on a flat surface, with the glass facing up. Do not operate the unit in this position any longer than necessary, and only do so to verify proper operation. Do not operate Ember glass or mirror panels when they are placed on their edge.
Section 3 Instructions for Installation
3.1 Instructions for Mounting
EMBER panels must be mounted with the supplied original mounting hardware. Please see the mounting instructions included in the panel packaging. For panels that are used without the original mounting hardware, the warranty, liability and consequential damages are void.
EMBER panels must only be used in manufacturer-related frames. For panels that are used without the original frame, the warranty, liability and damages are void.
3.1.2. General Instructions for Mounting
Depending on the desired application (see Section 1.3.), different types of installation are provided. All EMBER panels come with original mounting hardware (aluminum profiles at the backside of the panels and screws for wall-mounting are enclosed).
- Make sure that the unit is not powered on during assembly. During the installation of the unit, also make sure that the heating panel is not in the “ON” position.
- Do not make any holes in the heating panel. If holes have been made for any reason, do not operate the device. Please contact the manufacturer or dealer from whom you purchased the product.
- To ensure a quick and easy installation, use the enclosed mounting template and follow the instructions for installation as described in detail.
- If the device is installed in children’s rooms or rooms accessible to children, make sure that the device is mounted at least 4 feet above the floor.
- DISTANCE TO BACKSIDE: EMBER panels output convection heat (not infrared radiation) at the backside only. Make sure that the distance from the wall to the back of the heating panels (metal/aluminum plate) is at least 1 inch in order to ensure ventilation. This distance is always provided when you use the standard mounting hardware. If you use a different mounting system than the original, the warranty, as well as liability for consequential damages, is void.
- DISTANCE TO FRONTSIDE: EMBER panels send out infrared radiation only on the front side. Make sure that there is a minimum distance of 10 inches between the front of the panel and any objects.
- Do not mount the heating panel near a shower, tub or swimming pool. Make sure that the heating panel cannot be touched by any person who is in the bath or shower. In case of installation in wet rooms, the installation must be done by a licensed electrician.
- Never mount the heating element in front of or immediately below a socket.
- If the unit is being used with a plug, make sure that the plug is accessible after installation of the panels and, if needed, can be immediately disconnected.
- If the heating panel is integrated in a permanent electrical installation or connection, a correctly sized circuit breaker is needed. This connection has to be carried out by a qualified professional.
3.1.3. General Information on Positioning
With infrared radiation, improper positioning can result in certain areas of space in a room experiencing a “shadow” effect (similar to a cloud passing between you and the sun). To prevent shadow effects, the optimal positioning of your infrared heater will mean that there are no objects between the heater and the area that is to be heated. For detailed information about optimal positioning, please consult your dealer where you purchased the EMBER panel.
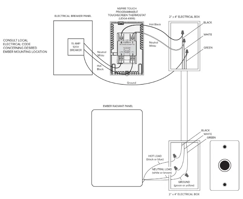
3.2. Electrical Connection (Hardwired)
If the Ember plug is removed, a hardwired panel can be controlled, via a permanent connection, to a suitable room thermostat. Please refer to the instructions of the room thermostat for proper connections. Attention: If the power cord of the unit is damaged, it must be replaced immediately.
Fix mounted thermostats should be mounted next to the heated room’s entry door at 4’ or 1.3m height from floors. An alternate location is on an interior wall, not subject to direct sunlight. The thermostat should not be installed within 3 feet of the EMBER. Power the thermostat with a GFCI Protected Circuit.
The device is connected with the supplied connector to a junction box supplying the AC power supply. If a longer cable is required, it can be replaced by longer one, 18 AWG or larger.
Heating
A hardwired heater can be controlled by an externally mounted thermostat.
Grounding
The heater is for use with 120 volts. The green-yellow grounding of the cord must be connected to permanent ground inside the junction box. Attention: All permanent electrical connections must be done according to local electrical codes and be done by a licensed electrician.
3.3. Instructions for First Use
- Note that section 3.1 mentioned instructions for assembly.
- If you have a plug-in model, now connect the heating panel to a perfectly placed and installed pair of sockets (note the instructions mentioned above for safety).
- Now the heating panel can be put into operation. The startup heating time is approximately 5 to 10 minutes. Your room will not feel warmer immediately, because the cold objects in the room (furniture, walls, ceilings, floors, etc.) need to warm up first. Once these surfaces are heated, the warmth will spread throughout the room and you will be able to reduce the duration of time in which the heating panel is in operation.
3.4. Instructions for Regular Use
- Do not place any clothing or other similar items on the heating element (FIRE DANGER). A sign is mounted on the front of the panel and must not be removed.
- When heating up or cooling down, the expansion and contraction of the heating panels can cause minimal noise. This is normal.
- The heater is very hot in use. Contact could lead to serious burns.
- All EMBER heating panels are equipped with temperature sensors that regulate the surface of the unit and prevent it from overheating.
- If you do not use the heating panel for an extended period of time, it is advisable to unplug the plug-in units.
- The surface of the heating panels should be kept clean. Please refer to the instructions in Section 3.4.
3.5. Instructions for Cleaning and Maintenance
EMBER panels do not require any maintenance. If you find any irregularities, unplug the power cord immediately and contact your dealer, from which you purchased the panel.
To achieve the best results when cleaning, follow these steps:
- Before cleaning, power off the unit.
- The heater is very hot during use (depending on the model, up to 125° C or 257ºF, BURNING DANGER). Before you clean the heating element, let it cool down for about 10 to 15 minutes.
- Do not immerse the heating panel in water or spray it off. Never use a wet cloth. Clean with a duster or slightly dampened cloth. Make sure that the heating element is completely dry before powering on the unit.
- Do not use abrasives or other harsh cleaning products or rough cloths.
3.6. Instructions for Repair
- In case of irregularities with the devices, always contact your dealer. Do not repair them yourself.
- If a malfunction occurs, immediately disconnect the power. Do not use, or stop use immediately, if the unit is damaged, especially if the line cord, housing or heating panel itself are affected.
- In addition, we ask you to carefully read the details in Section 8 about the processing of warranty claims.
- Never remove the label or the warning sticker. The data on the nameplate are important for the warranty.
Section 4 Technical Details
4. Technical Details
The following information provides general information applicable to the EMBER radiant panel line. Please find additional information about performance, size and surface temperature on the sticker located on the back of the panels. Ember mounting methods vary, please see the mounting instructions for your unit, which are included in the Ember packaging.

Section 5 Environmental Protection
5. Environmental Protection
Please note the following guidelines for disposing of packaging materials:
- Packaging material made of cardboard can be recycled.
- Keep plastic foils or packaging out of the hands of children. Please recycle the protective film properly.
- The heater, or parts thereof, may not be disposed with normal household waste, but must be taken to a collection point for recycling of electronic and electric devices. The symbol on the product, on the packaging and on this manual indicates this.
- By recycling, you make an important contribution to protecting our environment. Please ask for details at your local authority or the appropriate disposal location.
Section 6 Declaration of Conformity
6. Declaration of Conformity
We hereby declare that the heating panel to which this declaration relates, is compliant with the following guidelines and standards:
| UL 499:2005 R3.11 | EN60335-1 |
| CAN/CSA C22.2 No. 60335-1-11 | EN60335-2-30 |
| CAN/CSA E60335-2-30:2001 | EN50366 |
6.1. Transport and Delivery
Each individual heater element is, after final testing, packaged securely in suitable boxes and shipped. In order to provide redress for damage during transit, we ask that you unpack the heating panel in the presence of the delivering carrier in case you notice damage on the corresponding transport document or packing slip.
Section 7 Occurrence of an Error
7. Occurrence of an Error
Dear Customer,
Thank you for choosing a product from WARMLYYOURS RADIANT HEATING. Should there be an issue with your device, we ask you to first contact the dealer from which you purchased the device. Should the problem not be solved in this way, please send your device back to the dealer and enclose the following warranty card.
- WARMLYYOURS provides on all EMBER radiant panels a 5-year warranty, from the date of purchase. Proof of purchase is a guarantee slip.
- Excluded from the warranty are external optical defects, beyond the damage caused by improper installation or faulty handling, or removed or obliterated serial numbers or mechanical damage.
- Repairs by unauthorized third parties void the warranty claim.
- The warranty covers the repair or replacement of the defective part. Labor is not included.
Please call WarmlyYours at 800-875-5285 for 24/7 troubleshooting assistance.
Section 8 Warranty Card
EMBER® Warranty Information
Please complete and return the Warranty Card (online or you may send/fax this form) www.warmlyyours.com/radiant-panel-heating/warranty/register
or call (800) 875-5285 to register via phone or Fax us at (800) 408-1100
| HOMEOWNER INFORMATION | ||
| Name | Phone | |
| Address | ||
| City | State | Postal/Zip |
| Fax | ||
| Product Serial Number: | ||
WarmlyYours.com Inc. warrants the WarmlyYours EMBER® (“the Product”) to be free from defects in materials and workmanship for 5 years from the date of sale, provided that the Product is installed in accordance with the accompanying Installation Manual, and any special written design or installation guidelines provided by WarmlyYours.com
Inc. for this product, the National Electric Code (NEC) and Canadian Electrical Code (CEC), and all applicable local building and electrical codes. WarmlyYours makes no claim as to the amount of room temperature rise, the amount of time it takes to reach a given room temperature or the final room temperature due to the innumerable variables in building construction and environmental conditions. Any suspected defect must be reported immediately upon discovery. The determination of such a defect must be made by WarmlyYours.com Inc., or its authorized representative only. This warranty is null and void if the product is improperly installed, improperly operated, or abused. WarmlyYours. com Inc. assumes no responsibility under this warranty for any damage to the product caused by any tradesperson, or visitor on the job site, or damage caused as a result of post installation work. Under this Limited Warranty, WarmlyYours.com Inc. will provide the following remedy: If the Product is determined to be defective in materials and workmanship, and has not been damaged as a result of misuse or misapplication, WarmlyYours.com Inc. will refund the original purchase price or replace the Radiant Panel, at WarmlyYours.com Inc. expense. WarmlyYours.com Inc. will not be liable for the labor required to replace the Radiant Panel. The Limited Warranty is null and void if
the project owner or his representative attempts to repair the Product without receiving authorization. Upon notification of a real or possible problem, WarmlyYours.com Inc., will issue an Authorization to Proceed under the terms of the Limited Warranty.
The unit must be inspected for shipping damage at time of delivery.
Warranty claims will not be accepted on damaged units that are installed. WarmlyYours.com, Inc. is not liable for loss or damage of the device due to improper installation, theft, fire, earthquake or other natural occurrences.
Warranty is void if the Ember unit is fitted with unauthorized replacement parts or non-approved additional components. Ember is not designed to come in contact with any item. Any damage to an item that contacts the Ember, or damage to Ember as a result of contact with an item, shall not be covered under this warranty.
The warranty is voided if the serial number tag is removed, damaged, or altered in any way.
WARMLYYOURS.COM INC. DISCLAIMS ANY WARRANTY NOT PROVIDED HEREIN, INCLUDING ANY IMPLIED WARRANTY OF MERCHANTABILITY OR IMPLIED WARRANTY OF FITNESS FOR A PARTICULAR PURPOSE. WARMLYYOURS.COM INC. FURTHER DISCLAIMS ANY RESPONSIBILITY FOR SPECIAL, INDIRECT, SECONDARY, INCIDENTAL, OR CONSEQUENTIAL DAMAGES ARISING FROM OWNERSHIP OR USE OF THIS PRODUCT, INCLUDING INCONVENIENCE OR LOSS OF USE. THERE ARE NO WARRANTIES THAT EXTEND BEYOND THE FACE OF THIS DOCUMENT. NO AGENT OR REPRESENTATIVE OF WARMLYYOURS.COM INC. HAS ANY AUTHORITY TO EXTEND OR MODIFY THIS WARRANTY UNLESS SUCH EXTENSION OR MODIFICATION IS MADE IN WRITING BY A CORPORATE OFFICER. Controls sold under the WarmlyYours.com Inc. name come with separate warranties. Please consult the WarmlyYours website for more information.
![]()
Free Design Service • 24/7 Installation Support • (800) 875-5285 • www.WarmlyYours.com

















