B0106-13601BK UTV Rear View Mirror Fit Polaris Ranger
User Manual
BEFORE YOU BEGIN
- Read these instructions and check to be sure all parts and tools are accounted for.
- Please retain these installation instructions for future reference and parts ordering information.
IMPORTANT
- Please read the installation instructions carefully before you start.
- If the vehicle is clean and free of other debris, it will be easy to install.
- For your safety and to ensure a satisfactory installation, please complete all the installation steps in the order shown below.
PRODUCT INFORMATION

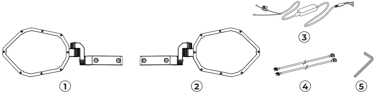
| 1 | Left Mirror | x1 |
| 2 | Right Mirror | x1 |
| 3 | Bluetooth Controller | x1 |
| 4 | Extension Harness | x2 |
| 5 | Allen Wrench | x1 |
FUNCTION

- It fits 1. 65 – 2.0 inches round pipe.
- Slightly loosen screw [E], the mirror body can be rotated 360°.
- Slightly loosen screw [F], the mirror body can be swung front and back 220°.
INSTALLATION TIPS
STEP 1

STEP 1: Install the mirror parts [A, B,C,D] on roll cage in order, and tighten the screws [A].
STEP 2

STEP 2: Repeat step 1 to install the other side.
STEP 3

STEP 3: Connect the mirror harness [4], extension harness [4], bluetooth controller [3] and vehicle power by following the wiring diagram shown above.
STEP 4
http://images.viomesh.com/res/H5/kemi.html
FCC Statement
This device complies with part 15 of the FCC Rules. Operation is subject to the following two conditions:
- this device may not cause harmful interference, and
- this device must accept any interference received, including interference that may cause undesired operation.
Any changes or modifications not expressly approved by the party responsible for compliance could void the user’s authority to operate the equipment.
NOTE: This equipment has been tested and found to comply with the limits for a Class B digital device, pursuant to Part 15 of the FCC Rules. These limits are designed to provide reasonable protection against harmful interference in a residential installation. This equipment generates, uses and can radiate radio frequency energy and, if not installed and used in accordance with the instructions, may cause harmful interference to radio communications. However, there is no guarantee that interference will not occur in a particular installation.
If this equipment does cause harmful interference to radio or television reception, which can be determined by turning the equipment off and on, the user is encouraged to try to correct the interference by one or more of the following measures:
- Reorient or relocate the receiving antenna.
- Increase the separation between the equipment and receiver.
- Connect the equipment into an outlet on a circuit different from that to which the receiver is connected.
- Consult the dealer or an experienced radio/TV technician for help.
To maintain compliance with FCC’s RF Exposure guidelines, This equipment should be installed and operated with minimum distance between 20cm the radiator your body: Use only the supplied antenna.
www.kemimoto.com
Designed by Kemimoto Group
Kemimoto All Rights Reserved, Infringement must be prosecuted.

















