Megawise B5100 Slow Masticating Juicer

GENERAL SAFETY REGULATIONS
When using electrical appliances, basic safety precautions should always be followed including the following.
READ ALL INSTRUCTIONS BEFORE USE.
- To protect against electrical shock, do not immerse cord, plug, or any part of the appliance in water or other liquid.
- Close supervision is necessary if the appliance is to be used by or near children.
- Unplug from outlet before assembling, disassembling, cleaning, and when not in use.
- Do not operate any appliance with a damaged cord or plug, or if the appliance has malfunctioned in any manner. Return the appliance to the manufacturer for examination and repair.
- The use of attachments not recommended or sold by the manufacturer may cause fire, electric shock or injury.
- This appliance is not intended for use by persons (including children) with reduced physical, sensory or mental capabilities, or lack of experience and knowledge, unless they have been given supervision or instruction concerning use of the appliance by a person responsible for their safety.
- Always securely clamp in place all parts before the motor is turned on. Do not unfasten while appliance is in operation.
- Avoid touching moving parts. Make sure the motor has stopped completely before disassembling.
- Do not place on or near a hot gas or electric burner, in a heated oven, or other heat source.
- Observe the appliance when it is in operation.
- Do not disassemble the base.
- Do not put any foreign materials into the juicer.
- Do not let cord hang over edge of table or counter or touch heated surfaces.
- Do not put your fingers or other objects into the juicer while ii is in operation. If food becomes lodges in opening, use the provided pushing tool or another piece of fruit or vegetable to dislodge the food. If this method does not work, turn off the machine, remove the plug from wall outlet, and disassemble the juicer to remove the remaining food.
- Do not use outdoors. Do not use appliance for anything other than its intended use
- Keep the appliance clean. Refer to the Cleaning instructions in this manual.
- Please do not use for more than 10 minutes at a time. Allow motor to cool after 10 minutes of use. The unit will shut off automatically after 20 minutes of continuous operation. If this occurs, allow ii to cool for about 20 minutes.
COMPONENTS
KNOW YOUR SLOW JUICER

- Operation button
- Housing
- Locking clip
- Shovel
- Juice Container
- Pulp Container
- Pushing Tool
- Hopper
- Drum
- Auger
- Juicing Sieve
- Blank End Cap
ASSEMBLY





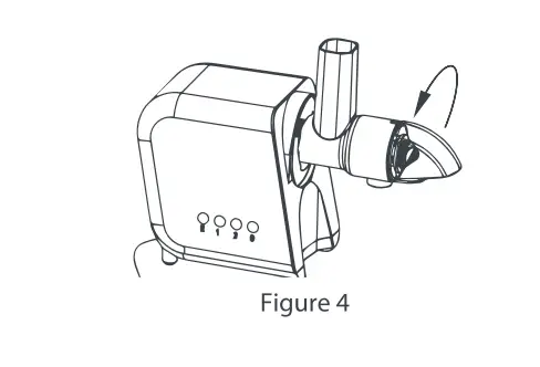
4. Insert this combination into the hole on the unit, and assemble it to the Locking Clip (3) and twist anti-clockwise slightly to lock. You will hear a “click”, like figure 4.
5. Place Pulp Container under the Pulp Ejector, and JuiceContainer under the Juice Ejector.
6. Insert the hopper (8) on the top of Drum (9) as figure 6.
7. Place the Pushing tool (7) into the hole of Hopper (8).
USING THE SLOW JUICER
- Once all parts are securely in place, plug the appliance into an appropriate outlet.
- Place the Pulp Container under the Pulp Ejector, and the Juice Container under the Juice Ejector.
- The Slow Juicer has 4 settings
Reverse – This moves the Auger in the opposite direction.
Soft – Suitable for soft foods like grapes and tomatoes.
Hard – Suitable for hard foods like carrots, apples, and pears.
Off – If the juicer is not rotating properly, press off to turn the unit off. NOTE: IF YOU ARE NOT SURE THE FOOD IS SOFT OR HARD, THEN CHOOSE PROGRAM “HARD” - Before placing food in the slow juicer, make sure all foods have been thoroughly washed. Be sure to cut all foods into appropriate size pieces so they fit easily into the Hopper. We recommend cutting food into slim 3- inch pieces.
Make sure to remove any hard seeds or pits, such as cherry or plum pits, as it will not process in the Slow Juicer and can damage the Auger. - When placing any food in the Slow Juicer, the Auger will automatically pull in the food and begin juicing. DO NOT push, force, or overstuff the unit. The Pusher provided is only to use when food obstructs the inside of the Hopper.
- It is best to insert all food at a slow pace, allowing all pulp to be extracted from the fruit or vegetable completely.
- Reminder: turn off the unit when juicing is complete.
DO NOT RUN THE UNIT WITHOUT ANY FOOD INSIDE THE UNIT AS THIS COULD OVERHEAT THE MOTOR.
SLOW JUICING TIPS
Follow the suggestions below for best results. A slow juicer operates differently than a traditional juicer
- Do not put any frozen fruit, vegetables, or ice into the unit.
- Combine leafy greens with a variety of fruit for the best results.
- When juicing foods like carrots or beets, it is necessary to combine them with other fruits and vegetables with a higher water content to increase the amount of juice yielded.
- When juicing foods with a lot of seeds like tomatoes and cucumbers, the Juicing Screen might clog. Pour water through the Hopper to unclog ii before continuing to juice.
NOTE
If the unit jams/clogs or stops operating turn it off, and switch to reverse (R) for 3-5 seconds. Switch to Soft or Hard mode to continue juicing. Repeat this process if necessary. While operating in reverse the Hopper may come loose. This is normal.
- Switch the unit off, and disconnect it from the power source.
- Remove the hopper from the unit.
- Twist the Drum counterclockwise to the unlock position.
- Disassemble the entire unit.
- Using the Cleaning Brush, thoroughly clean each of the disassembled parts using warm soapy water.
- Hand washing is recommended for all components of the upper unit. Detachable parts can be safely cleaned in your dishwasher.
- Remember to thoroughly clean the small fins on the Juicing screen as small food particles might get stuck on them.
PLEASE NOTE:
- Don’t use any abrasive cloths or liquids like ammonia or strong household cleaners.
- Do not rinse the base or submerge it in water.
- Dry all attachments before using.
- Cleaning the unit immediately after each use will help to reduce stains.
FOR TOUGH STAINS
Because the carotenoids found in many vegetables have staining properties, the Slow Juicer may develop deep-set stains over time. To remove, we suggest using ONE of the following cleaning procedures:
- Soak in mild soapy water.
- Soak in equal parts warm water and cider vinegar.
TROUBLESHOOTING
- Make sure the power cord is plugged in correctly.
- Make sure the drum is assembled correctly. If the drum is not locked into place, the appliance will not operate.
- Make sure the appliance is assembled according to the instructions in this manual. Refer to the instructions.
- If the appliance still does not work, please contact our customer support.
THE DRUM DOES NOT OPEN - If there is a lot of pulp inside the drum, press [2] to release the excess pulp.
- Check the appliance for any foreign substance or solid objects including seeds.
- Press [R] button to dislodge stuck ingredients.
- Do not attempt to open by force. If the drum still does not open, please contact our customer support.
THE APPLIANCE STOPS DURING NORMAL OPERATION - Check for large pieces of food stuck in the appliance.
- If the appliance still does not work, please contact our customer support.
FINE LINES OR SCRATCH MARKS AROUND THE AUGER - This is normal. Do not be concerned. These are moulding marks resulting from the normal manufacturing process.
JUICE LEAKS OVER THE BASE - Check for an excessive amount of ingredients in the hopper and/or chute.
- If you try to juice a large amount of food compared to the hopper, the components will be forced apart and juice may leak out.
- Do not force too much food into the juicer. Push food gradually.
- Check to make sure the juice flap is closed.
JUICER SHAKES WHEN IN-USE - This is normal as the auger rotates. It is not a malfunction. Hard ingredients such as carrots, potato, radish, beets, etc. may cause shaking more so than soft ingredients.



















