Zen Water Vitality 4 Gallon Water Filter System

Instruction
HELP! My Zen Water System is leaking.
If there is no visible crack or damage to the tanks, then there are only two (2) places to check where water could leak:
- [A.] the spigot or where the spigot attaches to the tank (Figure 1)
- [B.] where the bottom tank and the middle ring joins (Figure 2)

[A.] Leak from the spigot / around spigot –
If the leak is coming directly from the spout of the spigot, then it needs to be replaced immediately.
If the leak is coming from where the spigot attaches to the tank, then the leak can be stopped by tightening of the magnetic nut. Follow the steps below to tighten nut:
- Empty water from the bottom tank.
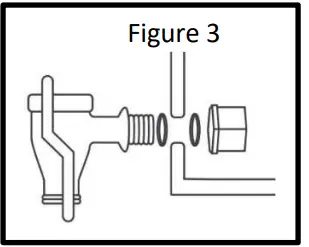
- Make sure that there are two washers, one on the inside and one on the outside of the tank. (Figure 3)

- Tighten the magnetic nut by a quarter turn. Using one hand to hold the spigot in place, tighten the nut clockwise with your other hand as much as you can.
- Refill the tank with water and check to make sure there is no water leaking before use.
Hint: Fill the bottom tank with water and let it sit by the sink for about 5 to 10 minutes to test for leaks. Check for leak around the spigot area, especially around the washer. Take a tissue to dab the area to see if it absorbed any water. If there is any leak, even a small amount oozing out, it would show on the tissue. - If there is still a leak, repeat steps 3 to 4.
- If and when the nut is properly tightened, there should not be any leak.
[B.] Water leaks from where bottom tank and middle ring joins –
If the leak is coming from where the bottom tank and the middle ring joins, then you will need to check 2 things: 1.) Ceramic Filter; and 2.) 5-Stage Mineral Cartridge.
Water from the Ceramic Filter should not flow into the 5-Stage Cartridge faster than the rate at which it can trickle through the 5 layers of minerals. If water accumulates at the top of the 5-Stage Cartridge, then it is an indication that the cartridge is compacted and/or the Ceramic Filter is faulty.
Step 1 – Check the Ceramic Filter:
The Ceramic Filter should have a flow rate of 1 gallon per 1½ to 2 hours, drip by drip, depending on water pressure (i.e. full tank drains faster than a half tank). If water flows through the Ceramic Filter faster than a “drip-by-drip” rate, then water will pool at the top of the 5-Stage Mineral Cartridge and spill over on the side. Below are steps to check the Micro Ceramic Filter:
- Fill the top tank about half full with water.
- Allow 10 to 15 minutes for water to start filter.
- Then slightly lift the top tank to check the flow rate of water dripping from the stem of the Ceramic Filter.
- Water should flow out from the stem drip by drip or few drips at a time. It should not stream out from the stem more than a few drops at a time.
- If water streams out from the stem of the Ceramic Filter more than a few drops at a time, then that would be an indication of a faulty Ceramic Filter. In this case, do not use the ceramic filter, and contact us for a replacement.
- If water flows out from the stem of the Ceramic Filter at a drip-by-drip or few drips at a time, then we know the Ceramic Filter is working fine. Proceed to Step 2.
Step 2 – Check the 5-Stage Mineral Cartridge:
The minerals inside the 5-Stage Cartridge may get compacted over time, mostly during transport and due to gravity. When the minerals become compacted inside the cartridge, it will prevent water from flowing freely from the top to bottom, and water will begin to pool at the top of the cartridge, which will eventually spill over on the side. This compaction is natural and can be rectified by firmly tapping the cartridge upside down to loosen the minerals inside. (See video clip attached). When the minerals are loosened/de-compacted, it will allow water to flow through the cartridge freely.
- Click HERE to see video clip. If link does not work, copy paste the following URL to a browser: https://cdn.shopify.com/s/files/1/0233/1969/files/Tapping_Cartridge.MOV?v=1635877888
Fill the top tank with only the amount of water that the bottom tank has space to store. Because the top and bottom tanks are not fused together, and if you fill the top tank when the bottom tank is almost full, it will overflow, leaking where the middle ring joins the bottom tank. To prevent the leak from happening, do not fill the upper tank when the bottom tank is almost full.


















