LSPU8653X 24″ Fingerprint Resistant Stainless Steel Dishwasher
User Manual
LSPU8653X 24″ Fingerprint Resistant Stainless Steel Dishwasher
Thank you for choosing one of our products.
You are advised to read this manual carefully; it contains all the information you need about the right conditions for the proper, safe use of your dishwasher.
This manual contains only the basic information required to use the appliance. The complete manual can be obtained from www.smeg.com/download-manuals by entering the product code shown on the plate attached to the inner right hand edge of the dishwasher door.
The manual can be accessed quickly via the QR code using a device with a QR reader application.
http://smeg.com/info/download-manuals/
TRANSLATION OF THE ORIGINAL INSTRUCTIONS
IMPORTANT SAFETY INSTRUCTIONS
SAVE THESE INSTRUCTIONS
- Before using the appliance, carefully read all the instructions contained in this manual.
- During installation, take care not to injure yourself on the sharp edges of the appliance: wear safety gloves.
- This manual is an integral part of the appliance; it must always be kept intact together with the dishwasher for future reference (even if sold).
- Use the dishwasher only for its intended function.
- This appliance is intended for indoor use in a household environment and similar such as staff kitchens of shops, offices and other workplaces, institutions, and for the use by guests at hotels, hostels, bed and breakfast and other residential facilities. The appliance is designed and manufactured to perform the following function: washing and drying of dishes; any other use shall be considered improper. The manufacturer declines all responsibility for uses other than those described above.
- Certified residential dishwashers are not intended for licensed food establishments.
- Do not use appliances which have been damaged during transit! If in doubt, contact your dealer.
- Do not operate your dishwasher unless all enclosure panels are properly in place.
- Do not tamper with controls.
- The appliance must be installed and connected in accordance with the instructions provided by the manufacturer. Installation must be performed by qualified technicians in accordance with applicable regulations.
- The installation and repair or servicing shall be carried out by qualified and authorised technical personnel. Interventions by unauthorised personnel can be dangerous and cause the warranty to lapse. The installation must comply with all the directives of the country where the dishwasher is installed, and in the absence of them, in the United States the National Electric Code; in Canada the Canadian Electric Code C22.1 – Latest edition/provincial and municipal codes and/or local codes
- Under certain conditions, hydrogen gas might be produced in a hot-water system that has not been used for two weeks or more. HYDROGEN GAS IS EXPLOSIVE. If the hot-water system has not been used for such a period, before using the dishwasher turn on all hot-water faucets and let the water flow from each for several minutes. This will release any accumulated hydrogen gas. As the gas is flammable, do not smoke or use an open flame during this time.
- Never leave waste packaging unattended. Do not allow children to play with packaging materials. Separate waste packaging materials by type and consign them to the nearest recycling centre.
- The plate with the technical data, serial number and marking is in a visible position on the inside edge of the door. It must not be removed.
- The appliance must be earthed in compliance with electrical safety regulations. The manufacturer declines all responsibility for damage to persons or property resulting from failure to earth the appliance or from a defective earth connection.
- During the installation the appliance must be disconnected from the network.
- Do not install the appliance in a place subject to freezing.
- Do not install the appliance near equipment with high irradiation temperature (e.g. gas burners, fireplaces, etc.).
- If the appliance is installed in a compartment above or below another equipment (e.g. gas burners, ovens, etc.), read carefully the instructions provided by the manufacturer of the equipment. If the instructions of the equipment do not contain information, contact the manufacturer of the equipment to ensure that the appliance can be installed above or below it.
- Building-in the appliance underneath a hob is absolutely forbidden. Installing a hob on top of freestanding appliance is absolutely forbidden.
- To ensure stability, install the appliance only under continuous worktop, securely fixed to adjacent cabinets. If the appliance is installed in a high cabinet, both the appliance and the cabinet must be adequately fixed.
- If the appliance is not built-in and is therefore accessible on one side, the door hinge area must be covered for safety reason (injury hazard). The covering fixtures are available as an accessory from specialist dealers or the after-sales.
- Check that the voltage and the frequency of the mains match the ratings on the name plate of the appliance.
- The plug on the supply cord and the corresponding socket outlet must be of the same type and meet the regulations in force. Do not use adaptors or shunt connections in order to avoid the possibility of overheating or burning.
- The plug of the appliance must be accessible after installation. Never disconnect the plug by pulling on the power supply lead.
- If the appliance is provided with a plugless supply cord, an omnipolar circuit breaker providing a full disconnection in overvoltage protection class III must be installed in an easily accessible position on the supply lineile.
- The appliance must be connected to the water supply by means of new hoses.
- Briefly test the appliance after installation. Run a wash cycle with a temperature of between 113°F and 158°F (45°C-70°C) with the dishwasher empty and using a specific dishwasher detergent. (It is not sufficient to run a soak cycle). If the dishwasher fails to operate correctly, disconnect it from the electrical power supply and call the nearest technical service centre. Never attempt to repair the appliance yourself.
- The dishwasher should only be used by adults. Use by children aged from eight years and persons with reduced physical, sensor or mental capabilities or lack of experience and knowledge is only permitted under the supervision of a person responsible for their safety.
- To reduce the risk of injury, do not allow children to play in or on a dishwasher.
- Use only detergents or wetting agents recommended for use in a dishwasher and keep them out of the reach of children
- Keep children away from the dishwasher when the door is open. Always check that the detergent distributor is empty after completion of the wash cycle.
- Cleaning and regular maintenance of the appliance by children is only permitted under the supervision of a person responsible for their safety.
- Some detergents are strongly alkaline. Avoid contact with the skin and eyes. Detergents can be extremely dangerous if swallowed. They contain substances capable of causing permanent damage to the mouth and throat, and even leading to suffocation. Observe all the safety instructions on the packaging of these products.
- Do not drink the water residues which may be present on the dishes or appliance at the end of the washing program.
- Never place solvents such as alcohol or turpentine, which are potentially explosive, inside the appliance. Never load dishes soiled with ash, wax or paint.
- Never leave the dishwasher door open; people might trip over it.
- Do not abuse, sit on, or stand on the door or dish rack of the dishwasher.
- Switch off the dishwasher after use to avoid wasting electricity.
- Locate sharp items so that they are not likely to damage the door seal.
- Load sharp knives with the handles up to reduce the risk of cut-type injuries.
- The appliance satisfies all applicable safety regulations governing electrical equipment. Any technical checks should be conducted exclusively by trained and authorised technicians: repairs performed by unauthorised persons not only void the warranty but may also put the user’s safety at risk.
- In the event of a fault, disconnect the dishwasher from the electrical power supply and shut off the water tap. In the event of damage to the supply cord, have it replaced by the manufacturer or an authorised technical service centre.
- Some components are live even with the on/off button in the off position. Before performing any maintenance work on the appliance, disconnect it from the electrical power supply.
- Do not clean the machine with a water jet machine, high-pressure or steam cleaners.
- Do not introduce animals into the dishwasher.
- Models with “acquastop” device
This device prevents flooding in case of water leak. When the “acquastop” device is tripped, contact a qualified technician to identify and repair the fault. In these models the water intake hose contains a solenoid valve. Do not cut the hose and do not allow the solenoid valve to drop into water. In case of damage to the water intake hose, disconnect the appliance from the electrical and water supply.
Warning: The device only works if the dishwasher is connected to the mains.
1.1 Disposal
The appliance does not contain substances in quantities sufficient to be considered hazardous to health and the environment, in accordance with current European directives: To dispose of the appliance:
- Remove the washing compartment door.
- Cut the power cable,
- Make the lock unusable.
The manufacturer declines any liability for damage or injury caused by failure to comply with the instructions indicated above or as a result of tampering with even just one part of the appliance and the use of non-original spare parts.
INSTALLATION
2.1 Technical characteristics
| Water supply pressure | min. 0,05 – max. 0,9 MPa (min. 0.5 – max. 9 bar) |
| Water supply temperature | max. 60°C-140°F |
| Capacity | 12-13 standard place settings |
| Class of protection against moisture | IPX0 |
| Protection against electric shock | class I |
| Electrical data | see the data plate |
Appliance dimensions

| Dimensions | H | P | L |
| Free standing | 850 mm; 33”-15/32 | 627 mm 24”-11/16 | 600 mm 23”-5/8 |
| Free standing maxi | 890 mm; 35”-3/64 | 627 mm 24”-11/16 | |
| Integrated | 818-888 mm; 32”-13/64-34”-61/64 | 584 mm 22”-63/64 | |
| Integrated maxi | 858-928 mm; 34”-31/32-36”-35/64 | 584 mm 22”-63/64 |
2.2 General Information
- This appliance6 may be placed up against walls or other furniture units.
- If the appliance is installed near a heat source, fit a special insulating panel to prevent overheating and malfunction of the appliance.
- To facilitate the installation procedure, the intake and drain hoses can be positioned in any direction; make sure that the hoses are not kinked, crushed or pulled too tightly.
- A hole at least 8 cm (3″ 5/32) in diameter is required to allow the power supply cable and hoses to pass.
- At the end of the installation, perform a short test of the appliance: open the water tap and check that there are no leaks.
- To install the dishwasher against the back wall, the hoses should be passed through the lower area where there is a dedicated space for them.
Level the appliance on the floor using the appropriate Allen key to regulate the adjustable feet. This operation is essential for ensuring correct operation of the dishwasher.
Some models are equipped with only one adjustable foot at the rear, which can be adjusted by turning the screw on the lower front part of the appliance.
![]() | Building-in a dishwasher underneath a hob is absolutely forbidden. Moreover, dishwashers may not be installed directly touching appliances which are not conventional built-in kitchen appliances (e.g. fireplaces, stoves, etc.). When installing the dishwasher in a compartment next to one or more other appliances, it is essential to comply with all the recommendations provided by the appliance’s manufacturer (minimum distances, installation procedures, etc.). |
![]() | For free-standing models only – Installing a hob on top of a free-standing dishwasher is absolutely forbidden. – If the appliance is accessible from one side, the door hinge area has to be covered for safety reasons (risk of injury). The covers are available as an accessory and can be ordered through the Technical Assistance Service. – The top surface of the dishwashers can be removed to allow installation under a worktop. The appropriate kit should be purchased from authorised dealers or via the Technical Assistance Service. This must be carried out by authorised personnel. |
2.3 Water supply connection
CONNECTING TO THE WATER SUPPLY
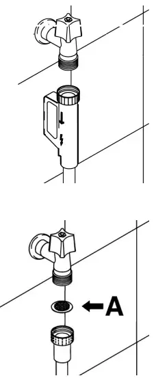
Connect the intake hose to a cold water supply with ¾” gas thread, inserting the filter A supplied with the dishwasher. Take care to screw the hose firmly into place with your hands and then complete by tightening about ¼ of a turn with pliers. In dishwashers equipped with the AQUASTOP device, the filters is already fitted inside the threaded ring.
The dishwasher can also be connected to a hot water supply not exceeding 60°C (140°F). Supplying the appliance with hot water cuts down the washing time be approximately 20 minutes, but slightly reduces its effectiveness. Make the connection to the domestic hot water supply using the same procedure described for connecting to the cold water supply.
DRAIN CONNECTION
Insert the dishwasher’s drain hose into a drain pipe having a diameter of at least 4 cm (1″37/64), or alternatively, place it inside the kitchen sink using the plastic support provided, taking care not to crush or excessively bend the hose. It is important to prevent the hose from coming loose and falling. For this purpose, the plastic support is equipped with a hole for tying it to the wall or water tap.
The free end should be positioned at a height of between 30 and 100 cm (11″ 13/16 and 3′ 3″ 3/8), and should never be submerged in water.
If a horizontal drain extension hose is used (for a maximum 3 m – 9′ 10″ 7/64 ), the drain hose can be placed at a maximum height of.85 cm (2′ 9″ 15/32) from the ground.
2.4 Electrical connection
Check that the voltage and the frequency of the mains match the ratings on the name plate of the appliance positioned on the inner edge of the door.
- The plug on the supply cord and the corresponding socket outlet must be of the same type and meet the regulations in force.
- The plug must be accessible after installation.
- Never disconnect the plug by pulling on the power supply lead.
- After changing the supply cord, make sure that the bracket which secures the cord is fixed securely in place.
- Do not use adaptors or shunt connections in order to avoid the possibility of overheating or burning.
The power cable must be replaced by the manufacturer or by an Authorized Service Centre.
PRODUCT DESCRIPTION
3.1 Control panel
All the dishwasher controls are grouped on the upper panel. Switching on, programming, switching off etc. are only possible when the door is open.
ON/OFF BUTTON- OPTION BUTTONS/LIGHTS
- SELECTED PROGRAM BUTTONS/LIGHTS
- START/PAUSE BUTTON
- TOP DISPLAY (3 FIGURES)
- SALT WARNING LIGHT
- RINSE AID WARNING LIGHT

- FRONT DISPLAY
- DOOR HANDLE
N.B.: symbols and styling are guideline and may vary depending on the model or version of the dishwasher purchased.
Information shown on top display
Example of screen and information provided
| 1.05 | Estimated wash cycle duration and time remaining |
| 1 h | Delayed start information |
| E01 | Error message |
| h.3 | Softener setting |
| P0 | Program cancellation |
SWITCHING ON
With the door open, press the ON/OFF button on the top panel to switch on the dishwasher. The LED on the button and the DISPLAY light up.
PROGRAMMING
All programming operations are only possible with the door open and the dishwasher switched on.
Select the wash program on the basis of the temperatures and type of soiling stated in the program table.
STARTING THE PROGRAM
- Select the program required (the light comes on) and any options (after selecting the program);
- Press the start button (the light comes on and the program’s name and estimated time appear on the front panel); the selected program light flashes for a few seconds;
- Close the door: the start light goes out and the program starts.
N.B.: The door must be closed within about 4 seconds; otherwise the selected program light stops flashing and the start button will have to be pressed again before the door is closed to start the program.
As the program runs, the front display, which shows the program phases, will indicate the status of the cycle in progress.
Warning:
during the initial phase of the wash program the spray arms cannot be heard in operation because they start turning about 5 minutes after the start. This is the normal wash cycle sequence.
| PROGRAMS TABLE | |||||||||
| Program | Pre-wash | Wash | Rinse | Drying | (mw) uogeina U) | Water consumption (liters/cycle) | (1) Energy consumption (KWh/cycle) | ||
| P1 | SOAK | cold | – | – | – | – | 15 | 3.8 1gal. | 0,02 |
| P2 (**) | AUTO (2) | – | 45°C (113°F) | cold | 55°C(4) /65°C (131°F/149°F) | • | 175- 195 | 10,61 2,8 gal | 0,5- 0,6 |
| P3 (**) | DELICATE | cold | 50°C (122°F) | 2 cold | 55°C (4)/70°C (131°F/158°F) | • | 152(4)/83 | 16.61 4,38 gal | 1,15 |
| P4 (**) | MIX | cold | 65°C (149°F) | cold | 55°C (4)/70°C (131°F/158°F) | • | 170(4)/108 | 13,41 3,84 gal | 1,35 |
| P5 (3) | P5 POTS & PANS ETL SANITATION LISTED | cold | 65°C (149°F) | cold | 70°C (158°F) | • | 110 | 14.41 438 gal | 1,60 |
| P6 | EXPRESS 27′ P1+ | – | 38°C (1 00 °F) | – | 50°C (122°F) | – | 27 | 71 185gal | 0,40 |
| P7 (**) | CRYSTAL & CHINA P2+ | – | 45°C (113°F) | 2 cold | 55°C (4)/70°C (131°F/158°F) | • | 145(4)/76 | 13,41 3.53ga1. | 1,00 |
| P8 | ECO EXPRESS P3+ | – | 55°C (131°F) | cold | 70°C (158°F) | • | 90 | 11,0 2.95ga1. | 1,20 |
| P9 | EXPRESS 60′ P4+ | – | 65°C (149°F) | cold | 70°C (158°F) | • | 60 | 102 2,7gal | 1,30 |
| P10 | STERILIZE P5+ | hot | 70°C (158°F) | 2 cold | 75°C (167°F) | • | 130 | 16,61 4.38gal. | 1,12 |
If the dishwasher door is open or not properly closed, the washing cycle will not start.
Switching on
With the door open, press the ON/OFF button on the top panel to switch on the dishwasher. The LED on the button and the DISPLAY light up.
IMPORTANT
The door of the dishwasher must ble closed within 4 seconds after use of the program selection button for all functions (e.g. program selection, change, delection, etc.). If the door is not closed within 4 seconds, one or more program lights (depending on the current opertaion) will flash at high speed to indicate that the operation must be confirmed before the door is closed.
To confirm, simply press the program selection button once and the flashes will slow down; close the door an once to start/restart the dishwasher.
The same applies if the dishwasher is opened with the program delay option set and the cycle not started (e.g. to add more dishes): the program selection button must be pressed before the door is closed, restarting the program delay countdown.
If the door of the diishwashehas not been closed or has been incorrectly closed, the washing cycle will not begin.
- The cycle times and electrical energy listed use and care manual are based on normal soil loads and 120°F (49°C) incoming water and will vary based on your actual conditions.
- Program for energy star; the DRY ASSIST option must be enabled.
- Only “POTS & PANS” program conforms to NSF std 184 and is certified by INTERTEK with the ETL SANITATION LISTED.
When the “Sani ok” appears on display it means that the dishwasher and its contents have been sanitized according to the requirements of the National Sanitation Foundation (NSF). - DRY ASSIST+ option selected (default)/not selected
Automatic door opening – Dry Assist+
Automatic door opening is included in programs indicated with ** in the first column
If the dishwasher door is open or not properly closed, the washing cycle will not start.
Description of the programs:
SOAK
Pans and dishes awaiting completion of the load
AUTO
Normally soiled dishes including dried-on residues, for daily use.
DELICATE
Wash cycle for mixed loads such as wine glasses and lightly soiled dishes.
MIX
Mixed dishes very dirty, including dried-on residues.
POTS & PANS
Mixed dishes very dirty and pans dirty, including dried-on residues.
EXPRESS 27’
Dishes with light dirt, washed immediately after use
CRYSTAL & CHINA
Wash cycle for delicate items, such as wine glasses and lightly soiled fine china. Ideal when you require dazzlingly clean glassware
ECO EXPRESS
Quick wash cycle with low water and energy consumption. Suitable for normally soiled mixed loads, washed immediately after use.
EXPRESS 60’:
Quick cycle for lightly soiled dishes, washed immediately after use.
STERILIZE
Increases the temperature of the final rinse to obtain a greater level of hygiene. Suitable for the intensive washing of plates, pots, pans, cutting boards, feeding bottles. Ideal for baby dishes or if there are allergy sufferers in the family.
If the dishwasher door is open or not properly closed, the washing cycle will not start.
| Option | Description | |
| 1 | SPECIAL | Allows you to enable additional programs when selected together with any wash cycle. |
| 2 | DELAY | Allows you to delay the start time of the wash cycle by 3, 6, 9, 12 or 24 hours, depending on the model. |
| 3 | HALF-LOAD | Allows you to wash just a few dishes when distributed evenly between the baskets. |
| 4 | SELF CLEAN | Dishwasher cleaning cycle. Must be started with the machine empty, without dishes. |
| 5 | DRY ASSIST+ | Ensures improved drying and energy savings. The door of the dishwasher will open automatically at the end of the wash cycle. |
OPERATING INSTRUCTIONS
After having installed the dishwasher, remove the basket retainers.
4.1 Adding the salt
The salt prevents the formation of scale deposits.
- Unscrew the cap of the salt container.
- Only for the first time, fill the container with a litre of water.
- Pour salt (approx. 1 kg) into the container using the funnel provided with the dishwasher.
- Remove any salt residues before screwing the cap back on.
To regulate the water hardness setting, please refer to the complete manual that can be found on the website.
– Only use regeneration salt specifically for domestic dishwashers.
– After having added the salt, run a wash cycle to remove any excess salt.
4.2 Adding the rinse aid
The rinse aid helps to dry the dishes more quickly.
To add rinse aid:
- Open the dispenser by pressing and lifting the tab on the cover.
- Top up again when the rinse aid indicator light turns on.
- Close the cover, a click indicates when it is closed.
- Use a cloth to remove any spillage of rinse aid which might lead to the formation of excess foam.

To regulate the amount of rinse aid, please refer to the complete manual that can be found on the website.
4.3 Adding the detergent
- Open the detergent dispenser cover by lightly pressing the button P.
- Add the detergent or tablet.
Close the cover by sliding it until it stops, indicated by a click.
CLEANING AND MAINTENANCE
Before carrying out any work, always unplug the appliance from the electrical supply or switch off the omnipolar circuit breaker.
CLEANING THE WATER INTAKE FILTER
Close the water supply tap, unscrew the end of the water intake hose,remove the filter A and clean it under running water. Put the filter A backinto its seat and carefully screw the water intake hose back on.
CLEANING THE SPRAY ARMS
Remove the spray arms and wash them with a jet of water. Put them back in their seats, making sure that there is nothing to prevent them from rotating.
- To remove the upper spray arm, unscrew locking ring R.
- To remove the lower spray arm, simply lift it up, pulling by the central part. To remove the orbital spray arm assembly, take hold of the longer arm and pull the orbital unit upward.

- To remove and clean the planetarium sprayer follow the instructions provided.

CLEANING THE FILTER UNIT
- Remove the planetarium spray arm (only for the models on which it is fitted)
- Grip the tabs, turn them anticlockwise and lift upwards.
- Push the central filter D from underneath to remove it from the micro-filter.
- Separate the two parts that make up the plastic filter by pressing the body of the filter in the zone indicated by the arrows.

TROUBLESHOOTING
The dishwasher has an autodiagnosis system capable of detecting and indicating a preset series of possible malfunctions.
TABLE OF MALFUNCTIONS DETECTED BY THE AUTODIAGNOSIS SYSTEM
| FAULT | DESCRIPTION |
| Error 01 | Anti-flooding system tripped (where installed). |
| Error 02 | The system that limits the water level in the dishwasher has been tripped. |
| Error 03 | The dishwasher is unable to heat the water. |
| Error 04 | Temperature sensor disconnected. |
| Error 05 | The dishwasher is unable to fill with water |
| Error 06 | The dishwasher is not able to pump out the water from the tank. |
| Error 07 | The dishwasher is not able to measure the amount of water loaded accurately. |
| Error 08 | Anomaly in the system which distributes water to the baskets. |
| Error 09 | Water intake system malfunction. |
| Error 11 | Washing pump failure |
If an alarm occurs, the machine stops the current program and indicates the fault.
- Alarms E1 and E11 require you to contact the technical assistance service.
- Alarm E7 is displayed at the end of the cycle, which is anyway completed, as it does not affect the operation of the dishwasher.
For all other alarms, proceed as follows: stop the current program, switch off the dishwasher. Switch on and program the dishwasher again to start the new wash cycle.
If the malfunction persists, contact your authorised Service Centre and provide it with the fault code.
The contact details of the Technical Assistance Department can be found on the warranty certificate and the website
The manufacturer reserves the right to make any changes deemed necessary for the improvement of its products without prior notice.


ON/OFF BUTTON
























