BLAUPUNKT 5DB96453 Extractor Hoods

Always wear work gloves for all installation and maintenance operations









Warnings
- The appliance should not be used by children under 8 years of age and by persons with reduced physical, sensory and mental capabilities, or lack of experience and knowledge, unless they are supervised or have received instructions regarding the safe use of the appliance and are aware of the possible risks. Children must not play with the appliance. Any intended cleaning and maintenance by the user should not be carried out by children unless supervised. The hood should never be used without without the grid properly fitted! Never use the hood without the grill properly fitted!
- The accessible components can overheat when the cooktop is in use.
- The hood must not be connected to the flues of other appliances that run on gas or other fuels. When the hood is used at the same time as other appliances that run on gas or other fuels, provision must be made for an adequate supply of air. No food must be cooked flambé underneath the hood.
- The use of an unprotected flame could cause damage to the filters and could cause fires, so should be avoided. When frying food, never leave the pan unattended because the cooking oil could flare up. Please comply with the technical and safety provisions set forth by your local competent authorities regarding the ventilation of hoods.
- This appliance conforms to European Directive 2002/96/EC, Waste Electrical and Electronic Equipment (WEEE). Please dispose of this product correctly in the interest of health and the environment.
- The symbol on the product, or on the documents accompanying the product, indicates that this appliance may not be treated as household waste. Instead it shall be handed over to the applicable collection point for the recycling of electrical and electronic equipment. Disposal must be carried out in accordance with local environmental regulations for waste disposal. For more detailed information about treatment, recovery and recycling of this product, please contact your local city office, your household waste disposal service or the shop where you purchased the product. If the power cable is damaged you should, in the interest of safety, contact the manufacturer or the manufacturer’s technical assistance service to request a replacement, or ask someone who is similarly qualified.
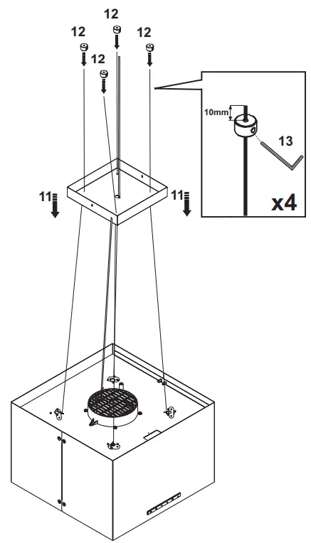
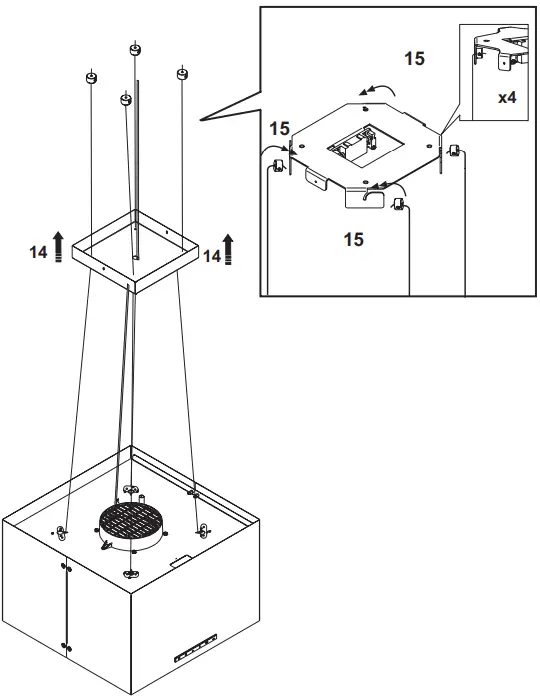
- Check also the drawings on the initial pages with the alphabetical and numerical references in the explanatory text. Closely follow the instructions in this manual. We cannot accept liability for any faults, detriment or fire damage to the appliance due to non-compliance with the manual’s instructions.
- You should affix the hood to a wall of sufficient weight-bearing capacity, so not to one made of plasterboard.
- The cooker hood must be placed at a minimum distance of 65 cm from the cooking plane for electric cookers and 65cm for gas or mixed cookers. If the instructions for installation for the gas hob specify a greater distance, this has to be taken into account. Do not tile, grout or silicone this appliance to the wall. Surface mounting only. Do not fix chimney flue to furniture or fly over shelves unless the chimney flue can be easily removed, in case maintenance is ever required.
- The cooker hood is provided with an upper air exit B for discharging fumes externally for models including chimney flue C ( Suction Version A- exhaust pipe not supplied). If cooking fumes and vapours cannot be externally discharged, the cooker hood can be used in the recirculating version F: the installation of 1 active charcoal filter F allows the recirculation of fumes and vapours through the upper grid G.
- Make sure that there is a power socket near the hood and that the system has a 30 mA differential. The mains voltage must be the same as that on the label inside the hood. The hood has a 1250 mm power cable with or without plug: if it does have a plug, connect the hood to an accessible approved socket; or if it does not (connection direct to the mains), fit an approved bipolar switch with a minimum contact opening of no less than 3 mm (accessible). This installation and electrical connection must be executed by a qualified technician.
- If the cooking top is in use, the cooker hood must always operate.
- Product performance test carried out in accordance with standard (EU) No 65/2014-
Ref: IEC 61591
Maximum performance is achieved by placing the mobile panels, if any, in the open position.
OPERATION
TSL

With the hood switched off, pressing any key will activate the control panel in stand-by mode. The symbols are backlit by a white light, allowing you view and select the desired function. Pressing one of the keys again will start the corresponding function, and its symbol will light up. After all functions have been switched off, the control panel will remain in stand-by mode for around 30 seconds and then switch off automatically.
- A: Light ON/OFF key: press this touch sensor to switch on or off the lights of the hood.
- C: Motor ON/OFF key (4 speed): press this touch sensor to switch on the hood extractor fan at the same speed as it was when last switched off. Use the „D“ and „B“ keys to vary the speed (power) of extraction.
- B: Decrease extraction speed (power) key: press this touch sensor to reduce the extraction speed of the hood.
- D: Increase extraction speed (power) key: press this touch sensor to increase the extraction speed of the hood.
- E: Timer key: when this touch sensor is pressed, independently of the extraction speed selected, the timer function will be activated. Press once to set the timer for 5 minutes, press a second time for 10 minutes and a third time for 20 minutes. During this phase, the „E“ symbol will flash.
To reset the timer, press the motor key, „C“ - F: Reset filters key: press this touch sensor to reset the signal that warns that the metal grease filter (1) is saturated and the charcoal filter (2) should be replaced. (1) After 40 hours of using the hood, the „F“ symbol will flash to indicate the necessity of cleaning the metal grease filters.
(2) After 120 hours of using the hood, the „F“ symbol will light up to indicate the necessity of replacing the activated charcoal filters.
Note: 4 hours after the last key touch, the fan will automatically turn off.
All hoods with capacities exceeding 650 m3/h have the last timed speed; It lasts for 7 minutes, after which it automatically returns to the last non-timed speed.
Auto Mode
- The AUTO mode is activated exclusively from the Paired Induction Hob.
- The paired induction hob can control the suction power of the hood. The way in which this power is controlled depends on the way in which the user sets the hob (refer to the hob manual).
- When the induction hob is switched on, the hood lights are switched on at maximum intensity. When the induction hob is switched off, the status of the lights is not chan-ged.
Multicontrol pairling
- Start the pairing procedure on the hob (refer to the hob manual).
- Press keys B+D simultaneously (keys A and F will flash alternately).
- Press key A to memorise the hob (the hood spotlights will flash three times in confirma-tion).
- Close the pairing procedure on the hob (refer to the hob manual).
Multicontrol disconnection
- The procedure is used to delete the previous hob from the hood memory.
- Press keys B+D simultaneously (keys A and F will flash alternately).
- Press key F to delete the memorised hob (the hood spotlights will flash three times in confirmation).
Connection of the receiver and programming of remote control for optional expanded Multi Control Function (Control of light color and dimming)
- Fig. 1 Extractor in standard design with Stick (1) and control panel (2) The hood is controlled via the master switch on the cooking plate (3) or the control panel of
the hood. The color temperature is 4.000 K. - Fig. 2 The optional control for additional light features is installed easily The mounting of a receiver (order number BLZ 501) and the coupling with the remote control (order number BLZ 502) allow the control of the color temperature and the brightnes5 of the hood.
- Fig. 3 Simple mounting of the Receiver The receiver is installed easily without extra tools.
Remove the Stick (1) at the top side of the hood and insert the Receiver (4)
- Fig 4.Coupling the Receiver (4) and optional Remote Control (5)
- Remove the protective film from the battery
- For the teaching of the remote control, press and hold the Learning Key on the Receiver (4) for 10 seconds.
- Quick-press the Learning Key on the Receiver (4) and press directly the desired Zone (1234) on the Remote Control
- LED lights will flash once – receiver is logged in
- For clearing the Learning Key, press for 10 sec. on the Receiver (4)
- Fig. 5 Remote Control Functions
INSTRUCTIONS
The remote control operates the light features, but not the operation of the extractor hood. If the light has been switched off via the remote control, switching on again is only allowed via the remote control. - Fig.6 Coupling with the light system of the kitchen If this technology is available in your kitchen, the coupling between the hood and the light system is allowed and will
provide a perfectly harmonious look combined with uniform light color
Maintenance
Prior to any maintenance operation ensure that the cooker hood is disconnected from the electrical outlet.
- Cleaning
The hood must be cleaned frequently both inside (apart from the area behind the grease filter) and outside. Use a cloth moistened with neutral liquid detergents. Never use products containing abrasives. - Warning
Failure to carry out the basic standards of the cleaning of the cooker hood and replacement of the filters may cause fire risks. Therefore we recommend observing these instructions. - Anti-grease Filter
must be cleaned once a month, with non abrasive detergents, by hand or in dishwasher on low temperature and short cycle. When washed in a dishwasher, the grease filter may discolour slightly, but this does not affect its filtering capacity. - Charcoal Filter – (only for filter version)
The active charcoal filters F are not washable nor regenerative. It should be changed every 6 months in normal use. The active charcoal filters capture unpleasant cooking odours. - Reducing environmental impact:
To reduce energy consumption, we recommend you always use the lowest suction speed among those suitable for the cooking mode currently active, avoid leaving the appliance running for more than 15 minutes after burner shutdown and switch off the lights if you leave the cooking area.Replacing lightbulbs
- Led Light
If the lighting group LED does not work, please contact the technical service center in order to replace the whole group.
Register your Yo new device on
YourBlaupunkt:
blaupunkt-einbaugeraete.com




















