BLAUPUNKT 5DB66254 Extractor Hood

- 5DB66254
- 5DB69254
- 5DB99751
Always wear work gloves for all installation and maintenance operations
Overview


functions







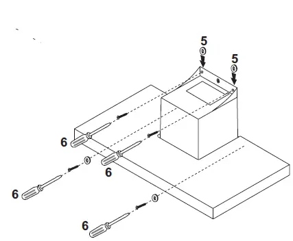
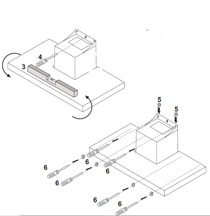
Installations





OPERATION
With the hood switched off, pressing any key will activate the control panel in stand-by mode. The symbols are backlit by a white light, allowing you view and select the desired function.
Pressing one of the keys again will start the corresponding function, and its symbol will light up. After all functions have been switched off, the control panel will remain in stand-by mode for around 30 seconds and then switch off automatically.
- A: Light ON/OFF key: press this touch sensor to switch on or off the lights of the hood.
- C: Motor ON/OFF key (4 speed): press this touch sensor to switch on the hood extractor fan at the same speed as it was when last switched off. Use the „D“ and „B“ keys to vary the speed (power) of extraction.
- B: Decrease extraction speed (power) key: press this touch sensor to reduce the extraction speed of the hood.
- D: Increase extraction speed (power) key: press this touch sensor to increase the extraction speed of the hood.
- E: Timer key: when this touch sensor is pressed, independently of the extraction speed selected, the timer function will be activated. Press once to set the timer for 5 minutes, press a second time for 10 minutes and a third time for 20 minutes. During this phase, the „E“ symbol will flash.
To reset the timer, press the motor key, „C“ - F: Reset filters key: press this touch sensor to reset the signal that warns that the metal grease filter (1) is saturated and the charcoal filter (2) should be replaced. (1) After 40 hours of using the hood, the „F“ symbol will flash to indicate the necessity of cleaning the metal grease filters.
(2) After 120 hours of using the hood, the „F“ symbol will light up to indicate the necessity of replacing the activated charcoal filters.
Note: 4 hours after the last key touch, the fan will automatically turn off.
All hoods with capacities exceeding 650 m3/h have the last timed speed; It lasts for 7 minutes, after which it automatically returns to the last non-timed speed.
Auto Mode
- The AUTO mode is activated exclusively from the Paired Induction Hob.
- The paired induction hob can control the suction power of the hood. The way in which this power is controlled depends on the way in which the user sets the hob (refer to the hob manual).
- When the induction hob is switched on, the hood lights are switched on at maximum intensity. When the induction hob is switched off, the status of the lights is not changed.
Multicentral pairing
- Start the pairing procedure on the hob (refer to the hob manual).
- Press keys 1+2 simultaneously (keys A and 4 will flash alternately).Press key A to memorize the hob (the hood spotlights will flash three times in confirmation).
- Close the pairing procedure on the hob (refer to the hob manual).
Multicentral disconnection
- The procedure is used to delete the previous hob from the hood memory.
- Press keys 1+2 simultaneously (keys A and 4 will flash alternately).
- Press key 4 to delete the memorized hob (the hood spotlights will flash three times in confirmation).


Maintenance
- Prior to any maintenance operation ensure that the cooker hood is disconnected from the electrical outlet.
- Cleaning
The hood must be cleaned frequently both inside (apart from the area behind the grease filter) and outside. Use a cloth moistened with denatured alcohol or neutral liquid detergents. Never use products containing abrasives. - Warning
Failure to carry out the basic standards of the cleaning of the cooker hood and replacement of the filters may cause fire risks. Therefore we recommend observing these instructions. - Anti-grease Filter
must be cleaned once a month, with non abrasive detergents, by hand or in dishwasher on low temperature and short cycle. When washed in a dishwasher, the grease filter may discolor slightly, but this does not affect its filtering capacity. - Charcoal Filter – (only for filter version)
The active charcoal filters F are not washable nor regenerative. It should be changed every 6 months in normal use. The active charcoal filters capture unpleasant cooking odors. - Replacing lightbulbs
Warning! Prior to touching the light bulbs ensure they are cooled down. - Led Light
If the lighting group LED does not work, please contact the technical service center in order to replace the whole group. - Reducing environmental impact:
To reduce energy consumption, we recommend you always use the lowest suction speed among those suitable for the cooking mode currently active, avoid leaving the appliance running for more than 15 minutes after burner shutdown and switch off the lights if you leave the cooking area.
Service
www.blaupunkt-einbaugeraete.com
Germany
[email protected]
Austria
[email protected]
Netherlands
[email protected]
Belgium
[email protected]
Sweden
[email protected]
France
[email protected]
1800 252 878 658
1800 209 2096
Australia
[email protected]




















