
Gasmate CH206B Allure Column Heater Instruction Manual

Model No. CH206B
- The ideal solution for extending the season of outdoor entertaining
- Creates a stylish and attractive ambience
- Push button piezo ignition
- Includes a safety ‘tip-over’ switch that halts supply of gas to the unit should it be accidentally knocked over
- Stainless steel burner for extra long-term reliability
- Complete with hose and QCC regulator
- Efficiency and powerful 36Mj/h outpur
- Adjustable heat output
- Operates for approximately 12 ½ hours on a properly filled 9kg cylinder.
- For outdoor use only
- Approved to NZ Standards
FOR YOUR SAFETY
If you smell gas:
- Shut off the gas to the appliance.
- Extinguish any open flame.
- If odour continues, immediately call your gas supplier.
Do not store or use gasoline or other flammable vapour and liquids in the vicinity of this or any other appliance.
WARNING
Improper installation, adjustment, alteration, service or maintenance can cause injury or property damage.
Read the instructions thoroughly before installing or servicing this equipment.
FOR OUTDOOR USE ONLY
LPG/ULPG
IMPORTANT: RETAIN THESE INSTRUCTIONS FOR FUTURE USE
INSTALLATION
Important Safety Rules
This appliance must only be used in a well ventilated area.
- This appliance shall not be installed or used indoors, in buildings, garages or any other enclosed area.
- DO NOT place articles on or against this appliance.
- DO NOT use or store flammable materials near this appliance.
- Children and adults should be alerted to the hazards of high surface temperatures, burns and clothing ignition.
- Children should be carefully supervised when they are in the area of the appliance.
- NEVER hang anything including clothes or other flammable items on the appliance.
- DO NOT operate this appliance unless it is fully assembled with burner guard in place.
- DO NOT SPRAY AEROSOLS IN THE VICINITY OF THIS APPLIANCE WHILE IT IS IN OPERATION.
- Installation and repair should be done by a qualified service person. The appliance must be inspected before use and at least annually by a qualified service person. More frequent cleaning may be required as necessary. It is imperative that control compartment, burners and circulating air passages of the appliance and light be kept clean.
Storage of an appliance indoors with the cylinder attached is only permitted if the size of the cylinder complies with AS/NZS 1596; otherwise cylinders must be stored outdoors in a well ventilated area.
The guards are fitted to this appliance to reduce the risk of fire or injury from burns and no part of it should be removed. This appliance must be protected from exposure to rain.
Prior to assembling your appliance, the following must be reviewed. Compliance with the following should result in satisfactory appliance operation. This instruction manual should be retained for future reference. The installation must conform with local codes or authority having jurisdiction.
- The appliance is intended for heating residential and non-residential outdoor spaces. The installation must conform with New Zealand Standard 5601 “Gas Installations”.
- Adequate clearance around air openings into the combustion chamber, clearances from combustible materials, provisions for accessibility and for combustion and ventilating air supply must be maintained at all times when the appliance is operating.
- Proper clearance from combustible materials must be maintained at all times. The minimum clearances are as follows:
Minimum Clearance from Combustibles:
- Side: 500 mm
- Rear: 500 mm
- Ceiling: 1000 mm


Combustible materials are considered to be wood, compressed paper, plant fibres, plastic, plexiglas or other materials capable of being ignited and burned. Such materials shall be considered combustible even though flame proofed, fire-retardant treated or plastered. Additional clearance may be required for glass, painted surfaces and other materials which may be damaged by radiant or convection heat.
4. Heaters must be placed on a level and adequate footing and be readily accessible.
5. The gas manifold supply pressure must be regulated at 2.75 kPa utilising an approved regulator (supplied with heater).
6. The appliance must be inspected before each use, and at least annually by a qualified service person.
- The appliance area must be kept clear and free of combustible materials, gasoline and other flammable vapours and liquids.
- Gas orifices and burner must be kept clear of dirt and cobwebs. Flow of combustion and ventilation air through the perforated portions of the heater must not be obstructed. Cleaning with a soft brush before use and at least every six months is recommended.
- All gas connections should be checked for leaks utilising a soap solution. NEVER use a flame for this purpose.
- The flame pattern should be visually checked whenever heater is operated. If flames extend beyond surface of the guard the appliance should be turned off and should not be operated again until the unit is serviced and or repaired.
- Any cleaning agent used on the heater should be of a non-combustible and non-corrosive nature.
- The stainless steel emitter normally does not require cleaning and should NEVER be painted.
7. The hose must be protected from contact with hot or sharp surfaces both during use and while in storage. The hose assembly should be visually inspected prior to each use of the heater. If excessive abrasion or wear is evident, or the hose is cut, it must be replaced prior to operating the heater. The replacement hose assembly may be obtained from the manufacturer.
8. DO NOT use any pressure regulator or hose assembly other than those supplied with the appliance. Replacement pressure regulator and hose assembly must be those specified. Replacement parts maybe obtained from the manufacturer or your local sales representative.
9. Installation and use of this heater must conform with New Zealand Standard 5601 “Gas Installations”.
10. This heater is designed to operate with a standard 9kg LPG cylinder with Approved Cylinder Connection.
11. The valve outlet must be maintained in good condition. When the cylinder is not in use, be sure to cover it with
a dust cap. A leak test should be performed with soapy water whenever connecting a new cylinder. NEVER use a match to test for leaks.
12. The LPG cylinder must be turned off whenever the heater is not in use. When the heater is to be stored indoors, the propane cylinder and the heater must be disconnected and the cylinder stored in accordance with the Standard for Storage and Handling of Liquefied Gases.
13. The appliance has been designed with several safety features which include a tip over switch.
Any modification to the heater not described in the installation instructions may compromise the safety of this appliance. Special concern is as follows:
(1) DO NOT bypass thermocouple safety burner;
(2) DO NOT operate heater without the guard;
Clothing or other flammable materials should not be hung from the heater, or placed on or near the heater. The area above the burner may be extremely hot. Direct contact with these metal surfaces should be avoided in order to prevent burns or clothing ignition.
QCC CYLINDER CONNECTION DEVICE

Screw the coupling nut of regulator into the cylinder valve outlet.
IMPORTANT
Storage of an appliance indoors with the cylinder attached is only permitted if the size of the cylinder complies with AS/NZS 1596; otherwise cylinders must be stored outdoors in a well ventilated area.
The guards are fitted to this appliance to reduce the risk of fire or injury from burns and no part of it should be removed.
This appliance must be protected from exposure to rain.

Heater specifications can be found on the data label.
HEATER ASSEMBLY INSTRUCTIONS
Tools Required:
Phillips head screwdriver
2 Adjustable spanners
Note: Remove any transit protection material

PARTS LIST

HARDWARE LIST

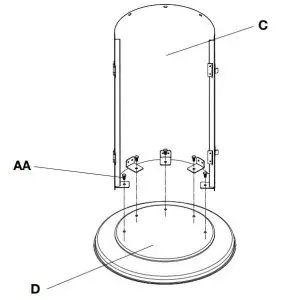
STEP 1
Attach base rear cover (C) to base (D) using 5x M8x16 Hex Bolts (AA)

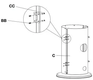
STEP 2
Attach Base Front Door (B) to Base Rear Cover (C) using 4x M4x10 screw (BB) and 4x M4 Nut (CC)

STEP 3
Attach Main Top Assembly (A) to Completed Base (B,C,D) using 5x M5x12 Screws (DD) and 5x M5 Nuts (EE)

STEP 4
Insert battery into ignition starter making sure the battery is the correct way around.

TEST FIRING HEATER
Test fire heater, following the lighting instructions. Leak test all gas connections with soapy water. Soap bubbles indicate gas leakage. DO NOT use a match to test for gas leaks.
WARNING: White smoke may appear around the radiant head during the first minute of the initial firing.
TROUBLE SHOOTING

NOTE: If the appliance cannot be adjusted to perform correctly it should not be used until serviced or repaired. Improper installation, adjustment, alteration, service or maintenance can cause injury or property damage. Any modifications or adjustments made to product without prior authority from the manufacturer will void any warranty claims. Read the installation, operating and maintenance instructions thoroughly before installing or servicing this equipment.
LIGHTING INSTRUCTIONS
WARNING: White smoke may appear around the radiant head during the first minutes of the initial firing.
- Ensure that the control knob is off. Slowly open the gas cylinder valve.
- Push in control knob and turn anti-clockwise to HIGH whilst simultaneously pressing the red ignitor button.
- Check for flame at the burner. If burner does not light immediately turn control knob to OFF position and try again from the start. Allow 30 seconds between ignition attempts for gas to dissipate. Several attempts may be necessary. Failure to follow this lighting procedure may result in flame roll out beyond the emitter grid.
- With the pilot alight keep control knob depressed for 15 seconds.
- For minimum heat turn the control knob to ‘LOW’.
- For maximum heat turn the control knob to ‘HIGH’.
- To turn heater off, turn the control knob to ‘OFF’.
SAFE APPLIANCE LOCATIONS
This appliance shall only be used in an above ground open-air situation with natural ventilation, without stagnant areas, where gas leakage and products of combustion are rapidly dispersed by wind and natural convection.
Any enclosure in which the appliance is used shall comply with the following:
An enclosure with walls on all sides, but at least one permanent opening at ground level and no overhead cover (see Example 1).
Within a partial enclosure that includes an overhead cover and no more than two walls (see Example 2 & 3).
Within a partial enclosure that includes an overhead cover and more than two walls, the following will apply:
at least 25% of the total wall area is completely open, and
at least 30% of the remaining wall area is open and unrestricted (see Example 4 & 5).
In the case of balconies, at least 20% of the total wall area shall be and remain open and unrestricted.
DIAGRAMMATIC REPRESENTATIONS OF OUTDOOR AREAS
The following figures are diagrammatic representations of outdoor areas. Rectangular areas have been used in these figures – the same principles apply to any other shaped area.


1 YEAR OUTDOOR HEATER WARRANTY

Aber Living warrants the purchaser of this product against defects in workmanship and material, for a period of up to 12 months from the date of purchase. The warranty is non-transferable and becomes void if used for commercial or rental purposes.
Warranty and purchase receipt of this product are to be retained as proof of purchase and must be presented if making a claim under the terms of the Aber Living Warranty. Repairs under warranty are free of charge, provided the product is delivered to our Service Department or Authorised Service Agent and freight charges both ways are paid by the owner. No liability will be accepted for any loss of damage in transit.
Note: In most cases the Burner Head, Hose and Regulator only will need to be returned.
Aber Living reserves the rights to replace or repair the product within the warranty period. Warranty does not apply to any defect, deterioration (including corrosion if located within 1km of the sea), loss, injury or damage occasioned by or as a result of the misuse or abuse, negligent handling or if the product has not been installed and used in accordance with the instructions.
The warranty is void if there is evidence of the product being tampered with by
unauthorised persons.
If the product includes one or a number of accessories, only the defective accessory or part will be replaced, eg. hose, regulator, piezo igniter, reflector.
In the event of Aber Living choosing to replace the product, the warranty will expire at the original date, i.e. 12 months from the original purchase date.
Where this product contains information from an overseas country, nothing in that information is intended to limit any condition, guarantee, right or remedy which may be available under the Consumer Guarantees Act 1993, except to the extent permitted by that Act.
Approved for Outdoor Use Only
For service, spare parts or product information in New Zealand, please call Aber Living on the Customer Service Line – 0800 161 161. www.aberliving.co.nz
YOUR PURCHASE RECORD (please complete)
Date of Purchase________________________________________________________
Model Number_________________________________________________________
Serial Number (if applicable)_______________________________________________
Purchased from_________________________________________________________
Read More About This Manual & Download PDF:



















