PUKY Balance Bike LR 1L Supermoto User Manual
Introduction
Congratulations on the purchase of this PUKY vehicle. You have acquired a quality product, which is certain to bring you great joy.
This manual contains information on the safe use of your vehicle and its care. Please read the manual carefully prior to use and keep it in a secure place for future reference. Failure to observe the information contained in this manual may impair the safety of your child. Should you have any questions, please contact your dealer or contact us via our website: www.puky.net.
Parents responsibility
Risks during play are, for the most part, excluded when used in accordance with the intended purpose. However, please take into consideration that unforeseen situations and hazards may occur as a result of the natural need for movement and the temperament of young children and adolescents for which the manufacturer cannot be held liable. Teach children how to use the vehicle correctly, in order to avoid falls and collisions. Supervise children, and make them aware of any potential hazards.
Suitability
The vehicle must only be used in a suitable, safe play area, in a sheltered environment. This vehicle does not comply with the requirements of German Road Traffic Regulations (StVZO) and may not be used on public roads. The permitted total load is a maximum of 25 kg. This toy vehicle may have sharp edges.
Adjust the bike to the size of the child. Adjust the saddle so that the sole of the child‘s foot still reaches the ground if the legs are slightly bent when driving. After adjusting the saddle position adjust the handlebar so that the child can easily reach the handlebar when sitting on the bike.
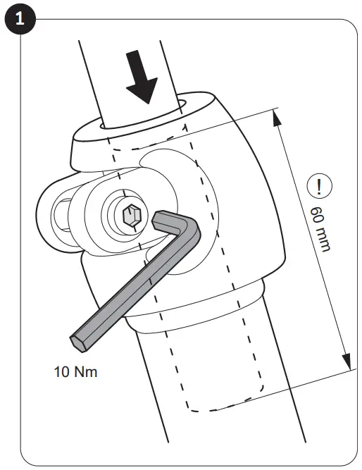
Please observe the minimum insertion depth marks for saddle stem and handlebar (min. 60 mm.
Learning bike with brake YES/NO?
Due to their motive abilities children starting to learn to ride the learning bike at the age of approx. 2.5 years are not able to stop such a vehicle by themselves with the handbrake. There is a risk that supervising persons may be persuaded in believing in a „non-existing safety“ and therefore do not pay enough attention to the learner, because the bike is fitted with a brake (see warning notes).
Observations reveal that driving the learning bike gives children great fun for a long time. For this group of advanced learners it makes sense to fit one model with a brake system suitable for children. But these young riders still need the attention of grown ups. For some models the brake system can be retrofitted as a „spare parts kit“ by the specialist dealers.
Usage
It is necessary to wear closed shoes. The vehicle must not be driven in the vicinity of stairs, slopes, steep terrain, swimming pools, or other bodies of water. Stairs in the vicinity must be secured to prevent children from riding up or down them on the vehicle.
ATTENTION. Protective equipment required. Not for use in road traffic. Max. 25 kg.
The legal liability for material defects applies. Damages caused by inappropriate use, the effects of force, insufficient maintenance or due to normal wear and tear are excluded from the liability of material defects.
CE mark
This product complies with the European Toy Safety Directive 2009/48/EC and therefore bears the CE mark.
Type label
The type label is attached to the underside of the rear frame. Please record the information on the identification plate in the cycle passport at the end of this manual so that you have all the information you need in the event of any questions or when ordering spare parts.
Care and maintenance
Examine the vehicle at regular intervals for any wear, and to check that the screws are still properly tightened.
Pay special attention that the handlebar and the saddle are secure and cannot be rotated! Self-tightening nuts are hard to loosen and must be replaced after complete disassembly! Check the tire pressure at regular intervals (the prescribed pressure is indicated on the sides of the tires).
In order to maintain the high, design-specified safety levels, all worn or defective parts are to be immediately replaced by original PUKY spare parts. For safety reasons, the vehicle should not be used until it has been fully repaired. Bent or deformed parts should not be repaired but instead should be replaced.
Wear parts: Tires (incl. inner tubes), handlebar grips, brake.
The vehicle must not be cleaned with a high-pressure cleaner. Clean the tricycle using a mild soapy solution
and carefully wipe dry using a soft cloth. Keep the vehicle away from corrosion-promoting materials (road salt, sea water, fertilizer). The vehicle must not be stored in damp conditions.
As with car tires there is a risk of local discoloration or staining of the natural rubber when the bike rests on its wheels in the same position for a long time. Take the necessary precautions to avoid this.
Learning bike
Unpacking and scope of delivery
Do not use any sharp objects when opening the packaging and removing protective material. By doing so, you may damage the paint or parts of the vehicle.
- Remove all parts from the packaging.
- Remove the protective material. Keep all packaging material out of reach of children – there is a risk of suffocation.
- Examine the package for completeness and proper condition. If anything is missing, please contact your dealer before you start to assemble the vehicle.
Scope of delivery (Figure A):
- Learner bike
- Handle bar

Assembly
The assembly instructions can be found on the last pages of this manual.
You require the following tools for assembly (Figure B):
- Allen key 5 mm

Small parts which are required during assembly (e.g. screws and washers) must be kept out of the reach of small children. There is a danger of suffocation as a result of swallowing the parts. Also keep all packaging material out of reach of children.
The bike must be assembled with great caution and by and adult to avoid any potential subsequent accidents or injuries. Please take a sufficient amount of time to assemble the bike. Several assembly steps require manual skill and practice in handling tools (e.g. spanner). Please contact your dealer or a workshop if you have any questions.
In some cases, it is necessary to tighten screws with a prescribed torque. This torque value is stated in Newton’s (e.g. 2 Nm). If the torque with which a screw is tightened is too low, the connection may still be too loose and therefore unsafe. If the torque is too high, screws and other parts may be damaged or destroyed.
Figure 1: Insert the handlebar into the steer tube and tighten the screw. Please pay attention to the marking of the minimum insertion depth.
Figure 2: After loosening the saddle clamp, you can pull out the saddle (observe minimum insertion depth!). Then retighten (5-8 Nm)
The brake on this bike has already been installed and adjusted by PUKY.
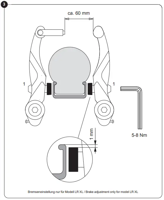
Settings control and fine adjustment of the brake (V-brake). Only for model LR XL.
Figure 3: Make sure that the brake pads are parallel to each other and that they are properly aligned with the rim. This means that the brake pads should rest 1 mm below the top edge of the rim. If these settings are not correct, loosen the fastening nut of the brake pad (1) and align as described above. To do so, pull the brake lever and re-tighten the fastening nut (5-8 Nm).
Figure 4: Brake cable tension is adjusted at the anchor nut (A) so that each brake pad maintains a distance of 1.5 mm to the rim. If an adjustment needs to be made, the protruding wire end should then be refastened to the brake.
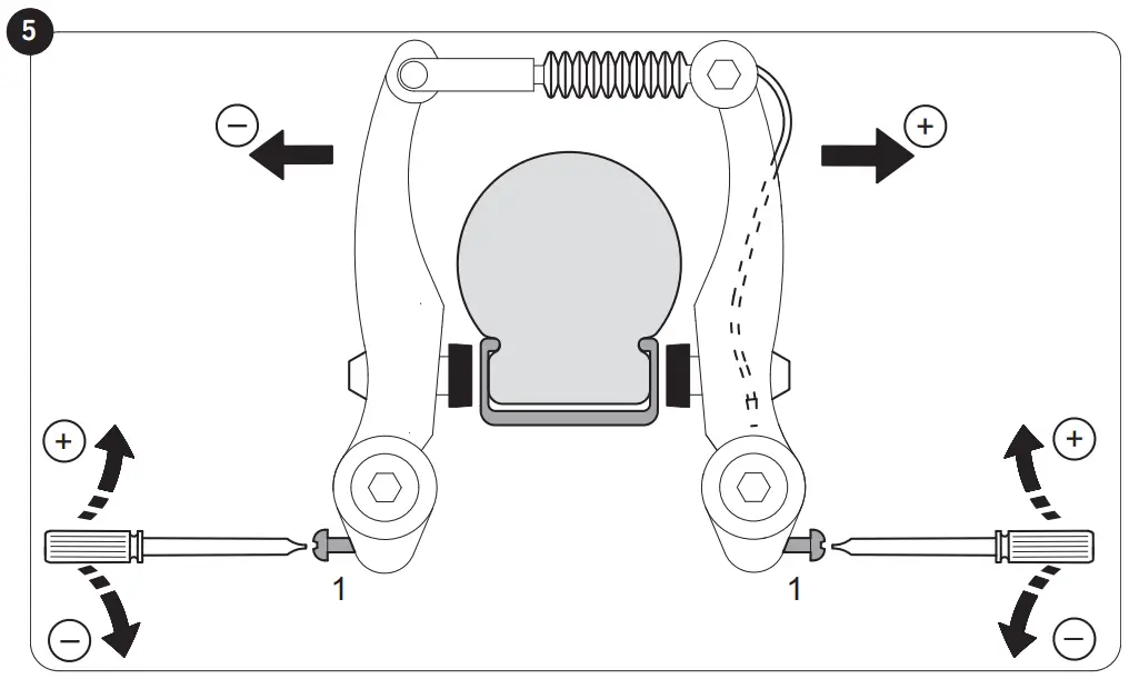
Figure 5: Now center the brake arms by turning the adjusting screw. You will need a crosstie screwdriver for this.
It is important that the brake levers are actuated several times so that the tension of the brake arms is evenly distributed to both sides and the settings take effect. The brake/rim contact must be identical on both sides.
Please complete the identification plate on the cycle passport page. The PUKY identification plate is fitted to the vehicles as shown in the drawings below and must be noted down for ordering replacement parts from your dealer.
Muster/Specimen/Model
child/Identification
Vehicle passport
Name: Surname
Street:
Post Cod:
First name:
City:
Please complete:
PUKY GmbH & Co. KG 11 42489
[email protected]
www.puky.de




















