jasonl San Fran System 6 Person Workstation

Tools Required: Power screwdriver.
Special Note: No pre-drilled holes or nut inserts are provided. Wood screws will be required to be drilled directly into underside of desk top.
COMPONENTS

- Leg x8
- Adjustable Foot x8
- Leg Cable Cover x8
- Rail Lengths x4 (920mm)
- Rail Widths x4 (620mm)
- 2-Way Connector x4
- 2-Way Connector Cap x4
- 3-Way Connector x4
- 3-Way Connector Cap x4
- Rail Space Bracket x4
- Slot Nut x12
- Table Top x6 (1200mm x 700mm)
- Support Connector x8
- Rail Widths x2 (1750mm)
SCREWS - M8x20mm Dome Head x4
- M8x12mm Dome Head x28
- M8x20mm Cap Head x8
- M5x20mm Self Tapping x40
INSTALLATION INSTRUCTION
- Slide the 2-way and 3-way connectors over each leg, and securely lock into place using M8x20mm cap head bolts.

- Loosely connect the longer M8x20mm dome head bolt and slot nut through the rail spacer bracket. Slide onto required rails and fully tighten in place.

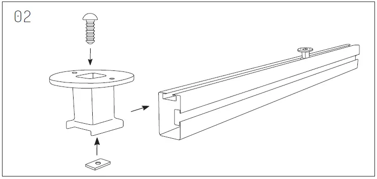
- Loosely connect the shorter M8x12mm dome head bolt and slot nut through the metal rail spacer bracket. Slide onto required rails and fully tighten in place.

- Securely connect legs to rails lengths using the shorter M8x20mm dome head bolts.

- Securely connect legs to rails widths using the shorter M8x12mm dome head bolts.

- Ensure the work surfaces are centered over the frame. Fully tighten all M5x20mm self tapping screws through each leg rail spacer and support connector bracket into the work surfaces.

- Cancel any power box cable using the magnetic leg cable covers.

Need help! Call us on
1300 527 665
www.jasonl.com.au



























