LUCIDE ZOZY Floor reading lamp LED Dim. 1x4W 3000K 3 StepDim

Thank you for purchasing a Lucide original!
This manual will hopefully guide you easily through the installation process. We aim to inspire and illuminate our clients by offering trendy, high-quality and affordable lighting. Welcome to the community of #illuminatesyourworld
DISCOVER OUR COLLECTION!
Visit our website and discover our entire collection
CURIOUS ABOUT OUR BRAND?
Our brand video gives you a glimpse behind the scenes at Lucide
#ILLUMINATESYOURWORLD

Take a look at how others around the world use Lucide products
General
- Dimensions LxW xH: 22cm x 22cm x 145cm
- Main material: Plastic
- Color: Black
- Style: Modern
- Shape: Triangle
- Weight: 2,10 kg
Specifications
- Dimmable: Yes
- Light direction: Around (Diffuse)
- Adjustable in height: Adjustable In Height (After Installation)
- Directional: With Flexible Reading Arm
- Cable: Yes, Cable W ith Plug On Product
- Cable length: 180 cm
- Sensor: Without Sensor
- Control: Dimmer – On The Product
- Power supply: Adapter/ Power Grid
- IP-Class: 20
- Electric Class: 3
- Number of light sources: 1
- Lamp socket: Integrated LED
- Maximum wattage: 4W
- Power requirements: 220 -240 V~50 Hz
- Lumen: 250 Lm
- Colour temperature: 30 0 0 K
- Color Rendering Index: 80
- Expected lifetime: 250 0 0 h
- Warranty: 3 Years
TECHNICAL DRAWING & DIMENSIONS
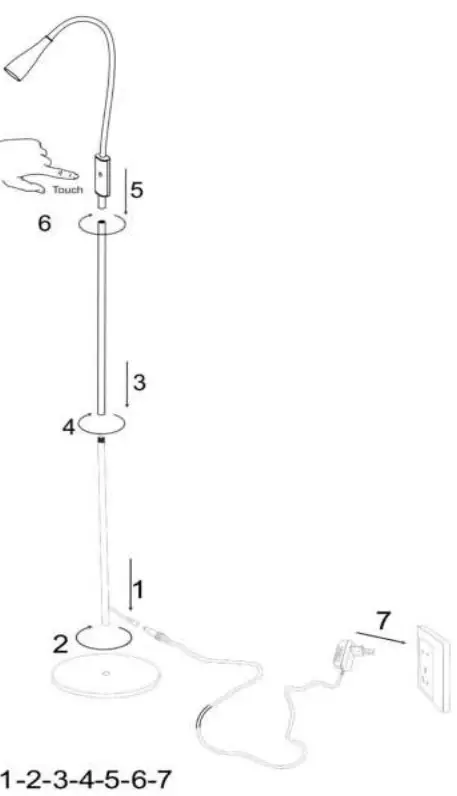
INSTALLATION DRAWING SPECIFICATIONS
Safety Instructions
Please read this notice carefully and keep it during the lifetime of this product. Follow the instructions for a safe and correct installation and functioning of the light fixture. The manufacturer does not accept any responsibility for damage caused by improper installation and service. Installation should always be done by a qualified electrician.Always isolate the power before commencing installation, maintenance or repair. In case of doubts, please contact a qualified electrician. Please pay attention to locations where the item can be installed (indoor, outdoor, bathroom (for outdoor and bathroom installation, please see further). Indoor items cannot be used in humid places. Do not put the item in contact with water or any liquids or inflammable products. Always respect the minimal distance (indicated on the light) to inflammable products.During installation, make sure that the cables will not be squeezed or damaged by sharp edges. If the external flexible cable is damaged, it needs to be replaced exclusively by the manufacturer, his service agent, or a qualified electrician. This is to avoid all risks.Because the temperature of the item and the bulbs can get very high, they must cool down before being touched. Always use the correct bulb (respect type and maximal wattage as indicated on the product).
Explanation of the symbols that can appear on the fixture

- This item is only suitable for indoor use, exclusive bathroom (except if a higher IP degree permits that the item can be used in the bathroom).
- Legislation requires that all electrical and electronic equipment must be collected for reuse and recycling.
Electrical and electronic equipment marked with this symbol indicating separate collection of such equipment must be returned to a municipal waste collection point. - Class I: The item has an earth connection. The earth wire (green-yellow) needs to be connected to the earth connection (marked with this symbol).
- Class II: The item is double insulated and must not be connected to the earth wire.
- Class III: The item is only suitable for lower voltage supply and must not be connected to the earth wire.
- IP 20: Protection against contact with a finger
- If the protection glass is damaged or broken, it needs to be replaced immediately.
- Please respect the minimum distance from the bulb to inflammable objects.
For more specifications of this product please visit
www.lucide.com
- Item number: 18756/ 0 3/ 30 ZOZY
- EAN code: 5411212185846
LUCIDE NV
LUCIDE NV BISSCHOPPENHOFLAAN 145, 2100 DEURNE, BELGIUM
[email protected] tel: +32(0)3 366 22 04
www.lucide.com






















