ECO High Line 1500W, 2000W
Instructions
5 Year Warranty
General safety instructions
Carefully read through the instruction manual prior to installation and store the manual safely. Keep the manual for any questions about the future use of your product. The product is designed and manufactured in compliance with European standards: CE, RoHS.The product complies with the essential requirements of the Directives: EN 60335-2-30:2009, and EN 60335-1:2012.
- This heater can be used by children aged 8 years and above and persons with reduced physical, sensory or mental capabilities or lack of experience and knowledge if they have been given supervision or instruction concerning the use of the heater in a safe way and understand the hazards involved. Children must not play with the heater. Cleaning and user maintenance must not be performed by unsupervised children. Children younger than 3 years old must be kept away from the heater unless they are continuously monitored. Children older than 3 and younger than 8 years may only switch the heater ON and OFF if they are monitored or have been taught how to use the heater safely and have understood the resulting dangers; this is provided that the heater is placed or installed in its normal place of use. Children older than 3 and younger than 8 years must not plug the heater into the wall socket, adjust the heater, clean the heater, and/or perform any user maintenance.
- Extreme caution is necessary when any heater is used by or near children or invalids and whenever the heater is left operating and unattended.
- CAUTION – Some parts of this product can become very hot and cause burns. Particular attention has to be given where children and vulnerable people are present.
- The user may connect the heater to the power supply when the connection is to a normal grounded power outlet using the standard power cord of the unit. If the power cord needs to be modified or the heater is to be permanently connected to an electrical outlet, installation must be carried out by an authorized electrician.
- The heater can only be connected to a timer that will switch off the device after the set time. Do not connect the heater to a timer that starts the heater in a timed manner. The user must always personally control the starting of the heater.
- When using electrical appliances, basic safety precautions should always be followed to reduce the risk of fire, electric shock, or injury to persons, including the following:.
- This heater is hot when in use . To avoid burns, do not let bare skin touch hot surfaces. If provided, use handles when moving this heater. Keep combustible materials, such as furniture, pillows, bedding, papers, clothes, and curtains at least 90 cm from the front of the heater.
- Always unplug the heater when not in use
- Do not operate any heater with a damaged cord or plug or after the heater malfunctions, has been dropped, or is damaged in any manner. Discard the heater, or return it to an authorized service facility for examination and/or repair.
- Do not run cord under carpeting. Do not cover the cord with throw rugs, runners, or similar coverings. Do not route the cord under furniture or appliances. Arrange the cord away from the traffic area so that it will not be tripped over.
- Do not use the heater in the immediate surroundings of a bath, a shower, or a swimming pool.
- Do not use this heater outdoors during bad weather like rain, storm, or snow.
- Connect to properly grounded outlets only.
- Do not place the heater directly below a socket outlet
- To disconnect the heater, turn the controls off, then remove the plug from the outlet.
- Do not insert or allow foreign objects to enter any ventilation or exhaust opening as this may cause an electric shock or fire, or damage the heater.
- To prevent a possible fire, do not block air intakes or exhaust in any manner. Do not use it on soft surfaces, like a bed, where openings may become blocked.
- A heater has hot and arcing or sparking parts inside. Do not use it in areas where gasoline, paint, or flammable liquids are used or stored.
- Check if the voltage indicated on the nameplate of the appliance corresponds to the local mains voltage before you connect the appliance.
- Do not use the heater close to curtains and other combustible materials.
- Do not touch the appliance. Caution! Risk of scald injury!
- In case of improper use, there is a risk of electrical shock and/or fire hazard. Operation of the appliance must be discontinued and remove the mains plug immediately. Do not try to repair the appliance by yourself. Please contact the service agent or a suitably qualified electrician for maintenance.
Maintenance and cleaning
- Disconnect the plug from the socket before cleaning or when the product is not in use for prolonged periods of time.
- Do not clean the product until 60 minutes after it is turned off.
- When cleaning, do not spray cleaners or water directly into the product.
- Apply the cleaner on a cloth and wipe the product
- Regularly check the cord for damages and ensure that the plug is clean.
- If the power cord, lamp, or other electrical parts need replacing, this must be done only by a professional electrician.
Troubleshooting
Follow the troubleshooting steps listed below:
- Make sure the power cord is connected correctly.
- Check the cable for any ruptures.
- Make sure the ON/OFF switch has been switched OFF.
- Check whether the bulb has blown.
- If the product is turned off due to overheating caused by improper use (overheating sensor), the product must be disconnected from the socket outlet and cool off. Check the product for defects after 30 minutes of cooling. If there are no visible defects, try to reconnect the product again. Please contact the place of purchase if this did not solve your problem.
Storage
- Do not route the cord when the heater is in storage, or the heater is not in use.
Disposal
European directive 2002/96/EC on Electrical and Electronic Equipment Waste (WEEE), requires that old household appliances are not thrown into the normal municipal waste stream. The appliances should be collected separately to maximize the recovery and recycling of materials and reduce the impact on human health and the environment. The symbol of the”crossed off dustbin” is stamped on the product to recall the obligations of the separate collection. Consumers should contact their dealer or local authorities regarding the procedure to be followed for the removal of their product.
Customer Service
- Repairs must be carried out by authorized specialists, thus ensuring electrical safety.
- Please contact the service agent or a suitably qualified electrician.
- Improper repairs could lead to danger to the user.
- This warranty does not cover damage or failure which results from alteration, accident, misuse, abuse, neglect, or improper maintenance.
- In line with our policy of continuous product development, we reserve the right to change the product and documentation specifications without notice.
Specifications
| Model: | LDHR12028-150KY | LDHR12028-200KY |
| Voltage (V): | 220-240V~ | 220-240V~ |
| Power consumption (W): | 1500W (500, 750, 1000, 1200, 1350, 1500W) | 220-240V~ 2000W (660, 1000, 1320, 1600, 1760, 2000W) |
| IP-class: | IP65 | IP65 |
| Remote control: | Yes | Yes |
| Battery type: | 2xAAA | 2xAAA |
I O II Switch function
| I = Standby | Use the remote control to turn the ON/OFF the heater. |
| II = ON | The heater works directly without the remote control. |
| O = OFF | Power OFF. |
Remote control instructions
![]() | Description | Function |
| Up Arrow | Up one heating level | |
| Max | The heater goes directly to the highest heating level. | |
| Down Arrow | Down one heating level | |
| ON | To switch the heater ON press ON. The patio heater has a soft start function of 33% power. 4 seconds after the heater has been turned ON it will automatically switch to the last heating level used. In the case of the first time use, after 4 seconds the heater will automatically switch to 100% power. | |
| OFF | To switch the heater OFF press OFF. The heater will switch to standby mode (the receiver indicator will light up). |
Operation instruction
- Remove all packaging material (including the anti-vibration object of the lamp) and check the appliance, supply cord, and plug for signs of damage.
- Pay attention to the mounting place and all mounting material (dowels and screws). Ensure they are suitable and stable enough for mounting and lastingly holding of the appliance.
- Before mounting, the minimum safe mounting distances and tilt angles shown in the figures must be strictly followed.
- The distance between the bottom edge of the appliance and the floor must be at least 1.8 m. See figure 2.
- There must be a distance of at least 0.25 m between the appliance and the ceilings, roofs, or other covers. See figure 2.
- There must be a distance of at least 0.5 m on each side between the appliance and walls or the like. See figure 2.
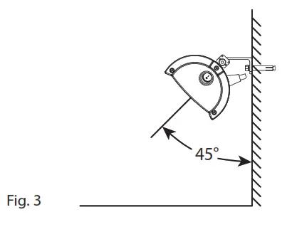
- The recommended degree to mounting surface is 45°. See figure 3.
- Pay attention that the installation of the appliance must not add excessive wind load.
- Install the expansion bolts first, then fix the heater on the wall. Ensure that the place to be installed is secure and firm if not install the appliance to a stand.
- Adjust the desired angle of radiation and tighten all screws. Check regularly the screw’s connection. Mechanical bearing pressure and oscillation due to wind or rain could lead to loss.
- Plug in the power source and operate the remote control. Then observe, whether during the first 10-15 minutes the appliance works trouble-free.
- If you do not use it, please remove the battery socket from the remote control.
![]() | ![]() |
![]() | ![]() |
Accessories



Imported by
NSH NORDIC A/S
Virkefeltet 4, 8740 Brædstrup, Danmark
www.nshnordic.com
Art. no. 212-310_212-311_212-312_212-315_212-316_212-317_212-318
























