
Product structure


- camera
- Light sensor
- Clock speaker
- Invisible night vision leds
- PIR sensor
- Time display
- Camera speaker
- +-
- Time setting
- +-
- wake up/Alarm switch
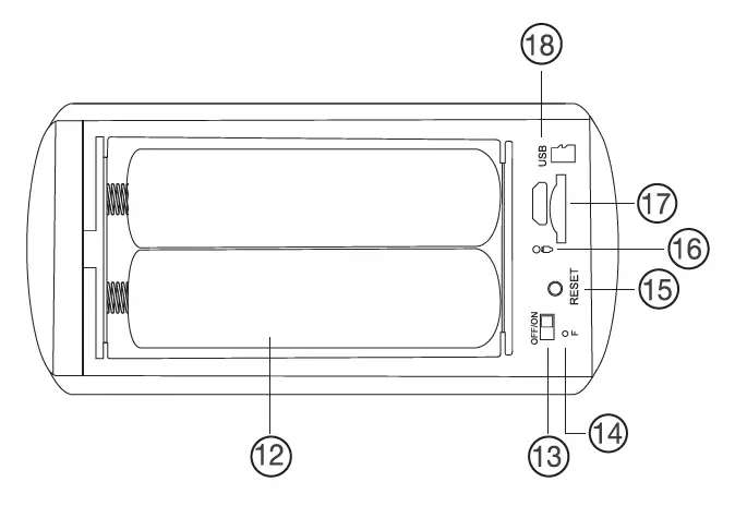
- Batteries
- ON/OFF switch
- WiFi indicator
- Reset key
- Charging indicator
- Micro SD card slot
- USB Port
Quick guide of Wi-Fi camera function
- Download & Install Free App <CamSC> from App Store or Google Play;
Tips: Please allow “CamSC” to notification, Bluetooth and location while using the App. - Enter App, select your region at the top right corner and
register;
Tips: If a code doesn’t arrive, please check the spam folder first. - Take off back cover–>lnsert micro SD card –> Turn back ON/OFF switch, press reset key 4 seconds till a beep sound (Pairing mode is ready now).
- Enter App, Click+ » Smart Home » Pairing Mode » Click device name >> Select Wi-Fi >> Input password > NEXT.
- Device online in around 10 seconds & Wi-Fi live video is ready. P.S.: Contact local dealer for tutorial video setting up.
Reset key tips:
One press to restart device; 4 seconds press to pair with WiFi (First double beep); 6 seconds press to reset device (Second double beep).
Wi-Fi indicator tips:
Blue LED blinking when pairing with WiFi; Turn off when WiFi paired; Blink once when motion detected.
Charging indicator tips:
Solid red when charging, and off when fully charged.
Clock part setting
/-‘.+:- Short press = Wake up (Sleep in 10 seconds when no operation) Long press = Turn off / on alarm
Overview
The Ultra Long Standby WiFi Security Camera, it is built with high tech of super low power consumption 450µA/hour to save energy for around 1 year standby after being fully charged. First, it can be used for watching live streaming video day and night (night vision around 5 meters), or taking photo and video by APP in smart-phone remotely after WiFi connected; Second, its PIR sensor will make precisely motion detect recording for surveillance use (around 5 meters distance and 2 meters height) . Also, it has cycle recording and work when charging.
Usages: Nanny camera, Home/ Shop/ Office/ Warehouse surveillance
In the box
- 1 x Camera Unit
- 1 x Micro SD Card Reader
- 1 x USB Cable
- 1 x User Manual
Wi-Fi Camera Connection Setting
Step1: CamSCAPP
- Scan below QR code or search and download free APP named <CamSC> in Apple APP store, Google play or Electronic market, and install it;

- Open APP CamSC, select current region at the top right corner. Register with email, or third-party account like Facebook or IOS account. (Tips: If a code doesn’t arrive, please check the spam folder first.)

- Connect WiFi
- Press Reset key 4 seconds till a beep sound(WiFi indicator blink slowly and ready for pairing WiFi);
- Open APP CamSC »Click+» Smart Home» Device in pairing mode >> CAM-xxxxxx.

- Click > at the end of WiFi to select the local router WiFi, then input password. Click NEXT and wait around 10 seconds to finish the configuring; Device Binding Successful and online now.

- Click @) in APP’S first interface, select Time Zone and choose Time Zone to ensure live streaming video with the set time zone.

Camera Normal Status
- Camera always in standby mode;
- Once motion detected, it will push a notification to phone, do a snapshoot and record a 15 seconds video clip into memory card;
- Sleep and alert after 1 minute once motion detected again.
Set name: Press the @ after the camera, select Device Name –> Input needed name like Office, Living room etc …

APP Introduction


FAQ
- Is device with offline and low power notification?
Yes. - What does the device do when WiFi off?
Keep searching WiFi signal 3mins, 10mins, 1 hour, 2 hours, 5hours,24hours later; If WiFi on, it will be connected to WiFi automatically. - If the steps in Page 9 can’t move forward (Bluetooth Pairing Mode)?
Delete the App and Download again to test,and agree all permissions (Allow notification, Bluetooth and location).
Specification
| Resolution 2 Mega CMOS Video pixel 1920’1080 Compressed format H.264 |
| VTyiepwe angle 145 Degree of memory card TF card>=Class 4/10 and HC marked Maximum capacity of memory card 64GB MCoombipleatpibhloene operation system Android/iOS |
| Two way router 2.4G and Mobile hotspot PIR alarmtalkcitnugres in server Y15edsays SBtaattnedrybycpaopwaceirtyconsumption 520×0µ2A600mAh Power consumption 350mAh |
| RSPoewcnoerbdcionngisumption with nightvision 161m0minAuthe/ayreoaurnd 24MB Cthaardginygt tmimee Around 12 hours |
| 5V/2A |
| Power adapter (not include but needed) |























