Installation Guide for
JAB3 & JAB2 Connection

What is JAB3?
JAB3 are audio amplifier boards integrated with ADAU1701 DSP, covering four models as stereo 50W, stereo 30W, mono 100W, and mono 60W. Four potentiometers are pre-mounted on JAB3 for easy control of the audio system, through which, customers can adjust volume, high-pass filter, and gain. Please refer to the datasheet for detailed information.
In addition, with a connection with stereo or mono JAB2, customers can get an audio 4.0/2.1 system integrated with both DSP and Bluetooth.
It is recommended to use MONO JAB3 as 0.1 when building an audio 2.1 system.
Thanks to equipped DSP, JAB3 is suitable for active loudspeakers to achieve digital 3 way 3 unit, 2 way 2 unit crossover, and bass enhancement, applicable to the studio.
This document aims to provide a connection guide for JAB3 and JAB2 by taking the example of building an audio 2.1 system.
The steps for the audio 4.0 system are the same.
Connection Steps
Brief Introduction

Step 1: Connect JAB3 & JAB2
Audio connection
Control connection
Step 2: Audio input
JAB2 BT / 3.5mm AUX-IN / Interface board
JAB3 3.5mm AUX-IN
Step 3: Audio output
Speaker
Step 4: External LED and control
External LED
Control ports
Step 5: Power supply
Power Adapter
Battery board
Connect JAB3 & JAB2
Audio and control connection

Audio connection: connect J5 of JAB3 and J11 of JAB2 with a 6pin cable*;
Control connection: connect J12 of JAB3 and J9 of JAB2 with a 3pin cable*;
*Note
- When JAB2 is used separately, for normal playback, two jumpers are required if the external volume potentiometer is not connected.
- When JAB3 is used separately, J12 is for the control cable.
Please do not short circuit ‘MUTE’ and ‘GND’ under any circumstance. - When JAB3 is connected with JAB2, J5 of JAB2 is used as a control port for the audio system.
- Sure Electronics provides matched Functional Cables Kit for JAB3 and JAB2 connection for customers’ easy operation.
Audio Input
Bluetooth Input/AUX-IN

This audio system supports Bluetooth or AUX input.
If customers want AUX IN, there are two ways:
- 3.5mm AUX-IN
Connect 5pin AUX-IN cable to J6 of JAB3/ JAB2
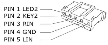
Extension Connector:
J6 PH-10PIN-2MMPin Definition 1 VCC 2 VCC 3 GND 4 LED1 5 KEY1 6 LIN 7 GND 8 RIN 9 KEY2 10 LED2 - AUX-IN port of Interface board Connect Interface board to J6 of JAB2 with a 10pin cable.
Note: Interface board can only be connected with JAB2.
Audio Output

The speaker of the audio 2.1 system is shown right.
Stereo: Take speaker output of JAB2 as stereo;
Subwoofer: Take speaker output of JAB3 as subwoofer;
Headphone Output: Take J3 of JAB3 as a headphone output.
External LED and Contro

- External Bluetooth LED: J7 of JAB2
- External Charge LED: J8 of JAB2
- External Power LED: Pin 3,4 of J6 of JAB2
- External Bluetooth Control: J18 of JAB2, long press to turn on/off BT, short press to cancel paring
- External Shutdown Control: J5 of JAB2, short circuit ‘EN’ and ‘GND’ to shutdown audio system
Power Supply
Power adapter

- Separate power: JAB3 and JAB2 can be powered by separate power adapters;
- Power by one power adapter: It is recommended to use one power adapter to power JAB3 and JAB2 and the connection is as follows.

Power Supply
Power by Sure Electronics Battery board (AA-JA11113)

Sure Electronics Battery Balance and Protection Board provides multiple discharging ports with the same function. Customers can use AA-JA11113 to power JAB3 and JAB2 simultaneously. The connection is shown left.
Note:
- The charging circuit is equipped in JAB2 instead of AA-JA1113. If customers want to charge batteries with AA-JA11113, JAB2 is requisite. Please connect the power adapter and battery board to JAB2 at the same time to charge the batteries.
- Two or more pcs battery balance and protection boards can be connected in parallel for higher capacity, while the output voltage will not increase.
Functions of Potentiometers
Potentiometers of JAB3
| Functions of potentiometers based on specific applications | |||||
| Port | Function | JAB3S | JAB3M | JAB3S+ JAB2 | JAB3M+ JAB2 |
| POT]. | CH2 Gain | Gain of 3.5mm Headphone Output | Gain of 3.5mm Headphone Output | Gain of Stereo of JAB2 | Gain of Stereo of JAB2 |
| POT2 | CH2 HPF | High-pass Filter of 3.5mm Headphone Output | High-pass Filter of 3.5mm Headphone Output | High-pass Filter of Stereo of JAB2 | High-pass Filter of Stereo of JAB2 |
| POT3 | CH1 HPF or BPF | High-pass Filter of Speaker Output | Band-pass Filter of Speaker Output | High-pass Filter of Speaker Output of JAB3 | Band-pass Filter of Speaker Output of JAB3 |
| POT4 | CH1 & CH2 Volume | The volume of Speaker & 3.5mm Volume of Speaker & 3.5mm Headphone Headphone Output Output | Overall Volume of JAB3 & JAB2 | Overall Volume of JAB3 & JAB2 | |
Note:
- The speaker output (J10) of the board with potentiometers is defined as CH1; 3.5mm headphone output (J3) or other integrated circuit output of the board with potentiometers is defined as CH2.
- JAB3S refers to JAB3 in stereo mode, namely 2 x 50 Watt Class D Audio Amplifier Board w DSP – JAB3 (AA-JA32172) or 2 x 30 Watt Class D Audio Amplifier Board w DSP – JAB3 (AA- JA32473); JAB3M refers to JAB3 in mono mode, namely 1 x 100 Watt Class D Audio Amplifier Board w DSP – JAB3 (AA-JA31181) or 1 x 60 Watt Class D Audio Amplifier Board w DSP – JAB3 (AA-JA31211).
- HPF refers to High-pass Filter; BPF refers to Band-pass Filter.
When CH1 is stereo output, the function of POT3 is HPF; when CH1 is mono output, the function of POT3 is BPF. - Four applications are exampled in this datasheet. For the functions of potentiometers when used in other applications, please contact us at [email protected].
| Function | Range of Frequency |
| High-pass Filter (Stereo Mode) High-pass Filter (Mono Mode) | 0Hz- 2kHz 250Hz- 2kHz |
| Band-pass Filter | 60HZ-120Hz (High-pass) 200Hz-400Hz (Low-pass) |
Adjustable Frequency Range of High-Pass Filter (Mono Mode)![]() | Adjustable Frequency Range of Band-pass Filter![]() Adjustable Range of lower Frequency of Band-pass Filter |
Sure Electronics Co., Ltd.
Professional Audio Solution Provider
3F, Building F6, No. 9, Weidi Road, Xianlin, Qixia Dist., Nanjing, China
Tel: +86-025-85260046
Web: store.sure-electronics.com
Email: [email protected]
Skype: sure electronics

https://u.wechat.com/MAEjkyNFOyPeKQ4f0YK5IW8
http://www.wondom.com
https://www.youtube.com/channel/UCNnntLA6R9HHi3px3d-f71A?view_as=subscriber
http://store.sure-electronics.com/
Copyright© 2020 Sure Electronics Co., Ltd.























