omega OO6A1X Pyrolytic Oven Instruction

SAFETY INSTRUCTIONS
- Do not disassemble any parts prior to having disconnected the oven from the mains.
- Do not use the appliance if any part is broken (for example a glass).
- Disconnect it from the mains and call service.
- Before using the oven, it is recommended to make it operate at no load at the maximum temperature for an hour to eliminate the insulating material odor.
- In all models, leave the door closed when the grill is used.
- The cooling fan may remain in operation so long as the oven is hot, even after it has been switched off.
- During use the appliance becomes very hot; don’t touch the heating elements inside the oven.
- During the oven operation, the front is heated as well; consequently keep children clear of the oven, especially during self-cleaning.
- Parents and adults should pay particular attention when using the product in presence of children.
- Children should be supervised to ensure that they don’t play with the appliance.
- This appliance is not intended for use by persons (included children) with reduced physical sensory or mental capabilities, or lack of experience and knowledge, unless they have been given supervision or instruction concerning use of the appliance by a person responsible for their safety.
- In order to avoid damage to the oven enamel coat; do not cover the oven muffle sole with any item (e.g. aluminum foil, pans and the likes).
INSTALLATION OF THE OVEN
To install the oven into the kitchen a cutout should be made in accordance with the dimensions shown in Fig. 1.
The apparatus is to be fastened to the top by means of the two screws provided in the kit through the holes made on the oven uprights.
The cabinet in which the apparatus is installed shall be open on the back side to ensure a sufficient air circulation and prevent overheating.
Leave a gap of at least 200 cm2 (see Fig. 1) for air circulation if the oven is installed in a column; this is not necessary if the oven is installed under the work top.
WARNING
As the apparatus is to be fitted in your kitchen furniture, make sure that all surfaces in contact with the oven can resist a temperature of approx. 90°C.
Electricals – Absorbed power:
- Oven top element:…………………………………………………………. 2000+1000 W
- Oven bottom element: …………………………………………………… 1200+400 W
- Round element (hot air): ………………………………………………… 2300 W (on some models)
- roasting jack motor: ……………………………………………………… 4 W (on some models)
- lamp: …………………………………………………………………………… 25 W
- Hot air fan motor:……………………………………………………………. 25 W
- Cooling fan motor:…………………………………………………………… 25 W
- Maximum absorbed power: (see data plate).
- Supply voltage: (see data plate).

| Appliances | A | B | C | D | E | F | G | H |
| Single oven | 56 | 55 | 58,5 | 59,5 | Min 1,3 | 58,9 | 59,5 | 86,5 |
Connection to the electrical power mains
WARNING
This apparatus must be earthed.
The oven is only for domestic use.
The feed voltage and the absorbed power are as indicated on the data plate attached to the left-hand side upright, which can be seen when the oven door is open.
Connecting must be carried out by qualified personnel and in accordance with the regulations currently in force.
The manufacturer cannot be held responsible for any damages to persons or objects caused by failure to observe these instructions.
If the supply cord is damaged, it must be replaced by the manufacturer, its service agent or similarly qualified persons in order to avoid a hazard.
The oven must be connected to the mains through a multipole circuit breaker with a contact-to-contact gap of at least 3 mm, making sure that the earth wire is not disconnected. For connecting use a flexible cable of the H05V2V2-F 3×1,5 mm2 type remembering to make it long enough to allow the oven to be removed from its housing unit when maintenance work is required.
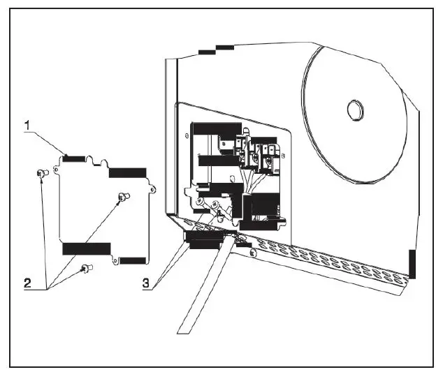
To connect the cable to the oven
proceed as follows (see Fig. 2):
- Remove the lid (1) by unfastening the three screws (2). Unfasten the two screws (3) for the cable holder and feed the cable through the opening immediately below the cover.
- Remove about 12 cm of the outside insulation from the cable and shorten the two active wires (live and neutral) to 6 cm, leaving long the one to be connected to the main earth terminal on the terminal box; remove about 1 cm of the main insulation from the three wires and connect them correctly to the terminal box, remembering to respect the polarities.
- Tighten the two screws (3) of the cable holder and put the lid (1) back on with the three screws (2).
WARNING:
If the electrical supply is restricted, means of all-pole disconnection must be accessible and incorporated in the fixed wiring in accordance with the wiring rules.
INSTRUCTIONS FOR USE
Oven Racks
WARNING
Never use aluminum foil to cover the oven racks or to line the oven. It can cause damage to the oven liner if heat is trapped under the foil.
WARNING
Make sure you do not force it to avoid damage to the enamel. The oven has rack guides at four levels. Rack positions are numbered from the bottom rack guide (#1) to the top (#4). Check cooking charts for best rack positions to use when cooking.
Each level guide consists of paired Fig. 3
supports formed in the walls on each side of the oven cavity. Always be sure to position the oven racks before turning on the oven. Make sure that the racks are level once they are in position. The racks are designed to stop when pulled forward to their limit.
To remove oven rack from the oven (see Fig. 4):
- Pull rack forward.
- Lift rack up at front and then remove it.

To replace an oven rack (see Fig. 5):
- Place rear of the rack between rack-level guides.
- While lifting the front of rack, slide rack in all the way while lowering the front.

Cooking functions
Each type of oven is provided for various cooking systems. A system can be selected by bringing the pointer of knob to the relating symbol. The Fig. 8 shows the controls available on the different oven models. 

Electronic control
Control panel description (“EXTRA SMALL”)
The oven control panel is made with one display and two knobs.
- Time & Temperature display.
- Time & Temperature knob (Push & Shuttle).
- Mode (oven functions) knob.

Fig. 8
The push & shuttle knob is mainly for clock or temperature setting and automatic time functions programming. Select the desired item by pushing the knob.
Power-up
At every power-up, in pyrolytic ovens, the latch mechanism runs an automatic self-test: the oven door locks and unlocks. This operation takes about half a minute. The lock led turns on and flash while the action is in progress, it remains steadily displayed when the door is fully locked, it’s off when the door has been unlocked.
Do not try to open the door until the lock led disappears.
Programming time functions
At every power-up, the control shows the time of day blinking, set at 12:00 as the initial value. The time increases every minute. The only possible action is the “Clock Regulation”, all other oven operations are inhibited.
In general, turn the Temp/Time selector left or right in order to edit the values and modify them by steps; hold the knob on the left or right to fasten the decrease/increase operations.
Setting the time of day
The time of day is always displayed in the 24 hours format. Hours and minutes are set separately. In order to set the time of day, mode selector must be in ZERO position, the -/+ knob acts on the time of day by default.
- Turn the selector left/right, the hours flash.
- Modify the flashing hours value turning the selector left/right.
- Push the Temp&Time selector to switch back and forth between hours and minutes.
- Modify the flashing minutes turning left/right.
- After a few seconds the whole time of day value starts flashing: wait until the new time of day is steady.

Fig. 9a
Push the knob to toggle between the time of day and the minute minder and check the
set values. The clock is selected by default while the symbol appears when the minute minder is displayed.
Setting the minute minder
When the symbol is displayed, turn the knob left/right in order to set the timer value. The standard value is 30 minutes, it’s possible to modify it in the range between 0 and 240 minutes.
This timer has no influence on the oven activities and can be set also when the oven is off. The time of day is displayed with priority in any case, the symbol shows the minute minder is active.
When the time expires, the symbol flashes and the buzzer sounds a warning sequence (two short beeps repeated every 3 seconds) to recall the user attention. Push the knob to stop it.
The buzzer stops in any case after a time-out.
Setting an oven function manually
Turn the mode knob into the desired position, the clock display shows On for a few seconds. The oven will work for a maximum time (12hours). Depending on the oven model, the number and type of available functions can be different.
If the selected function works using any heating elements, the symbol is displayed (it doesn’t appear in light and defrost position).
Turn the Temp & Time selector and set the desired oven temperature. The control offers a PRESET temperature per every cooking mode or a full range between MIN and MAX to be adjusted by hand. Check the value on the display after having selected the temperature.
The temperature appears on the clock display for about 5 seconds when the Time & Temp selector is pushed or when a new function has just been selected.
As soon as the oven starts, the preheat led (indicated by the bars) on the left side of the clock display starts flashing and becomes steadily on when the preheat ends.
Turn the mode selector to ZERO (OFF) position to stop any activity, the display will show OFF for a few seconds.
Setting an automatic oven function
After having selected a function as described before, the control can be programmed in order to set timed cooking activities. The time program remains active even if the function is changed (exception: pyrolyse). The following possibilities are available:
- Timed cooking setting the cooking time (duration).
- Timed cookitng setting the end of cooking time (stop time). 3 Delayed cooking setting duration and stop time.
Push the knob in order to toggle between cooking duration (cook time) and end of cooking time (stop time): the words “dur” or “End” are displayed respectively.
Turn the knob left/right to edit the duration or the stop time when the proper word is displayed:
- When the word dur is displayed, the control shows 30’ as the standard cooking duration. Turn the knob left/right in order to set the actually desired cooking time in a range between 0 and 240 minutes. The display will flash dur and its value alternatively for a few seconds then it will show the time of day, the pot symbol and the letter to indicate that a timed cooking is active. The end of cooking time is updated automatically.
- When the word End is displayed, the control shows the current time as the initial stop time. In order to set the actually desired end of cooking time in a 24 hours range:
- Turn the knob left/right, the hours flash.
- Modify the flashing hours value turning the knob left/right.
- Push the knob to switch back and forth between hours and minutes or wait a few seconds until the minutes flash.
- Modify the flashing minutes value the knob left/right.
- Wait until the new End of Cooking time value stops flashing.
- The display will flash End and its value alternatively for a few seconds then it will show the time of day, the symbol and the letter to indicate that a timed cooking is active. The cooking duration is updated automatically.
Repeat the same operations of point 1 then push the knob until End appears. the control shows the “current time + cooking time” as the initial stop time. It’s not possible to lower the end of cooking time below this value. In order to set the actually desired end of cooki - Turn the knob left/right, the hours flas
- Modify the flashing hours value turning the knob left/righ
- Push the knob to switch back and forth between hours and minutes or wait a few seconds until the minutes flash.
- Modify the flashing minutes value turning the knob left/right.
- Wait until the new End of Cooking time value stops flashing.
The display will flash End and its value alternatively for a few seconds then it will show the time of day and the letter to indicate that a delayed cooking has been programmed. As soon as the delay time expires, the oven starts and works for the programmed cooking time. The symbol is displayed.
At the end of any timed activity the control shuts down the oven, the buzzer sounds a warning sequence (two short beeps repeated every 3 seconds) to recall the user attention, for a maximum time and makes the time related icons ( , ) flash on the display. Push the knob to silent the buzzer and reset the warning message.
Turn the mode selector to ZERO (OFF) position before reusing the oven.
Oven functions
The control can manage many cooking functions, here below described, their number and availability depends on the oven model. The temperature range is between 50°C and 250°C for most functions. Preset temperatures are mainly 190°C for convection modes, 210°C for thermal modes and 230°C for grilling functions.
Exceptions are Eco-Bake (preset=190°C), Pyrolyse (fixed 475°C), and low temperature modes (Light, Defrost, Keep Warm).
Eco-Bake
This function is defined in order to obtain a consistent energy saving. The cooling fan is initially off and turns on only when the inner parts temperature gets high. Cooking might be a little bit slower than the standard Bake, especially when the oven is heavily loaded.
Defrost
This function is used to defrost frozen food in a short time. It doesn’t heat up the oven, only the convection fan works. The temperature display shows dEF to indicate that this special mode is active.
Pyrolyse (Self-Clean)
Turn the mode knob in the proper position to start a cleaning cycle. The temperature display show the writing 475°.
The clean time can be set according to the same rules of the automatic functions, and therefore the pyrolitic cycle can be delayed.
The maximum allowed clean time is 3 hours, the minimum 1 hour. The standard time is 1h:30min, the clock display shows P1:30. At the end of the self-cleaning activity the display shows P— steady and flashing. The writings on the display disappear when the mode selector is placed in the ZERO position. The door remains locked until the oven temperature drops below the safety threshold, at this time the control unlocks the door.
The cooling fan starts as soon as the function is selected and turns to its higher speed when the inner parts get hot. The oven temperature is automatically set to 475°C in order to perfectly clean the cavity. 
Fig. 9c
The control also locks immediately the door in order to guarantee the user safety, given that the temperature inside gets very hot. A lock led (yellow) beside the temperature display shows the status of the latch mechanism at any time:
- The door is unlocked, lock is led off.
- The door locked, the lock led always on.
- Latch moving, transition in progress, lock led flashing.
To reuse the oven after a pyrolyze, turn the mode selector to the ZERO (OFF) position.
Door lock for children safety (pyro)
This is an additional safety functions available only in pyrolityc ovens. The door latch mechanism that is managed automatically during pyrolyse can be actuated manually by the user in order to lock the oven door and prevent children from having free access to the oven.
Hold the Time&Temp knob for about 3 seconds to lock/unlock the door manually.
Commands lock for children safety (non pyro)
This is an additional safety functions available only in non pyrolityc ovens. Hold the Time&Temp knob for about 3 seconds to lock the control panel commands and prevent children from turning on the oven freely. Both knobs are disabled.
Buzzer volume
The buzzer volume can be set turning the Time&Temp knob left/right when the control is in light mode. At any detents the buzzer sounds a double beep, selecting the volume out of three available levels. The buzzer must always be silent between 22:00 and 8:00.
Failure declarations and error codes
The control is continuously checking the status of the system. If an abnormal condition is detected for more than 1 minute, a failure occurs:
- The heaters and the other loads are disabled.
- The display shows a “E” letter followed by a numeric code that depends on the kind of failure.
- The control emits an acoustic warning signal.
To reset a failure declaration, first remove the cause of the failure then turn the selector to (ZERO) OFF.
Error code table.
| Error | Description |
| E1 | Temperature sensor broken. |
| E2 | Temperature sensor shorted. |
| E4 | Temperature sensor circuit failure. |
| E8 | Latch time-out overflow. |
| E16 | Free. |
| E32 | Free. |
| E64 | Mode selector disconnected. Cannot be reset. |
| OTHER | Sum of error codes simultaneously detected. |
Cooking mode table with preset, minimum, maximum temperatures (°C) and nominal power (Watt)
| N° | MODE | PRESET(°C) | TMIN(°C) | TMAX(°C) | HEATING ELEMENTS (W) | NAME |
| 0 | 0 | ZERO | ||||
| 1 | ## | ## | ## | LIGHT | ||
| 2 | 80 | 50 | 100 | 400 | KEEP WARM | |
| 3 | 210 | 50 | 250 | 2200 | BAKE | |
| 4 | 190 | 50 | 250 | 2200 | ECO-BAKE | |
| 5 | 210 | 50 | 250 | 1200 | LOWER BAKE | |
| 6 | ## | ## | ## | DEFROST | ||
| 7 | 190 | 50 | 250 | 1200 | LOWER CONVECTION BAKE | |
| 8 | 190 | 50 | 250 | 2200 | CONVECTION ROAST | |
| 9 | 190 | 50 | 250 | 2300 | CONVECTION BAKE | |
| 10 | 230 | 50 | 250 | 2000 | CONVECTION GRILL | |
| 11 | 230 | 50 | 250 | 2000 | GRILL | |
| 12 | 230 | 50 | 250 | 2000 | GRILL + TURNSPIT | |
| 13 | 230 | 50 | 250 | 3000 | SUPER GRILL | |
| 14 | 475 | 2400 | PYRO (THERMAL) | |||
| 15 | 475 | 2400 | PYRO | |||
DOOR LOCKING SYSTEM
Automatic door locking during pyrolytic cycle
For safety reasons, the door is locked automatically as soon as self-clean mode is selected (both standard, both eco clean). The door is also unlocked automatically when the clean time has expired but only after the temperature has fallen below the safety threshold.
NOTE|
It is not possible to exclude the door locking device during self- cleaning i.e. manually unlock the door since the self-cleaning mode has the highest priority and overrides all other selections.
The lock symbol on the display is:
- ON When the door is fully locked
- OFF When the door is fully unlocked
- FLASHING When the latch mechanism is moving. (After self clean the sym bol will flash until the temperature will be safe and the door unlocked).
- Oven lights
They turn on during all cooking activities but they are always disabled in self-clean.
CLEANING AND MAINTENANCE
Prior to taking any action for cleaning, make sure the apparatus is cut-out from the mains. It is recommended that the oven interior be frequently cleaned. In particular, it should be cleaned every time the grill is used to prevent excessive fouling of the oven interior that may generate fumes or odours during subsequent cooking. Abrasive detergents and steam cleaning equipment should not be used for cleaning.
WARNING
Do not use harsh abrasive cleaners or sharp metal scrapers to clean the oven door glass since they can scratch the surface, which may result in shattering of the glass.
Ovens provided with the hot air system are less subject to dirt inside.
Self-cleaning cycle (pyrolytic cycles)
Although it is not necessary to perform the cleaning operation each time the oven has been used, do not let the oven get too dirty.
Before performing self-cleaning, take out all accessories (grills, dishes, pans) to avoid damaging them, remove large cooking residues and then close the door,
ensuring that it is closed properly.
NOTE
Usually self-cleaning requires 2.30 to 3 hours according to the amount of residue to be removed.
WARNING
Ensure that the door is in the closed position before the self-cleaning cycle starts, otherwise automatic door locking will not be completed. See paragraphs that follow.
When the cycle is finished and the oven has COOLED COMPLETELY, remove the burned-off residues of the self-cleaning cycle with a damp cloth.
Oven door removal
WARNING
Make sure that:
- The oven is cool and power to the oven has been turned off before r emoving the door. Failure to do so could r esult in electrical shock or burns.
- The oven door is heavy and fragile. Use both hands to remove the oven door. The door front is glass. Handle care-fully to avoid breakage.
- Grasp only th e sides of the oven door . Do not grasp th e handle as it may swing in your hand and cause damage or injury.
- Failure to grasp th e oven d oor fi rml y and properly could result in personal injury or product damage.
To remove the oven door (see Fig. 10):
- Open the door completely.
- Lift up the hinge bracket (1) into the slot (2).
- Hold the door firmly on both sides using both hands and close the door.
- Hold firmly; the door is heavy.
- Place the door in a convenient location.
To replace the oven door (see Fig. 10):
1 Insert the upper arms (3) of both hinges into the upper slots (6) and the
lower arms (4) into the lower slots (7). The recesses (5) must hook on the lips (8). 2 Move the hinge brackets (1) back down into position.
3 Close and open the door slowly to assure that it is correctly and securely in place.
Replacement of the oven light
WARNING
Make sure that:
- The oven and lights are cool and power to the oven has been turned off before replacing the light bulb(s). Failure to do so could result in electrical shock or burns.
- The lenses must be in place when using the oven.
- The lenses serve to protect the light bulb from breaking.
- The lenses are made of glass. Handle carefully to avoid breakage. Broken glass could cause an injury.

Fig. 11
- Turn off power at the main power supply (fuse or breaker box).
- Remove the lens (1) by unscrewing it.
- Remove the light bulb (2) from its socket (3).
- Replace the bulb (2) with a new one. Avoid touching the bulb with fingers, as oils from hands can damage the bulb when it becomes hot.
- Use one with the same Volt and Watt (see Fig. 11).
- Screw the lens (1) back on.
- Turn power back on at the main power supply (fuse or breaker box).
GUIDANCE TEMPERATURE AN TIME SCHEDULE FOR COOKING
| FOOD | Mode | Rack position (from the bottom) | Traditional cooking system | Hot-air cooking system | ||
| Temperature °C | Cooking time in minutes | Temperature °C | Cooking time in minutes | |||
| Poork,calf (roast) etc. | 2nd | 200 ÷ 225 | 100 ÷ 150 | 175 ÷ 180 | 90 ÷ 120 | |
| Filett, Roastbeef | 2nd | 240 ÷ 250 | 40 ÷ 50 | 210 ÷ 225 | 20 ÷ 30 | |
| Poultry (goose, duck, turkey, chicken) whole (4) | 1st | 190 ÷ 240 | 150 ÷ 180 | 180 ÷ 225 | 60 ÷ 75 | |
| Chicken | 2nd | 225 ÷ 250 | 30 ÷ 45 | 210 ÷ 225 | 45 ÷ 60 | |
| Hamburger,Chops of Lamb, Chicken thighs |
| 3th | 200 ÷ 220 | 10 ÷ 20 for each side | 180 ÷ 190 | 10 ÷ 15 for each side |
| Game (4) | 1st | 210 ÷ 230 | 80 ÷ 100 | 250 | 45 ÷ 60 | |
| Fish | 1st | 180 ÷ 190 | 35 ÷ 45 | 175 ÷ 180 | 35 ÷ 45 | |
| Cakes | 1st | 170 ÷ 200 | 40÷ 80 | 150 ÷ 170 | 35 ÷ 70 | |
| Biscuits | 2nd | 225 | 10 ÷ 20 | 170 ÷ 180 | 10 ÷ 15 | |
| Pizza | 2nd | 210 ÷ 240 | 15÷ 20 | 200 ÷ 210 | 10 ÷ 12 | |
| Pizza Multilevel | 2nd & 3th or 2nd & 4th | 200 ÷ 210 | 15 ÷ 20 | |||
Warning for hot-air cooking – Position of pans:
- For cooking on 1 plane make use on 2nd holder from the bottom
- For cooking on 2 planes make use of 2nd – 4th holders from the bottom
- For cooking on 3 planes make use of 2nd – 3th and 4th holders from the bottom
- (4) The time depends of poultry dimension, (40 ÷ 45 mins for kg).
IMPORTANT: The cooking times are considered with oven preheated.























