SYLVANIA SKCR2713 Under Counter CD Player

Warnings and Precautions
TO PREVENT FIRE OR SHOCK HAZARDS, DO NOT EXPOSE THIS UNIT TO RAIN OR MOISTURE.
This symbol, located on the back or bottom of the unit, is intended to alert the user to the presence of uninsulated “dangerous voltage” within the product’s enclosure that may be of sufficient magnitude to constitute a risk of electric shock to persons.
This symbol, located on the back or bottom of the unit, is intended to alert the user to the presence of important operating and maintenance (servicing) instructions in the literature accompanying the appliance.
This product utilizes a Class 1 laser to read Compact Discs. This laser Compact Disc Player is equipped with safety switches to avoid exposure when the CD door is open and the safety interlocks are defeated. Invisible laser radiation is present when the CD Player’s lid is open and the system’s interlock has failed or been defeated. It is very important that you avoid direct exposure to the laser beam at all times. Please do not attempt to defeat or bypass the safety switches.
CAUTION: TO PREVENT ELECTRIC SHOCK, MATCH THE WIDE BLADE OF THE PLUG TO THE WIDE SLOT, AND FULLY INSERT.
To reduce the risk of electric shock, do not remove the cover (or back). There are no user-serviceable parts inside. Please refer any servicing to qualified service personnel.
WARNING: Changes or modifications to this unit not expressly approved by the party responsible for compliance could void the user’s authority to operate the equipment.
- Do not mix old and new batteries.
- Do not mix alkaline, standard (carbon-zinc), or rechargeable (ni-cad, ni-mh, etc) batteries.
NOTE: This equipment has been tested and found to comply with the limits for a Class B digital device, pursuant to Part 15 of the FCC Rules. These limits are designed to provide reasonable protection against harmful interference in a residential installation. This equipment generates, uses, and can radiate radio frequency energy and, if not installed and used in accordance with the instructions, may cause harmful interference to radio communications. However, there is no guarantee that interference will not occur in a particular installation. If this equipment does cause harmful interference to radio or television reception, which can be determined by turning the equipment off and on, the user is encouraged to try to correct the interference by one or more of the following measures:
- Reorient or relocate the receiving antenna.
- Increase the separation between the equipment and the receiver.
- Connect the equipment to an outlet on a circuit different from that to which the receiver is connected.
- Consult the dealer or an experienced radio/TV technician for help.
Important Safety Instructions
- Read Instructions – All the safety and operating instruction should be read before the product is operated.
- Retain Instructions – The safety and operating instruction should be retained for future reference.
- Heed Warnings – All warnings on the product and in the operating instructions should be adhered to.
- Follow instructions – All operating and use instructions should be followed.
- Cleaning – Unplug this product from the wall outlet before cleaning. Do not use liquid cleaners or aerosol cleaners. Clean only with a dry cloth.
- Attachments – Do not use attachments not recommended by the product manufacturer as they may cause hazards.
- Water and Moisture – Do not use this product near water – for example, near a bathtub, wash bowl, kitchen sink, or laundry tub; in a wet basement, or near a swimming pool, and the like. The apparatus shall not be exposed to dripping or splashing and no objects filled with liquids, such as vases, shall be placed on the apparatus.
- Accessories – Do not place this product on an unstable cart, stand tripod, bracket, or table. The product may fall, causing serious injury to a child or adult, and serious damage to the product. Use only with a cart, stand, tripod, bracket, or table recommended by the manufacturer, or sold with the product. Any mounting of the product should follow the manufacturer’s instructions and should use a mounting accessory recommended by the manufacturer.
- A product and cart combination should be moved with care. Quick stops, excessive force, and uneven surfaces may cause the appliance and cart combination to overturn.
- Ventilation – Slots and openings in the cabinet are provided for ventilation and to ensure the reliable operation of the product and to protect it from overheating, and these openings must not be blocked or covered. The openings should never be blocked by placing the product on a bed, sofa, rug, or other similar surface. This product should not be placed in a built-in installation such as a bookcase or rack unless proper ventilation is provided or the manufacturer’s instructions have been adhered to.
- Power Sources – This product should be operated only from the type of power source indicated on the marking label. If you are not sure of the type of power supply to your home, consult your product dealer or local power company. For products intended to operate from battery power, or other sources, refer to the operating instruction.
- Grounding or Polarization – This product may be equipped with a polarized alternating-current line plug (a plug having one blade wider than the other). This plug will fit into the power outlet only one way. This is a safety feature. If you are unable to insert the plug fully into the outlet, try reversing the plug. If the plug should still fail to fit, contact your electrician to replace your obsolete outlet. Do not defeat the safety purpose of the polarized plug.
- Alternate Warnings – This product is equipped with a three-wire grounding-type plug, a plug having a third (grounding) pin. This plug will only fit into a grounding-type power outlet. This is a safety feature. If you are unable to insert the plug into the outlet, contact your electrician to replace your obsolete outlet. Do not defeat the safety purpose of the grounding-type plug.
- Power-Cord Protection – Power supply cords should be routed so that they are not likely to be walked on or pinched by items placed upon or against them, paying particular attention to cords at plugs, convenience receptacles, and points where they exit from the product.
- Protective Attachment Plug – The product is equipped with an attachment plug having overload protection. This is a safety feature. See Instruction Manual for replacement or resetting of protective device. If replacement of the plug is required, be sure the service technician has used a replacement plug specified by the manufacturer that has the same overload protection as the original plug.

- Outdoor Antenna Grounding – If an outside antenna is connected to the receiver, be sure the antenna system is grounded so as to provide some protection against voltage surges and built-up static charges. Article 810 of the National Electrical Code, ANSI/NFPA 70, provides information with regard to proper grounding of the mast and supporting structure, grounding of the mast and supporting structure, grounding of the lead-in wire to an antenna-discharge unit, size of grounding conductors, location of the antenna-discharge unit, connection to grounding electrodes, and requirements for the grounding electrode.
- Lightning – For added protection for this product during a lightning storm, or when it is left unattended and unused for long periods of time, unplug it from the wall outlet and disconnect the antenna or cable system. This will prevent damage to the product due to lightning and power-line surges.
- Power Lines – An outside antenna system should not be located in the vicinity of overhead power lines or other electric light or power circuits, or where it can fall into such power lines or circuits. When installing an outside antenna system, extreme care should be taken to keep from touching such power lines or circuits as contact with them might be fatal.
- Overloading – Do not overload wall outlets, extension cords, or integral convenience receptacles as this can result in a risk of fire or electric shock.
- Object and Liquid Entry – Never push objects of any kind into this product through openings as they may touch dangerous voltage points or short-out parts that could result in a fire or electric shock. Never spill liquid of any kind on the product.
- Servicing – Do not attempt to service this product yourself as opening or removing covers may expose you to dangerous voltage or other hazards. Refer all servicing to qualified service personnel.
- Damage Requiring Service – Unplug this product from the wall outlet and refer servicing to qualified service personnel under the following conditions:
- a) When the power-supply cord or plug is damaged,
- b) If liquid has been spilled, or objects have fallen into the product,
- c) If the product has been exposed to rain or water,
- d) If the product does not operate normally by following the operating instructions. Adjust only those controls that are covered by the operating instructions as an improper adjustment of other controls may result in damage and will often require extensive work by a qualified technician to restore the product to its normal operation.
- e) If the product has been dropped or damaged in any way, and
- f) When the product exhibits a distinct change in performance – this indicates a need for service.
- Replacement Parts – When replacement parts are required, be sure the service technician has used replacement parts specified by the manufacturer or have the same characteristics as the original part. Unauthorized substitutions may result in fire, electric shock, or other hazards.
- Safety Check – Upon completion of any service or repairs to this product, ask the service technician to perform safety checks
to determine that the product is in proper operating condition. - Wall or Ceiling Mounting – The product should be mounted to a wall or ceiling only as recommended by the manufacturer.
- Heat – The product should be situated away from heat sources such as radiators, heat registers, stoves, or other products (including amplifiers) that produce heat. Battery shall not be exposed to excessive heat such as sunshine, fire, or the like.
- The main plug is used as a disconnect device and it should remain readily operable during intended use. In order to disconnect the apparatus from the mains completely, the mains plug should be disconnected from the mains socket outlet completely.
- Excessive sound pressure from earphones and headphones can cause hearing loss.
LOCATION OF CONTROLS

- Mounting Peg (x4)
- Random/Memory Preset up button
- Source button
- Power button
- Timer button
- Repeat/Memory Preset down button
- Program/Clock set/Memory button
- Display Mode button
- Display
- Play/Pause
button - Stop
/Pair Bluetooth button - Skip/Tune Backward
button - Volume – button
- Open/Close the CD tray
- Volume + button
- Skip/Tune Forward
button - CD tray
- Aux In
- DC In
POWER SOURCE
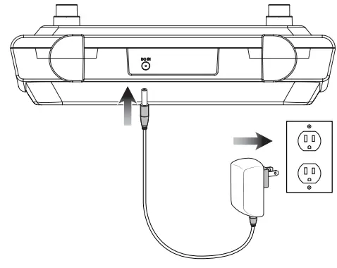
- A. AC Power
To power the unit, plug the built-in AC Power cord into a standard wall outlet.
- B. Battery Backup
Requires 2, AA-size, batteries (not included). The battery backup is intended for short power outages only. The unit’s primary functions cannot run on the battery backup alone.
- C. Remote Control
Requires one CR2025 button cell battery (included) All of the above controls are duplicated on the unit’s remote control. The procedure for replacing the remote’s CR2025 battery is also detailed on the back of the remote.
CLOCK AND TIMER
Setting the Clock
- With the power off, press and hold the Clk set/Mem button. The hour on the display will begin flashing.
- Press the Tune +/- buttons to adjust the hour.
- Press the Clk set button again to adjust the minutes. The minutes on the display will begin flashing.
- Press the Tune +/- buttons to adjust the minutes.
- Press the Clk set button to finish setting the time, or wait for the display to stop flashing.
Setting the Timer
- With the power off, press the Timer button. The display will flash.
- Press the Timer buttons to adjust the timer in increments of 10 min.
- Press the Tune +/- buttons to adjust the timer in increments of 1 min.
- Wait for the display to stop flashing.
- After the set time has expired, the under-cabinet music system will sound an alarm.
Disabling the Timer
- To cancel the alarm after it has sounded, press the Power button.
- To cancel the timer before the alarm has sounded, press the Timer button until the display reads 000 and the timer light is no longer lit.
CD
Note: This unit is not compatible with MP3 CDs.
Loading and Playing a CD
- Open the CD door.
- Place a CD into the tray, and label the side facing up.
- Close the CD door.
- Press the Source button to switch to CD mode.
- Press the Play/Pause button to begin playing the loaded CD.
- Press the Skip/Tune buttons to cycle through the tracks.
Programming a CD
- Press the Stop button to stop the CD during play.
- Press the Prog button.
- “PROG” will begin to blink on the display.
- Press the Tune +/- buttons to select a track.
- Press the Program button to save the selected track to the program.
- Repeat steps 4 and 5 to program up to 20 tracks.
RADIO
Radio Reception
An FM antenna is built into the unit. To improve FM radio reception, adjust the position of the unit.
Tuning the FM Radio
- Press the Power button to turn the under-cabinet music system on.
- Press the Source button to switch to FM Radio Mode.
- Press the Tune +/- button to tune the radio manually.
- Hold down the Tune +/- button to scan for available stations.
Saving and Playing a Station as a Preset
- Tune to the desired station.
- Press the Clk set/Mem button. A preset number will appear on the display.
- Press the M +/- buttons to adjust to the desired preset number.
- Press the Clk set/Mem button to save the current radio station to the selected preset.
- Press the M +/- buttons to cycle through preset radio stations.
BLUETOOTH AND LINE IN
Pairing a Bluetooth Device for the First Time
- Power on the unit by pressing the Power button.
- Press the Source button to switch to Bluetooth mode. The Pairing Indicator will flash slowly.
- Press the Pair button. The Pairing Indicator will flash quickly. When pairing, remain within 3 feet of the unit.
- Using the native controls on your Bluetooth device, select the SKCR2713 in your Bluetooth settings to pair.
- If your device requests a password, enter the default password 0 0 0 0.
- Refer to the user’s manual for your specific device for instructions on pairing and connecting Bluetooth devices.
- When successfully paired and connected, the Pairing Indicator will be solid.
- After the initial pairing, the unit will stay paired unless unpaired manually by the user or erased due to a reset of the device.
- If your device should become unpaired or you find it is unable to connect, repeat the above steps or press the Pair button to start the pairing process pairing again.
Playing Audio through Bluetooth
- After successfully pairing to a device, use the native controls on the connected Bluetooth Device to select a track.
- To play or pause the selected track, use the native controls on the connected Bluetooth Device, or the Play/Pause button on the unit.
- To skip forward or back on the selected track, use the native controls on the connected Bluetooth Device, or the Skip/Tune +/- buttons on the unit.
- Audio played through the connected Bluetooth device will now be heard through the speakers.
Using the Audio Input
Requires a 3.5mm audio cable (not included).
- Connect a 3.5mm audio cable to the line In Input on the side of the unit and the audio output on an audio device.
- Press the Power button to turn the unit on.
- Press the Source button to switch to line In mode.
- Use the native controls on the connected device to play your audio through the unit.
LIMITED PRODUCT WARRANTY
This quality product is warranted to be free from the manufacturer’s defects in material and workmanship, provided that the unit is used under the normal operating conditions intended by the manufacturer. Should you have any problem with this product, please and it is highly recommended to visit our website at www.curtisint.com before you take any other steps as we have additional copies of instruction manuals, operating manuals, and troubleshooting tips on our website which gives you the answer on most of the questions you could have in operating the unit.
TERMS OF WARRANTY
C.I. Service Dept. warrants this product to be free from defects in materials and workmanship for 90 days on parts and 90 days on labor. If you originally purchased your product more than 90 days ago, a repair fee may apply. Nothing within this warranty shall imply that C.I. will be responsible or liable for any damage to any items placed in this product, whether due to any defect of the product, or its use, whether proper or improper.
EXCLUSIONS
Save as herein provided, C.I. Service Dept. (Canada) or C.I. Service Dept. (USA), there are no other warranties, conditions, representations or guarantees, express or implied, made or intended by C.I. or its authorized distributors, and all other warranties, conditions, representations or guarantees, including any warranties, conditions, representations or guarantees under any Sale of Goods Act or like legislation or statue is hereby expressly excluded. Save as herein provided, C.I. Service Dept. (Canada) or C.I. Service Dept. (USA), shall not be responsible for any damages to persons or property, including the unit itself, howsoever caused or any consequential damages arising from the malfunction of the unit and by the purchase of the unit, the purchaser does hereby agree to indemnify and save harmless C.I. from any claim for damages to persons or property caused by the unit.
TO OBTAIN REPAIRS UNDER THE TERMS OF THIS WARRANTY
- The original purchaser must present a copy of the original bill of sale and the service warranty card.
- Any alterations, abuse, misuse, battery corrosion, or accidental damage voids the warranty.
- The warranty does not cover cabinets and accessories.
- No warranty or insurance contained or set out shall apply when damage or repair is caused by power failure; damage in transit or when moving the unit; improper power supply; use for commercial or industrial purposes; service calls resulting in customer education, etc.
- The defective product should be mailed to: U.S.A Curtis International Ltd c/o Liquidity Services/Liquidation.com 1399 Perry Road Plainfield, IN 46168
For service assistance and product information, please call: 1-800-968-9853.
If mailing the product, the freight must be prepaid and a money order for $7.00 should be included to cover the cost of insurance and the return of the product. - C.I. reserves the right to repair or replace the parts which have become defective.
FAQs
The main difference is the sound quality. The expensive one has better sound quality than the cheap one.
You can use it at home or in your office. You can also bring it with you when traveling. It will make your traveling more enjoyable and entertaining.
A little device that may be installed under a cupboard or shelf in your kitchen or other living areas is an under-counter CD player with a clock radio and Bluetooth. It takes up very little room on your counter or shelf and enables you to play CDs, listen to the radio, and stream music from your Bluetooth-enabled device.
Depending on the individual product you buy, installation instructions will vary, but for the majority of types, mounting the device to the underside of a shelf or cabinet will involve utilizing screws or adhesive strips. The gadget could also need to be connected to a power source and an antenna, if necessary.
Yes, the majority of under-counter CD players with Bluetooth, a clock radio, and a clock will come with an FM radio tuner.
Yes, you can connect your smartphone or other Bluetooth-enabled devices to the majority of under-counter CD players with clock radios and Bluetooth to stream music wirelessly.
Yes, a lot of models of under-counter CD players with clock radios and Bluetooth also have alarm features, such as programmed alarm clocks with snooze buttons.
The majority of under-the-counter CD players with Bluetooth and clock radios can play MP3 files from CDs, USB drives, and other suitable media.
Yes, you may customize the bass, treble, and other sound settings on the majority of models of under-counter CD players with clock radio and Bluetooth to your preferences.
Simply wash it down with a soft, damp cloth to clean your clock radio and Bluetooth-enabled under-counter CD player. Abrasive or harsh chemicals should not be used since they may scratch or harm the gadget.
If your under-counter CD player with Bluetooth and a clock radio stops operating, make sure everything is connected and working properly with the power source, antenna, and connections. Consult the manufacturer’s instructions or get in touch with their customer care if you’re still having problems.
Yes, provided that it is installed correctly and utilized in accordance with the manufacturer’s instructions, an under-counter CD player with a clock radio and Bluetooth can be used in a commercial environment, such as a restaurant or retail space.
Download The PDF Link; SYLVANIA SKCR2713 Under Counter CD Player pdf






















