APC Smart-UPS X Series Uninterruptible Power Supply

Overview
About the UPS
The APC® by Schneider Electric Smart-UPS® X is a high performance uninterruptible power supply (UPS). It provides protection for electronic equipment from utility power blackouts, brownouts, sags, and surges; small utility fluctuations and large disturbances. The UPS also provides battery backup power until utility power returns to safe levels or the batteries are fully discharged.
The Smart-UPS X has both high and low voltage models
Low Voltage (100-127 V)
SMX2000RMLV2U
SMX2200RMLV2U
SMX3000RMLV2U
SMX3000RMLV2UNC
SMX3000RMJ2U
High Voltage (200-240 V)
SMX2200RMHV2U
SMX3000RMHV2U
SMX3000RMHV2UNC
Safety
Read the Safety Guide included in the package before installing the UPS.
Inspect the UPS upon receipt. Notify the carrier and dealer if there is damage.
Recycle the packaging.
Heavy: The external battery packs (XLBPs) are heavy. Always install the XLBPs at the bottom of the rack. Install the UPS above the installed XLBPs.
Product Overview
Front panel
❶ Battery
❷ Battery connector
❸ Display interface
❹ Bezel
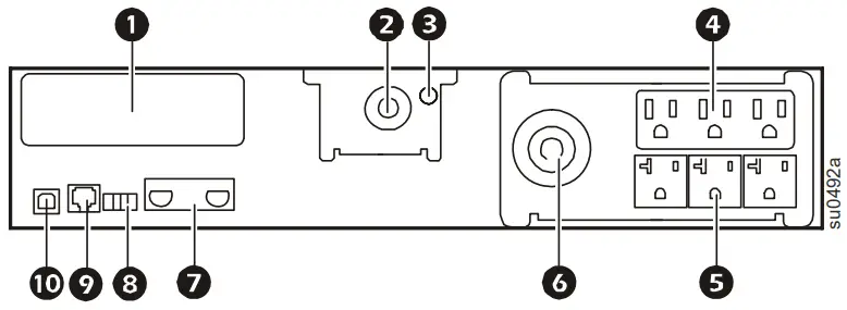
Rear panel
❶ Rear panel
❷ Smart Slot
❸ UPS input
❹ Ground screw
❺ Controllable Outlet Group 1
❻ Controllable Outlet Group 2
❼ Controllable Outlet Group 3
❽ External battery pack connector
❾ EPO connector
❿ Serial port
⓫ USB port
2200 VA Low Voltage
3000 VA Low Voltage
2000 VA Low Voltage
2200/3000 VA High Voltage
Specifications
Operating Conditions
This unit is intended for indoor use only. Select a location sturdy enough to support the weight of the UPS and XLBP.
Do not operate the unit where there is excessive dust, or the temperature or humidity are outside the specified limits.
This unit has front and rear air vents. Allow adequate space for proper ventilation.
Environmental Specifications
Environmental factors impact battery life. High temperatures, poor utility power, and frequent, short duration discharges will shorten battery life.
For additional specifications, see the APC Web site at www.apc.com.
| Temperature | Operating | 0° to 40° C (32° to 104° F) |
| Storage | -15° to 45° C (5° to 113° F) charge UPS battery every six months | |
| Maximum Elevation | Operating | 3,000 m (10,000 ft) |
| Storage | 15,000 m (50,000 ft) | |
| Humidity | 0% to 95% relative humidity, non-condensing | |
Installation
UPS
For UPS installation information, see the Smart-UPS X 2000-3000 VA Quick-Start that is included with the UPS. The guide is also available on the enclosed CD and the APC Web site at www.apc.com.
Network Management
Card For installation information, see the user manual provided with the Network Management Card (NMC). The user manual is also available on the APC Web site at www.apc.com.
External Battery Pack
For installation information, see the Smart-UPS X 2000-3000 VA External Battery Pack Installation guide that is included with the external battery pack. The guide is also available on the enclosed CD and the APC Web site at www.apc.com.
Operation
Connect Equipment to the UPS
Note: The UPS will charge to 90% capacity in the first three hours of normal operation. Do not expect full battery runtime capability during this initial charge period.
- Connect equipment to the outlets on the rear panel of the UPS.
- Connect the UPS to the building utility power. Connect the UPS to a two-pole, three-wire, grounded source only.
- Press the ON/OFF button on the front panel of the UPS to power the unit and all connected equipment.
- To use the UPS as a master on/off switch, turn on all the equipment that is connected to the UPS.
See “Switched Outlet Groups” on page 11 for information on how to use the Switched Outlet Groups.
Basic Connections
Serial port: Connect to a computer to use power management software, use the serial cable included with the unit.
USB port: Connect to a computer to use power management software.
Note: Serial and USB communication can only be used individually, they cannot communicate at the same time.
External Battery Pack connector: Connect XLBPs to provide extended runtime during power outages. The UPS can support up to 10 external battery packs.
Ground Screw: The UPS features a ground screw for connecting the ground leads on transient voltage devices. Prior to connecting a ground lead, disconnect the UPS from utility power.
Display Interface
Overview
❶ Online LED
❷ UPS Output On/Off button
❸ On Battery LED
❹ Fault LED
❺ Replace Battery LED
❻ Display screen
❼ UP and DOWN buttons
❽ ENTER button
❾ ESCAPE button
Using the display interface
Use the UP and DOWN buttons to scroll through the main menu options. Press ENTER to view the sub-menus under each main menu option. Press ESCAPE to exit a sub-menu and return to a main menu.
The Smart-UPS has Standard and Advanced menu screens. The Standard menu screens are the most commonly used screens. The Advanced menu screens are for more advanced users to configure additional features on the UPS.
Note: Actual menu screens may differ by model.
Main Menu | Overview | Standard | Advanced |
Scrolling Screens | On Utility (the UPS is operating on utility power) | x | |
Outlet Group Status | x | ||
| Input and Output voltage | x | ||
| Load meter | x | ||
Battery charge and runtime | x | ||
| Warnings | x | ||
Load and Battery graphs | x | ||
| Status | Operating Mode | x | x |
Efficiency in % (Green mode only) | x | x | |
| Input and output voltage | x | x | |
Load power (W) and VA | x | x | |
Load (A) | x | ||
Load meter (kWh) | x | ||
| Last transfer to battery power information | x | x | |
Battery charge and estimated run time | x | x | |
| Battery voltage | x | ||
Number of external battery packs | x | ||
| Internal battery temperature | x | ||
Run time calibration test results | x | x | |
| Self-test results | x | x | |
Status of the switched outlet group(s): On, | x | ||
| Off, Sleep, Reboot, Turning On, Turning Off | |||
Smart Slot information (if applicable) | x | ||
| Configuration | Language | x | x |
Local power quality | x | x | |
| Standard or Advanced menus | x | x | |
Audible alarms | x | x | |
| High and low transfer points | x | ||
Low run time warning | x | ||
| Green mode (enable/disable) | x | ||
Output voltage | x | x | |
| Battery self-test interval | x | x | |
Battery installation date | x | x | |
| UPS firmware update (only available when | x | x | |
output is off) | |||
| UPS setup wizard | x | x | |
Reset to factory defaults | x | x | |
| Switched outlet group(s) delays and settings | x | ||
Smart Slot configuration (if applicable) | x | ||
| Control | Switched outlet group(s): Turn on, turn off, put to sleep, or reboot | x | |
Test & Diagnostics | UPS self-test. | x | x |
| Runtime calibration test. | x | x | |
Alarm and display test. | x | x | |
| Statistics | Statistics about transfers to battery power, time on battery, and total operating time | x | |
Logs | Transfer log | x | |
Status log | x | ||
| Fault log | x |
About | General information about the UPS, including: model numbers, output voltage setting, serial number, manufacture date, replacement battery cartridge information, firmware versions, and suggested battery replacement date. | x | x |
Smart Slot card information (if applicable), including IP address | x | ||
| Power Chute Business Edition information (if applicable) | x |
Configuration
UPS Settings
Start-up Settings
Use the display interface to configure these settings at initial start-up. The UPS will prompt for a response to each setting, if no response is given, the default setting will be used.
Note: The unit will not turn on until all of these settings are entered.
| Function | Factory Default | Options | Description |
| Language | English |
| The language for the display interface. *Language options will vary by model. |
| Output Voltage | Low Voltage: 120 V |
| Set the output voltage setting while the UPS is in Standby mode. |
| High Voltage: 230 V |
| ||
| Input Power Quality | Quality Good |
| Select the quality of input utility power. • If Good is selected, the unit will go on battery power more often to provide the cleanest power supply to the connected equipment. • If Poor is selected, the UPS will tolerate more fluctuations in power and will go on battery power less often. If unsure of the local power quality, select Good |
| Menu Typ | Standard | Standard or Advanced | The advanced menus include all parameters. The Standard menus display a limited set of menus and options. |
| Date | UPS manufacture date + 90 day | mm-ivy | Enter the current date. |
General Settings
Configure these settings at any time, using the display interface, APC Power Chute® software, or a network management card
| Function | Factory Default | Options | Description |
| High Transfer Point | Low Voltage | To avoid unnecessary battery usage, set the transfer point higher if the utility voltage is chronically high and the connected equipment is known to work under this condition. The POWER QUALITY setting will automatically change this setting. Note: Use the Advanced Menus to configure this setting. | |
| 100 V: 108 Vac | 108-114 Vac | ||
| 110 V: 116 Vac | 116-125 Vac | ||
| 120 V: 127 Vac | 127-136 Vac | ||
| 127 V: 134 Vac | 134-143 Vac | ||
| High Voltage 200 V: 216 Vac | 216-228 Vac | ||
| 208 V: 220 Vac | 220-235 Vac | ||
| 220 V: 242 Vac | 242-254 Vac | ||
| 230 V: 253 Vac | 253-265 Vac | ||
| 240 V: 264 Vac | 264-276 Vac | ||
| Low Transfer Point | Low Voltage | Set the transfer point lower if the utility voltage is chronically low and the connected equipment can tolerate this condition. The POWER QUALITY setting will automatically change this setting. Note: Use the Advanced Menus to configure this setting. | |
| 100 V: 92 Vac | 86-92 Vac | ||
| 110 V: 98 Vac | 89-98 Vac | ||
| 120 V: 106 Vac 127 V: 112 Vac | 97-106 Vac 103-112 Vac | ||
| High Voltage | |||
| 200 V: 184 Vac | 172-184 Vac | ||
| 208 V: 184 Vac 220 V: 198 Vac | 169-184 Vac 186-198 Vac | ||
| 230 V: 207 Vac | 195-207 Vac | ||
| 240 V: 216 Vac | 204-216 Vac | ||
| Green Mode | If the UPS input voltage is between the high transfer point and the lower transfer point, the unit will operate in green mode. Configure this setting using the Advanced menus | ||
| Transfer Sensitivity | Normal |
| Select the level of sensitivity to power events that the UPS will tolerate.
|
| Low Runtime Warning | 150 sec | Set the value in seconds | The UPS will emit an audible alarm when the remaining runtime has reached this level. |
| Date of Last Battery Replacement | Date set at factory | Reset this date when the battery module is replaced. | |
| Audible Alarm | On | On/Off | The UPS will never beep if all audible alarms are set to Off or when the display buttons are pressed. |
| Auto Self-Test Interval Setting | On start-up and every 14 days since the last test |
| The interval at which the UPS will execute a self-test. The batteries much be charged to at least 70% capacity to perform the test. |
| Reset to Factory Default | No | Yes/No | Restore the UPS factory default settings. |
Switched Outlet Groups
Overview
The Switched Outlet Groups can be configured to independently turn off, turn on, shut down, put to sleep, and reboot connected equipment.
The Switched Outlet Groups can be commanded to do the following:
- Turn off: Disconnect from power immediately and restart only with a manual command
- Turn on: Connect to power immediately
- Shutdown: Disconnect power in sequence, and automatically reapply power in sequence when utility power becomes available
- Reboot: Shut down and restart
- Sleep: Reboot after a long delay
In addition, the Switched Outlet Groups can be configured to do the following:
- Turn on or off in a specified sequence
- Automatically turn off or shut down when various conditions occur
Note: Whether the Switched Outlet Groups are configured or not, all of the outlets provide battery back-up power.
Using the Switched Outlet Groups
- Connect critical equipment to a Switched Outlet Group.
- Connect peripheral equipment to the other Switched Outlet Groups.
– During a power outage, to conserve battery runtime, non-essential equipment can be configured to shut down after a short delay
– If equipment has dependent peripherals that must restart or shut down in a specific order, such as an ethernet switch that must restart before a connected server, connect the devices to separate groups
– Equipment that needs to reboot independently from other equipment should be added to a separate group - Use the Configuration menus to configure how the Switched Outlet Groups will react in the event of a power outage.
Customize the Switched Outlet Groups
Use the Control menus to customize the Switched Outlet Groups.
| Function | factory Default | Options | Description |
| Name String Outlet Group | Outlet Group 1, 2, 3 | Edit these names using an external interface, such as the Network Management Card Web interface. | |
| UPS Name String | APC UPS | The amount of time the Switched Outlet Groups will wait between receiving the command to turn on and the actual startup. | |
| Turn Off Delay | 90 sec | Set the value in seconds | The amount of time that the Switched Outlet Groups will wait between receiving the command to turn off and the actual shut down |
| Reboot Duration | 8 sec | Set the value in seconds | The amount of time that the Switched Outlet Groups must remain off before it will restart. |
| Minimum Return Time | 0 sec | Set the value in seconds | The amount of battery runtime that must be available before the Switched Outlet Groups will turn on again after a shutdown. |
| Load Shed On Battery | Disabled |
| When the unit switches to battery power, the UPS can disconnect power to the Switched Outlet Groups to save runtime. Configure this delay time, use the LOAD SHED TIME WHEN ON BATTERY setting. |
| Load Shed Time when On Battery | Disabled | Set the value in seconds | The amount of time the outlets will function on battery power before they will turn off |
| Load Shed On Runtime | Disabled |
| Configure this time using the LOAD SHED RUNTIME REMAINING setting |
| Load Shed On Runtime Remaining | Disabled | Set the value in seconds | When the remaining runtime reaches this level, the Switched Outlet Groups will turn off. |
| Load Shed On Runtime Remaining | Disabled | Set the value in seconds | When the remaining runtime reaches this level, the Switched Outlet Groups will turn off. |
| Load Shed on Overload | Disabled |
| In the event of an overload (greater than 105% output), the Switched Outlet Groups will immediately turn off to conserve power for critical loads. The Switched Outlet Groups will only turn on again with a manual command. |
Network Management Card Settings
These settings are available only on units that have a Network Management Card (NMC).
- NMC IP Address Mode
- NMC Default Gateway
Emergency Power Off
EPO Overview
he Emergency Power Off (EPO) option is a safety feature that will immediately disconnect all connected equipment from utility power. The UPS will immediately shut down and will not switch to battery power.
Connect each UPS to the EPO switch.
The UPS must be manually restarted to reapply power to connected equipment. Press ON/OFF on the front panel of the UPS.
Normally open contacts
- If the EPO switch or relay contacts are normally open, insert the wires from the switch or contacts at pins 1 and 2 of the EPO terminal block. Use 16-28 AWG wire.
- Secure the wires by tightening the screws.
If the contacts are closed, the UPS will turn OFF and power will be removed from the load.
Normally closed contacts
- If the EPO switch or relay contacts are normally closed, insert the wires from the switch or contacts at pins 2 and 3 of the EPO terminal block. Use 16-28 AWG wire.
- Insert a wire jumper between pins 1 and 2. Secure the wires by tightening the three screws at positions 1, 2, and 3.
If the contacts are opened, the UPS will turn OFF and power will be removed from the load.
Note: Pin 1 is the power source for the EPO circuit, it provides a few milliampere of 24 V power.
If the normally closed (NC) EPO configuration is used, the EPO switch or relay should be rated for “dry” circuit applications, the rating should be for low voltage and low current applications. This normally implies the contacts are gold-plated.
Adhere to all national and local electrical codes when wiring the EPO. Wiring must be performed by a qualified electrician.
The EPO interface is a Safety Extra Low Voltage (SELV) circuit. Connect the EPO interface only to other SELV circuits. The EPO interface monitors circuits that have no determined voltage potential. SELV circuits are controlled by a switch or relay properly isolated from utility power. To avoid damage to the UPS, do not connect the EPO interface to any circuit other than a SELV circuit.
Use one of the following cable types to connect the UPS to the EPO switch.
- CL2: Class 2 cable for general use.
- CL2P: Plenum cable for use in ducts, plenums, and other spaces used for environmental air.
- CL2R: Riser cable for use in a vertical run in a floor-to-floor shaft.
- CLEX: Limited use cable for use in dwellings and for use in raceways.
- Installation in Canada: Use only CSA certified, type ELC, (extra-low voltage control cable).
- Installation in countries other than Canada and the USA: Use standard low-voltage cable in accordance with national and local regulations.
Troubleshooting
| Problem and Possible Cause | Solution |
| The UPS will not turn on or there is no output | |
| The unit has not been turned on. | Press the ON button to trum on the UPS. |
| The UPS is not connected to utility power. | Ensure that the power cable is securely connected to the unit and to the utility power supply |
| There is an internal UPS fault. | Do not attempt to use the UPS. Unplug the UPS and have it serviced immediately. |
| The UPS is operating on battery, while connected to input utility power | |
| There is very high, very low, or distorted input line voltage or frequency | Move the UPS to a different outlet on a different circuit. Test the input voltage with the utility voltage display. If acceptable to the connected equipment, reduce the UPS sensitivity. Test the utility input power to ensure the unit is receiving input power |
| UPS emits an audible beeping sound at long intervals | |
| The UPS is in normal operation. | The UPS is protecting the connected equipment. See the display interface to view the status of the UPS. |
| UPS does not provide expected backup time | |
| The UPS battery is weak due to a recent outage or is near the end of its service life. | Charge the battery. Batteries require recharging after extended outages and wear out faster when put into service often or when operated at elevated temperatures. If the battery is near the end of its service life, consider replacing the battery even if the replace battery indicator is not yet illuminated. |
| The UPS is overloaded. | Check the UPS load display. Unplug unnecessary equipment, such as printers. |
| The Fault indicator is lit and the UPS displays a fault message and emits a constant beeping sound | |
| Internal UPS fault. | Do not attempt to use the UPS. Turn the UPS off and have it serviced immediately. |
| The replace battery indicator is illuminated | |
| The battery has a weak charge. | Allow the battery to recharge for at least four hours. Then, perform a self-test. If the problem persists after recharging, replace the battery. |
| The replacement battery is not properly connected. | Ensure that the battery connector is securely connected. |
| The display interface has a Site Wiring Fault message | |
| Wiring faults detected include missing ground, hot-neutral polarity reversal, and overloaded neutral circuit. | f the UPS indicates a site wiring fault, have a qualified electrician inspect the building wiring. (Applicable for Low Voltage (120 V) units only.) |
Service and Support
Service
If the unit requires service, do not return it to the dealer. Follow these steps:
- Review the Troubleshooting section of the manual to eliminate common problems.
- If the problem persists, contact APC Customer Support through the APC Web site, www.apc.com.
a. Note the model number and serial number and the date of purchase. The model and serial numbers are located on the rear panel of the unit and are available through the LCD display on select models.
b. Call APC Customer Support and a technician will attempt to solve the problem over the phone. If this is not possible, the technician will issue a Returned Material Authorization Number (RMA#).
c. If the unit is under warranty, the repairs are free.
d. Service procedures and returns may vary internationally. Refer to the APC Web site for country specific instructions. - Pack the unit properly to avoid damage in transit. Never use foam beads for packaging. Damage sustained in transit is not covered under warranty.
a. For the UPS, always DISCONNECT THE BATTERY before shipping in compliance with U.S. Department of Transportation (DOT) and IATA regulations. The battery may remain in the unit.
b. Internal batteries may remain connected in the XLBP during shipment, (if applicable, not all units have XLBPs). - Write the RMA# provided by Customer Support on the outside of the package.
- Return the unit by insured, pre-paid carrier to the address provided by Customer Support.
Transport the unit
- Shut down and disconnect all connected equipment.
- Disconnect the unit from utility power.
- Disconnect all internal and external batteries (if applicable).
- Follow the shipping instructions outlined in the Service section of this manual
Smart-UPS Factory Warranty
LIMITED WARRANTY
American Power Conversion (APC) warrants its Smart-UPS (Products) to be free from defects in materials and workmanship for a period of three (3) years, excluding the batteries, which are warranted for two (2) years from date of purchase. APC’s obligation under this warranty is limited to repairing or replacing, at its own sole option, any such defective products. Repair or replacement of a defective Product or part thereof does not extend the original warranty period.
This warranty applies only to the original purchaser who must have properly registered the Product within 10 days of purchase. Products may be registered online at warranty.apc.com.
APC shall not be liable under this warranty if its testing and examination disclose that the alleged defect in the Product does not exist or that it was caused by end user’s or any third person’s misuse, negligence, improper installation, testing, operation or use of the Product contrary to APC’s recommendations or specifications. Further, APC shall not be liable for defects resulting from: 1) unauthorized attempts to repair or modify the Product, 2) incorrect or inadequate electrical voltage or connection, 3) inappropriate on-site operation conditions, 4) Acts of God, 5) exposure to the elements, or 6) theft. In no event shall APC have any liability under this warranty for any Product where the serial number has been altered, defaced, or removed.
EXCEPT AS SET FORTH ABOVE, THERE ARE NO WARRANTIES, EXPRESS OR IMPLIED, BY OPERATION OF LAW OR OTHERWISE, APPLCIABLE TO PRODUCTS SOLD, SERVICED OR FURNISHED UNDER THIS AGREEMENT OR IN CONNECTION HEREWITH.
APC DISCLAIMS ALL IMPLIED WARRANTIES OF MERCHANTABILITY, SATISFACTION AND FITNESS FOR A PARTICULAR PURPOSE.
APC EXPRESS WARRANTIES WILL NOT BE ENLARGED, DIMINISHED, OR AFFECTED BY AND NO OBLIGATION OR LIABILITY WILL ARISE OUT OF, APC’s RENDERING OF TECHNICAL OR OTHER ADVICE OR SERVICE IN CONNECTION WITH THE PRODUCTS.
THE FOREGOING WARRANTIES AND REMEDIES ARE EXCLUSIVE AND IN LIEU OF ALL OTHER WARRANTIES AND REMEDIES. THE WARRANTIES SET FORTH ABOVE CONSTITUTE APC’S SOLE LIABILITY AND PURCHASER’S EXCLUSIVE REMEDY FOR ANY BREACH OF SUCH WARRANTIES. APC’S WARRANTIES RUN ONLY TO ORIGINAL PURCHASER AND ARE NOT EXTENDED TO ANY THIRD PARTIES.
IN NO EVENT SHALL APC, ITS OFFICERS, DIRECTORS, AFFILIATES OR EMPLOYEES BE LIABLE FOR ANY FORM OF INDIRECT, SPECIAL, CONSEQUENTIAL OR PUNITIVE DAMAGES, ARISING OUT OF THE USE, SERVICE OR INSTALLATION, OF THE PRODUCTS, WHETHER SUCH DAMAGES ARISE IN CONTRACT OR TORT, IRRESPECTIVE OF FAULT, NEGLIGENCE OR STRICT LIABILITY OR WHETHER APC HAS BEEN ADVISED IN ADVANCE OF THE POSSIBILITY OF SUCH DAMAGES. SPECIFICALLY, APC IS NOT LIABLE FOR ANY COSTS, SUCH AS LOST PROFITS OR REVENUE (WHETHER DIRECT OR INDIRECT), LOSS OF EQUIPMENT, LOSS OF USE OF EQUIPMENT, LOSS OF SOFTWARE, LOSS OF DATA, COSTS OF SUBSTITUANTS, CLAIMS BY THIRD PARTIES, OR OTHERWISE.
NO SALESMAN, EMPLOYEE OR AGENT OF APC IS AUTHORIZED TO ADD TO OR VARY THE TERMS OF THIS WARRANTY.
NOTHING IN THIS LIMITED WARRANTY SHALL SEEK TO EXCLUDE OR LIMIT APC’S LIABILITY FOR DEATH OR PERSONAL INJURY RESULTING FROM ITS NEGLIGENCE OR ITS FRAUDULENT MISREPRESENTATION OR TO THE EXTENT THAT IT CANNOT BE EXCLUDED OR LIMITED BY APPLICABLE LAW.
To obtain service under warranty you must obtain a Returned Material Authorization (RMA) number from customer support. Customers with warranty claims issues may access the APC worldwide customer support network through the APC Web site: support.apc.com. Select your country from the country selection pull-down menu. Open the Support tab at the top of the web page to obtain contact information for customer support in your region. Products must be returned with transportation charges prepaid and must be accompanied by a brief description of the problem encountered and proof of date and place of purchase.
APC Worldwide Customer Support
Customer support for this or any other APC product is available at no charge in any of the following ways:
- Visit the APC Web site to access documents in the APC Knowledge Base and to submit customer support requests.
– www.apc.com (Corporate Headquarters)
Connect to localized APC Web sites for specific countries, each of which provides customer support information.
– www.apc.com/support/ Global support searching APC Knowledge Base and using e-support. - Contact the APC Customer Support Center by telephone or e-mail.
– Local, country-specific centers: go to www.apc.com/support/contact for contact information.
For information on how to obtain local customer support, contact the APC representative or other distributors from whom you purchased your APC product.
© 2011 APC by Schneider Electric. APC, the APC logo, Power Chute and Smart-UPS are owned by Schneider Electric Industries S.A.S., American Power Conversion Corporation, or their affiliated companies. All other trademarks are property of their respective owners.






















