Smart-UPS Uninterruptible Power Supply ASTE-6Z8LRP
User Manual
750/1000 VA
100/120/230 Vac
Rack Mount 1U
For Professional Business Applications – Not For Consumer Use
Introduction
The APCTM by Schneider Electric Smart-UPSTM is a high performance uninterruptible power supply (UPS). The UPS provides protection for electronic equipment from utility power blackouts, brownouts, sags, surges, small utility power fluctuations and large disturbances. The UPS also provides battery backup power for connected equipment until utility power returns to safe levels or the batteries are fully discharged. This user manual is available on the enclosed CD and on the APC by Schneider Electric web site, www.apc.com.
1. INSTALLATION
Read the Safety Instruction sheet before installing the UPS.
Unpacking
Inspect the UPS upon receipt. APC by Schneider Electric designed robust packaging for your product. However, accidents and damage may occur during shipment. Notify the carrier and dealer if there is damage. The packaging is recyclable; save it for reuse or dispose of it properly. Check the package contents. The package contains the UPS, the front bezel, a literature kit containing one CD, one serial cable, one USB cable, product documentation and Safety Information. The package also includes rails, brackets, and a hardware packet, (necessary for rack mounting the UPS). 230V models: Two IEC jumper cables are included and a utility connector plug is included for use on servers with permanently attached power cords.
The UPS is shipped with the battery disconnected.
Positioning the UPS
Place the UPS where it will be used. The UPS is heavy. Select a location sturdy enough to handle the weight. Do not operate the UPS where there is excessive dust or the temperature and humidity are outside the specified limits.
Placement
0º- 40ºC (32º-104ºF)
0-95% Relative Humidity
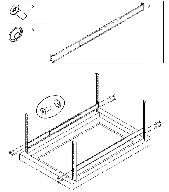
Installing the Rails in the Rack
The UPS fits in a standard 46.5-cm (19-inch) rack. Mounting brackets and rails are packaged separately within the main box. Cleats for rack mounting are preinstalled on the UPS.

Mounting the UPS in a Rack
The UPS is heavy. To lighten it, you may remove the battery before mounting the unit in the rack (Steps 1 and 2).

Check to make sure the rack will not tip after installing the UPS into the rack.
Installing and Connecting the Battery and Attaching the Front Bezel

Connecting Equipment and Power to the UPS
SMART-UPS REAR PANEL 230V Models
- Connect equipment to the UPS. Note: Do not connect a laser printer to the UPS. A laser printer draws significantly more power than other types of equipment and may overload the UPS.
- Add any optional accessories to the SmartSlot.
- Using a power cord, plug the UPS into a two pole, three-wire, grounded receptacle only.
Avoid using extension cords.
120/100V models: The power cord is permanently attached to the rear panel of the UPS. - Turn on all connected equipment. To use the UPS as a master ON/OFF switch, be sure all
connected equipment is switched ON. The equipment will not be powered until the UPS is turned on. - To power up the UPS press the button on the front panel.
=> The UPS charges its battery when it is connected to utility power. The battery charges to 90% capacity during the first three hours of normal operation. Do not expect full battery run capability during this initial charge period. ·
=> 120V Models: Check the site wiring fault LED located on the rear panel. It lights up if the UPS is plugged into an improperly wired utility power outlet. Refer to Troubleshooting in this manual. - For additional computer system security, install PowerChuteTM Smart-UPS monitoring software.
BASIC CONNECTORS

USB Port Power management software and interface kits can be used with the UPS. Use only interface kits supplied or approved by APC by Schneider Electric.
Use an APC by Schneider Electric supplied cable to connect to the Serial Port. DO NOT use a standard serial interface cable since it is incompatible with the UPS connector.
Both Serial and USB Ports are provided. They cannot be used simultaneously.
2. OPERATION
SMART-UPS FRONT PANEL

On Battery Operation
The Smart-UPS switches to battery operation automatically if the utility power fails. While running on battery, an alarm beeps four times every 30 seconds.
Press the
button (front panel) to silence the UPS alarm for the current alarm only. If the utility power does not return, the UPS continues to supply power to the connected equipment until the battery is exhausted.
If PowerChute is not being used you must manually save your files and power down before the UPS turns off.
DETERMINING ON BATTERY RUN TIME
UPS battery life differs based on usage and environment. It is recommended that the battery/batteries be changed once every three years. See the APC by Schneider Electric web site, www.apc.com, for on battery run times.
3. USER CONFIGURABLE ITEMS


4. STORAGE, MAINTENANCE, AND TRANSPORTING
Storage
Store the UPS covered and positioned as for proper functioning, in a cool, dry location, with the batteries
fully charged.
At -15° to +30° C (+5° to +86° F), charge the UPS battery every six months.
At +30° to +45° C (+86° to +113° F), charge the UPS battery every three months.
Replacing the Battery Module
This UPS has an easy to replace, hot-swappable battery module. Replacement is a safe procedure, isolated from electrical hazards. You may leave the UPS and connected equipment on for the following procedure. See your dealer or contact APC by Schneider Electric at the web site, www.apc.com for information on replacement battery modules.
STOP: Once the battery is disconnected, the connected equipment is not protected from power outages.
Be careful during the following steps-the battery module is heavy.
Refer to Installing and Connecting the Battery and Attaching the Front Bezel, in this manual.
Reverse the instructions for battery removal.
Be sure to deliver the spent battery to a recycling facility or ship it to APC by Schneider Electric in the replacement battery packing material.
Disconnecting the Battery for Transport
STOP: Always DISCONNECT THE BATTERY before shipping in compliance with U.S. Department of Transportation (DOT) regulations.
The battery may remain in the UPS; it does not have to be removed.
- Shut down and disconnect any equipment attached to the UPS.
- Shut down and disconnect the UPS from the power supply.
- Unplug the battery connector. Refer to Mounting the UPS in a Rack, Steps 1 and 2 in this manual.
For shipping instructions and to obtain appropriate packing materials contact APC by Schneider Electric at the web site, www.apc.com/support/contact.
5. TROUBLESHOOTING
Use the chart below to solve minor Smart-UPS installation and operation problems. Refer to the APC by Schneider Electric web site, www.apc.com, for assistance with complex UPS problems.


6. TRANSPORT AND SERVICE
Transport
- Shut down and disconnect all connected equipment.
- Disconnect the unit from utility power.
- Disconnect all internal and external batteries (if applicable).
- Follow the shipping instructions outlined in the Service section of this manual.
Service
If the unit requires service, do not return it to the dealer. Follow these steps:
- Review the Troubleshooting section of the manual to eliminate common problems.
- If the problem persists, contact APC by Schneider Electric Customer Support through the APC by Schneider Electric web site, www.apc.com.
a. Note the model number and serial number and the date of purchase. The model and serial numbers are located on the rear panel of the unit and are available through the LCD display on select models.
b. Call Customer Support and a technician will attempt to solve the problem over the phone. If this is not possible, the technician will issue a Returned Material Authorization Number (RMA#).
c. If the unit is under warranty, the repairs are free.
d. Service procedures and returns may vary internationally. Refer to the APC by Schneider Electric web site, www.apc.com for country specific instructions.
3 . Pack the unit properly to avoid damage in transit. Never use foam beads for packaging. Damage sustained in transit is not covered under warranty.
a. Note: When shipping within the United States, or to the United States always DISCONNECT ONE UPS BATTERY before shipping in compliance with U.S. Department of Transportation (DOT) and IATA regulations. The internal batteries may remain in the UPS.
b. Batteries may remain connected in the XBP during shipment. Not all units utilize XLBPs.
4 . Write the RMA# provided by Customer Support on the outside of the package.
5 . Return the unit by insured, prepaid carrier to the address provided by Customer Support.
7. LIMITED FACTORY WARRANTY
Schneider Electric IT Corporation (SEIT), warrants its products to be free from defects in materials and workmanship for a period of two (2) years from the date of purchase. The SEIT obligation under this warranty is limited to repairing or replacing, at its own sole option, any such defective products. Repair or replacement of a defective product or parts thereof does not extend the original warranty period.
This warranty applies only to the original purchaser who must have properly registered the product within 10 days of purchase. Products may be registered online at warranty.apc.com.
SEIT shall not be liable under the warranty if its testing and examination disclose that the alleged defect in the product does not exist or was caused by end user or any third person misuse, negligence, improper installation, testing, operation or use of the product contrary to SEIT recommendations or specifications. Further, SEIT shall not be liable for defects resulting from: 1) unauthorized attempts to repair or modify the product, 2) incorrect or inadequate electrical voltage or connection, 3) inappropriate on site operation conditions, 4) Acts of God, 5) exposure to the elements, or 6) theft. In no event shall SEIT have any liability under this warranty for any product where the serial number has been altered, defaced, or removed.
EXCEPT AS SET FORTH ABOVE, THERE ARE NO WARRANTIES, EXPRESS OR IMPLIED, BY OPERATION OF LAW OR OTHERWISE, APPLICABLE TO PRODUCTS SOLD, SERVICED OR FURNISHED UNDER THIS AGREEMENT OR IN CONNECTION HEREWITH. SEIT DISCLAIMS ALL IMPLIED WARRANTIES OF MERCHANTABILITY, SATISFACTION AND FITNESS FOR A PARTICULAR PURPOSE. SEIT EXPRESS WARRANTIES WILL NOT BE ENLARGED, DIMINISHED, OR AFFECTED BY AND NO OBLIGATION OR LIABILITY WILL ARISE OUT OF, SEIT RENDERING OF TECHNICAL OR OTHER ADVICE OR SERVICE IN CONNECTION WITH THE PRODUCTS. THE FOREGOING WARRANTIES AND REMEDIES ARE EXCLUSIVE AND IN LIEU OF ALL OTHER WARRANTIES AND REMEDIES. THE WARRANTIES SET FORTH ABOVE CONSTITUTE SEIT SOLE LIABILITY AND PURCHASER EXCLUSIVE REMEDY FOR ANY BREACH OF SUCH WARRANTIES. SEIT WARRANTIES EXTEND ONLY TO ORIGINAL PURCHASER AND ARE NOT EXTENDED TO ANY THIRD PARTIES. IN NO EVENT SHALL SEIT, ITS OFFICERS, DIRECTORS, AFFILIATES OR EMPLOYEES BE LIABLE FOR ANY FORM OF INDIRECT, SPECIAL, CONSEQUENTIAL OR PUNITIVE DAMAGES, ARISING OUT OF THE USE, SERVICE OR INSTALLATION OF THE PRODUCTS, WHETHER SUCH DAMAGES ARISE IN CONTRACT OR TORT, IRRESPECTIVE OF FAULT, NEGLIGENCE OR STRICT LIABILITY OR WHETHER SEIT HAS BEEN ADVISED IN ADVANCE OF THE POSSIBILITY OF SUCH DAMAGES. SPECIFICALLY, SEIT IS NOT LIABLE FOR ANY COSTS, SUCH AS LOST PROFITS OR REVENUE, WHETHER DIRECT OR INDIRECT, LOSS OF EQUIPMENT, LOSS OF USE OF EQUIPMENT, LOSS OF SOFTWARE, LOSS OF DATA, COSTS OF SUBSTITUANTS, CLAIMS BY THIRD PARTIES, OR OTHERWISE.NOTHING IN THIS LIMITED WARRANTY SHALL SEEK TO EXCLUDE OR LIMIT SEIT LIABILITY FOR DEATH OR PERSONAL INJURY RESULTING FROM ITS NEGLIGENCE OR ITS FRAUDULENT MISREPRESENTATION OF TO THE EXTENT THAT IT CANNOT BE EXCLUDED OR LIMITED BY APPLICABLE LAW.
To obtain service under warranty you must obtain a Returned Material Authorization (RMA) number from customer support. Customers with warranty claims issues may access the SEIT worldwide customer support network through the APC web site: www.apc.com. Select your country from the country selection drop down menu. Open the Support tab at the top of the web page to obtain information for customer support in your region. Products must be returned with transportation charges prepaid and must be accompanied by a brief description of the problem encountered and proof of date and place of purchase.
APC by Schneider Electric Worldwide Customer Support
Customer support for this or any other APC by Schneider Electric product is available at no charge in any of the following ways:
- Visit the APC by Schneider Electric web site, www.apc.com to access
documents in the APC Knowledge Base and to submit customer support requests.
– www.apc.com (Corporate Headquarters)
Connect to localized APC by Schneider Electric web site for specific countries, each of which provides customer support information.
– www.apc.com/support/
Global support searching APC Knowledge Base and using e-support. - Contact the APC by Schneider Electric Customer Support Center by telephone or e-mail.
– Local, country specific centers: go to www.apc.com/support/contact for contact information.
– For information on how to obtain local customer support, contact the APC by Schneider Electric representative or other distributor from whom you purchased your APC by Schneider Electric product.
2021 APC by Schneider Electric. Smart-UPS and PowerChute are owned by Schneider Electric Industries S.A.S. or their affiliated companies. All other trademarks are property of their respective owners.



















