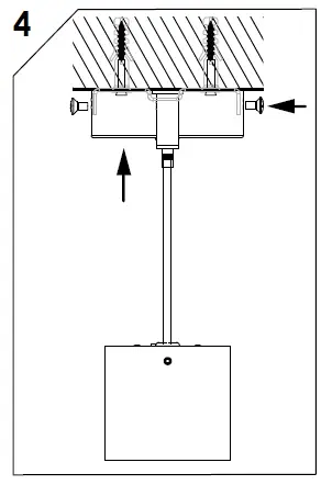
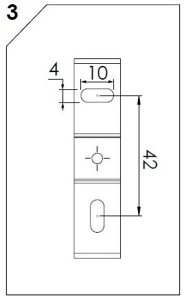
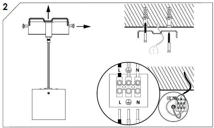
Home » Blog » Nowodvorski 7535 Soft Led Graphite Light Instruction Manual Nowodvorski 7535 Soft Led Graphite Light Instruction Manual Contents hide1 Nowodvorski 7535 Soft LED Graphite Light2 TOOLS3 INSTALLATION4 Documents / Resources5 Related PostsNowodvorski 7535 Soft LED Graphite LightTOOLSINSTALLATION Documents / Resouces Download manual Here you can download full pdf version of manual, it may contain additional safety instructions, warranty information, FCC rules, etc. To access the pdf donwload links, solve the captcha. Related Manuals Nowodvorski 7534 Soft Led Graphite Instruction Manual Nowodvorski 7530 Soft Led Ceiling Light User Manual Nowodvorski Nw01205 Aluminum Graphite Instruction Manual Nowodvorski 8210 Agnes Round Led Instruction Manual Bergmen Facile Pro Led Light User Manual Nowodvorski 8357 Chic Led Instruction Manual Nowodvorski 8207 Agnes Round Led Instruction Manual Nowodvorski 10362 Vertic Pendul Living Led Light Instructions Progress Lighting P350195-143 Medal 2-light Graphite Industrial Flush Mount Instruction Manual Graphite 58ge104 Construction Bluetooth Led Radio Instruction Manual Nowodvorski 8141 Triangles Led Instruction Manual Nowodvorski 8208 Agnes Round Led Instruction Manual Nowodvorski 8163 Led Exterior Circlet Spot Light Instruction Manual Leuchtendirekt 99731 Led Light Instruction Manual Nowodvorski 9115 Patras Led Instruction Manual Lezyne Led Light User Manual Otto 250244-221046 Pavillon 300x400 Cm Graphite Gray Instruction Manual Leuchtendirekt 997288 Led Light Instruction Manual Nowodvorski 9391 Shy Pending Light Instruction Manual Arcchio 9934138 Karline Led Wall Light Steel 4 W Instruction Manual