![]()

Installation Guide
Included Installation Instructions
Network Camera For professional use only Indoor use

Model No.
WV-S22700-V2L
WV-S22600-V2L
WV-S22500-V3L
WV-S22500-F6L
WV-S22500-F3L
WV-S22700-V2L
About the user manuals
Product documentation is composed of the following documents.
- Installation Guide (this document): Provides information about “Precautions”, “Precautions for installation” and the installation method.
- Basic Information (Refer to the link on the following support website): Provides information about “Precautions for use”, “Parts and functions” and “Detail specifications”.
- Operating Instructions (Refer to the link on the following support website): Explains how to perform the settings and how to operate this camera.
https://i-pro.com/global/en/surveillance/training-support/documentation-database-list
“<Control No.: C****>” used in these documents should be used to search for information on our technical information website (https://i-pro.com/global/en/surveillance/training-support/support/technical-information) and will guide you to the right information.
- Before attempting to connect or operate this product, please read these instructions carefully and save this manual for future use.
- microSDXC/ microSDHC/ microSD memory card is described as microSD memory card.
- The external appearance and other parts shown in this manual may differ from the actual product within the scope that will not interfere with normal use due to improvement of the product.

Authorised Representative in EU:
i-PRO EMEA B.V.
Laarderhoogtweg 25, 1101 EB
Amsterdam, Netherlands

i-PRO EMEA B.V. UK Branch
1010 Cambourne Business Park,
Cambridgeshire CB23 6DP
i-PRO Co., Ltd.
Fukuoka, Japan
https://www.i-pro.com/
© i-PRO Co., Ltd. 2022
avs0222-2042
Printed in China
Disposal of Old Equipment and Batteries
Only for European Union and countries with recycling systems
These symbols on the products, packaging, and/or accompanying documents mean that used electrical and electronic products and batteries must not be mixed with general household waste.
For proper treatment, recovery and recycling of old products and used batteries, please take them to applicable collection points in accordance with your national legislation.
By disposing of them correctly, you will help to save valuable resources and prevent any potential negative effects on human health and the environment.
For more information about collection and recycling, please contact your local authority.
Penalties may be applicable for incorrect disposal of this waste, in accordance with national legislation.
Note for the battery symbol (bottom symbol)
This symbol might be used in combination with a chemical symbol. In this case it complies with the requirement set by the Directive for the chemical involved.
For U.S.A.
NOTE: This equipment has been tested and found to comply with the limits for a Class A digital device, pursuant to Part 15 of the FCC Rules. These limits are designed to provide reasonable protection against harmful interference when the equipment is operated in a commercial environment. This equipment generates, uses, and can radiate radio frequency energy and, if not installed and used in accordance with the instruction manual, may cause harmful interference to radio communications.
Operation of this equipment in a residential area is likely to cause harmful interference in which case the user will be required to correct the interference at his own expense.
FCC CAUTION: Changes or modifications not expressly approved by the party responsible for compliance could void the user’s authority to operate the equipment.

Supplier’s Declaration of conformity
Trade name : i-PRO
Model No. : WV-S22700-V2L / WV-S22600-V2L
WV-S22500-V3L / WV-S22500-F6L
WV-S22500-F3L
Responsible Party :
i-PRO Americas Inc.
8550 Fallbrook Drive, Suite 200 Houston,
Texas 77064
Support Contact: 1-800-513-5417
For U.S.A.
The model number and serial number of this product may be found on the surface of the unit.
You should note the model number and serial number of this unit in the space provided and retain this book as a permanent record of your purchase to aid identification in the event of theft.
Model No. _____________________
Serial No. ______________________
For Canada
CAN ICES-3(A)/NMB-3(A)
For U.S.A.
This device complies with part 15 of the FCC Rules. Operation is subject to the following two conditions : (1)This device may not cause harmful interference, and (2) this device must accept any interference received, including interference that may cause undesired operation.
WARNING:
|
Caution:
Notice:
|
Precautions
■ Do not insert any foreign objects.
Fire or electrical shock may be caused if water or any foreign objects, such as metal objects, enter inside the unit. Turn the power off immediately and contact qualified service personnel for service.
■ Do not use this product in an inflammable atmosphere.
Failure to observe this may cause an explosion resulting in injury.
■ Avoid installing this product in the locations where salt damage occurs or corrosive gas is produced.
Otherwise, the mounting portions will deteriorate and injury or accidents due to a fall of the product may occur.
■ Do not strike or give a strong shock to this product.
Failure to observe this may cause injury or fire.
■ Keep microSD memory cards away from infants and children.
Otherwise, they may swallow the cards by mistake.
In this case, consult a doctor immediately.
■ Do not hang down from this product or use this product as a pedestal.
Failure to observe this may cause injury or accidents.
■ Do not damage the power cable.
Do not damage, fabricate, twist, stretch, bundle, or forcibly bend the power cable. Do not place heavy objects on it, and keep it away from heat sources.
Use of a damaged power cable may cause electric shock, short circuit, or fire.
Consult the dealer for repair.
■ Do not attempt to disassemble or modify this product.
Failure to observe this may cause fire or electric shock. Consult the dealer for the repair or inspections.
■ Do not install or clean the camera, or touch this product, the power cable or the connected cables during thunder storms.
Failure to observe this may cause electric shock.
■ Refer installation work to the dealer.
Installation work requires technique and experience. Failure to observe this may cause fire, electric shock, injury, or damage to the product. Be sure to consult the dealer.
■ Stop the operation immediately when something is wrong with this product.
When smoke goes up from the product, the smell of smoke comes from the product, or the exterior of the product has deteriorated, continued use will cause a fire or fall of the product resulting in injury, or damage to the product. In this case, turn the power off immediately and contact qualified service personnel for service.
■ Select an installation area that can support the total weight.
Selecting an inappropriate installation surface may cause this product to fall down or topple over, resulting in injury or accidents. Installation work shall be started after sufficient reinforcement.
■ Periodic inspections shall be conducted.
Rust on the metal parts or screws may cause a fall of the product resulting in injury or accidents.
Consult the dealer for the inspections.
■ The screws and bolts must be tightened to the specified torque.
Failure to observe this may cause a drop resulting in injury or accidents.
■ Turn the power off when do wiring of this product.
Failure to observe this may cause electric shock. In addition, short circuit or wrong wiring may cause fire.
■ Install this product in a location high enough to avoid people and objects from bumping the product.
Failure to observe this may cause injury.
■ Do not install this product in locations subject to vibration.
Loosening of mounting screws or bolts may cause a fall of the product resulting in injury or accidents.
■ Correctly perform all wiring.
Short circuits in the wiring or incorrect wiring may cause fire or electrical shock.
■ Install the product securely on a wall or a ceiling in accordance with the installation instructions.
Failure to observe this may cause injury or accidents.
■ Do not rub the edges of metal parts with your hand.
Failure to observe this may cause injury.
■ Do not touch the metal part of the bottom side of the product.
The metal part of the bottom side may become hot while the product is in use. Direct skin contact with high temperature parts of the product may cause burns.
■ Turn the power off when cleaning this product.
Failure to observe this may cause injury.
About notations
The following notations are used when describing the functions limited for specified models.
The functions without the notations are supported by all models.
The functions with this notation are available when using the model WV-S22700-V2L (4K model) series.
The functions with this notation are available when using the model WV-S22600-V2L (6M model) series.
The functions with this notation are available when using the model WV-S22500-V3L (5M model) series.
The functions with this notation are available when using the model WV-S22500-F6L (Focal length 6.1 mm) series.
The functions with this notation are available when using the model WV-S22500-F3L (Focal length 3.2 mm) series.
The functions with this notation are available when using the model with the i-PRO white body.
The functions with this notation are available when using the model with the black body.
The functions with this notation are available when using the model with the clear dome cover.
The functions with this notation are available when using the model with the smoke dome cover.
Open Source Software
- This product contains open source software licensed under GPL (GNU General Public License), LGPL (GNU Lesser General Public License), etc.
- Customers can duplicate, distribute and modify the source code of the software under license of GPL and/or LGPL.
- For details concerning licensing and source code of open source software, click “Click here for OSS information” on “Support” page of the setup menu of this product and read the displayed content.
- Please note that we shall not respond to any inquiries regarding the contents of the source code.
Copyright
Except for open source software licensed under GPL/LGPL and so on, distributing, copying, disassembling, reverse compiling and reverse engineering of the software provided with this product are all expressly prohibited. In addition, exporting any software provided with this product violating export laws is prohibited.
Trademarks and registered trademarks
- Microsoft, Windows, Windows Media, Microsoft Edge, and ActiveX are either registered trademarks or trademarks of Microsoft Corporation in the United States and/or other countries.
- Intel and Intel Core are trademarks of Intel Corporation or its subsidiaries in the U.S. and/or other countries.
- Adobe, Acrobat, and Reader are either registered trademarks or trademarks of Adobe in the United States and/or other countries.
- microSDXC Logo is a trademark of SD-3C, LLC.
- iPad and iPhone are trademarks of Apple Inc., registered in the U.S. and other countries.
- Android and Google Chrome are trademark of Google LLC.
- Firefox is a trademark of the Mozilla Foundation in the US and other countries.
- The word “QR Code” is a registered trademark of DENSO WAVE INCORPORATED in Japan and other countries.
- All other trademarks identified herein are the property of their respective owners.
Precautions for installation
i-PRO Co., Ltd. assumes no responsibility for injuries or property damage resulting from failures arising out of improper installation or operation inconsistent with this documentation.
■ In order to prevent injury, the product must be securely mounted to a an installation surface according to Installation Guide.
■ Installation area for this product
Select an appropriate place for the installation area (such as a strong wall or ceiling) in your particular environment.
- Make sure that the installation area is strong enough to hold this product, such as a concrete ceiling.
- Install the camera in the foundation area of the architecture or where sufficient strength is assured.
- Do not mount the product on a plaster board or a wooden section because they are too weak. If the product is unavoidably mounted on such a section, the section shall be sufficiently reinforced.
■ This camera is designed to be used indoors
This product is not operable outdoors. Do not expose this camera to direct sunlight for hours and do not install the product near a heater or an air conditioner. Otherwise, it may cause deformation, discoloration and malfunction. Keep this camera away from water and moisture.
■ Do not place this product in the following places
- Locations where a chemical agent is used such as a swimming pool
- Locations subject to moisture or oil smoke such as a kitchen
- Locations that have a specific environment that is subject to an inflammable atmosphere or solvents
- Locations where a radiation, an X-ray, a strong radio wave or a strong magnetic field is generated
- Locations near coasts directly subjected to sea breezes, or locations subject to corrosive gases such as from hot springs, volcanic regions, etc.
- Locations where the temperature is not within the specified range
- Locations subject to vibrations, such as on vehicles, marine vessels, or above product lines (This product is not designed for on-vehicle use.)
- Locations where it may get directly wet from rain or water splash (including under the eaves, etc.)
- Locations subject to moisture or dust
- Locations subject to sudden changes in temperature such as near air discharge vents of air conditioners or air circulation inlet doors
- Locations near rubber products (packing, rubber feet, etc.)
■ Screw tightening
Do not use an impact driver. Use of an impact driver may damage the screws or cause tightening excessively.
■ About reflection of light from outside or IR light
A ghost may appear on the screen depending on the incident angle of external light.
In the case of using the IR light, installation of a camera near a wall may cause reflection of infrared rays resulting in a part of the screen or the entire screen turning whitish.
Refer to our technical information website <Control No.: C0109> for image examples and measures to take.
■ Take notice of humidity
Install this product when the humidity is low. If installation is performed when it is raining or in very humid conditions, the inside may be affected by humidity, causing mist-over inside the dome cover.
■ Protection from lightning
When cables are used outdoors, there is a chance that they may be affected by lightning. In such a case, install a lightning arrestor close to the camera, and make the length of the network cable between the camera and lightning arrestor as short as possible to prevent the camera from being affected by lightning.
■ When noise disturbance may happen
Noise may appear in video or audio near a strong electric field from a TV or radio antenna, motors and transformers, or a strong electric field/magnetic field from a power line (lamp line) of AC100 V or more. Conduct the power distribution work to keep 1 m {3.28 feet} away from them or conduct the electric conduit work using metal pipes. (Be sure to make ground connection of the metal pipes.)
■ Make sure to remove this product if it will no longer be used.
■ This product has no power switch.
When turning off the power, disconnect the power supply from the 12 V DC power supply or the PoE device.
■ About the battery
A battery is installed inside the camera. Do not leave the battery exposed in environments of excessive heat as a result of sunlight or fire.
■ Equipment classification and power source indication label
Refer to the indication label on the bottom side of this unit for the equipment classification, power source, and other information.
■ About static electricity
Before installing or removing this product, be sure to touch metal objects to discharge static electricity from your body.
Troubleshooting
Before requesting service, refer to “Troubleshooting” of Basic Information and Operating Instructions. Then, confirm the trouble.
Specifications* *For further information, refer to the Basic Information.
| Power source *1: | DC 12 V PoE (IEEE802.3af compliant) |
| Power consumption *1: | DC 12 V: 1.0 A/Approx. 12.0 W PoE DC 48 V: 240 mA/Approx. 11.5 W (Class 0 device) DC 12 V: 880 mA/Approx. 10.6 W PoE DC 48 V: 220 mA/Approx. 10.6 W (Class 0 device) |
| Operating environment Ambient operating temperature: Ambient operating humidity: | -10 °C to +50 °C {14 °F to 122 °F} (Power on range 0 °C to 50 °C {32 °F to 122 °F}) 10 % to 90 % (no condensation) |
| Storage environment Storage temperature: | -30 °C to +60 °C {-22 °F to +140 °F} |
| Monitor output (for adjustment): | VBS: 1.0 V [p-p]/75 Ω, composite, Pin jack An NTSC or PAL signal can be outputted from camera (either press the INITIAL SET button quickly (within 1 second) or use software to select NTSC or PAL signal). |
| EXT I/O terminals: | ALARM IN1 (Alarm input 1/ Black & white input/ Auto time adjustment input) (x1) ALARM IN2 (Alarm input 2/ ALARM OUT) (x1) ALARM IN3 (Alarm input 3/ AUX OUT) (x1) |
| Audio input: For microphone input:
For line input: | ø3.5 mm stereo mini jack Recommended applicable microphone: Plug-in power type (Sensitivity of microphone: –51 dB to –38 dB (0 dB=1 V/Pa, 1 kHz)) Input impedance: Approx. 2 kΩ (unbalanced) Supply voltage: 2.5 V ±0.5 V Input level: Approx. –10 dBV |
| Audio output *2: | ø3.5 mm stereo mini jack (Audio output is monaural.) Output impedance: Approx. 600 Ω (unbalanced) Output level: –20 dBV |
| Shock resistance: | IK10 (IEC 62262) |
| Dimensions: | ø129.5 mm × 102.5 mm (H) {ø5-3/32 inches × 4-1/32 inches (H)} Dome radius 41.5 mm {1-5/8 inches} |
| Mass: | Approx. 800 g {1.77 lbs} |
| Finish: | Main body: Aluminum die cast, Dome cover: PC resin, |
| Others: | Tamper-resistant enclosure *3 |
*1 Refer to our technical information website <Control No.: C0106> for further information about Power source and Power consumption information.
*2 ![]()
![]()
This camera is not equipped with the function to change the audio output to the monitor output.![]()
![]()
![]()
The audio output can be switched to the monitor output. Refer to the “Operating Instructions” on our support website for descriptions of how to switch the output.
*3 Component that has a structure on which the screws that are accessible after installation cannot be screwed or unscrewed using an ordinary screwdriver.
Optional accessories
Dome cover (Smoke type) : WV-CR1S
Ceiling mount bracket : WV-Q105A
Mount bracket : WV-QSR501-W / WV-QSR501-B / WV-QSR501F-W / WV-QSR501M-W / WV-QSR501F1-W / WV-QSR501M1-W
Ceiling mount bracket : WV-QEM100-W / WV-QEM100-B
Wall mount bracket : WV-QWL500-W / WV-QWL500-B
Ceiling mount bracket (ISO) : WV-QCL100-W / WV-QCL100-B
Ceiling mount bracket (ANSI) : WV-QCL101-W / WV-QCL101-B

The latest information → Technical information website “Accessory Selector” <Control No.: C0501>
Standard accessories
Installation Guide(English / Japanese) ……………… 1 pc.(each)
IMPORTANT SAFETY INSTRUCTIONS ………1 pc.
Code label *1 ……………………………………………………… 1 pc.
*1 This label may be required for network management. Use caution not to lose this label.
The following parts are used during installation procedures.
EXT I/O terminal plug *2 ……………………… 1 pc.
Template A …………………………………………….. 1 sheet
Power cord plug *2 ………………………………….. 1 pc.
Bit (Hex wrench, screw size 6.35 mm {1/4 inches} T10) …… 1 pc.
*2 The power cord plug, EXT I/O terminal plug are attached to the camera.
Other items that are needed (not included)
- fixing screw
Installation method | Recommended screw *1 | Minimum pull-out strength *2 |
| 【Type 1】Mount the camera to a two-gangbox/junction box. | M4 x 16 mm *3 {5/8 inches} x 2 pcs. | 196 N {44 lbf} |
| 【Type 2】Directly mount the camera onto the ceiling or wall. | ||
| Mount the camera using the exclusively designed mount bracket. | Refer to the operating instructions of each bracket. | |
*1 Select screws according to the material of the location that the camera will be mounted to. In this case, wood screws and nails should not be used.
*2 This value indicates the minimum pull-out strength required value per screw. For information about the minimum pull-out strength, refer to our technical information website <Control No.: C0120>.
*3 The screw length is an example when installing the camera on a robust ceiling or wall with a thickness of 20 mm {25/32 inches} or more.
- Ethernet cable with RJ45 plug (category 5e or better, straight, 4 pairs (8 pins))
- As necessary, audio input cable, audio output cable, alarm I/O cables, power supply cable
- Tools

- 30 mm
{1-3/16 inches} - Diameter
9 mm {11/32 inches} - Straight section
17 mm {21/32 inches} - Straight section
30 mm
{1-3/16 inches} - 9 mm
{11/32 inches} - 13 mm
{1/2 inches} - 40 mm
{1-9/16 inches}
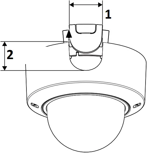
Parts and functions

- Bit (accessory)
- MONITOR OUT terminal
- Power supply terminal (12 V DC)
mark Screen upward direction- IR LED (2 places)
- SD memory card warning /error indicator
- Direction marker for installation (TOP) on the wall.
- Direction marker for installation (FRONT) on the ceiling.
- LINK indicator (orange)

- ACT indicator (green)

- SD indicator

- SD ON/OFF button
- WIDE+AF button



- TELE+AF button



- INITIAL SET button
- Lights
- Blinks
- Lights off
- Operating Instructions “Indicators”
- All off
- microSD memory card
- A click sound is heard.
- Operating Instructions “Format the microSD memory card”
Use a microSD memory card dedicated to i-PRO cameras.
Step1
Preparations

Connection using conduit Side cable access

- 31 mm
{1-7/32 inches} - 35 mm
{1-3/8 inches}

Step2

- 83.5 mm
{3-9/32 inches} - ø25.4 mm {1 inch}
- 24 mm
{15/16 inches} - 2 × M4
- 46 mm{1-13/16 inches}
Ceiling Wall

- FRONT
- TOP
Step3

- DC 12 V
- EXT I/O
- Audio in
< 1 m {3.28 feet} (Mic)
<10 m {32.8 feet} (Line) - Audio out
<10 m {32.8 feet} - RJ45 Ethernet (PoE)
<100 m {328 feet} - 3 mm to 7 mm {1/8 inches to 9/32 inches}
- 8 mm to 9 mm {5/16 inches to 11/32 inches}
- DC 12V
- GND
- AWG 16 ~AWG 24
- AWG 20 ~AWG 26
- Basic Information “Cables”
Operating Instructions “Audio output terminal”


- 0.34 N·m
{0.25 lbf·ft}
Step4
![]()
Minimum pull-out strength: 196 N {44 lbf} (per screw)
Fixing screws: M4 (locally procured)
Gangbox/ Junction box

- FRONT
Ceiling Wall

- FRONT
- TOP
Step5
→Power On (DC 12 V/PoE)
If there is a protection film on the lens, remove it.

- 0.59 N·m
{0.44 lbf·ft} - WIDE+AF
- TELE+AF
- Technical information website
“IP Setting Software”
<Control No.: C0123> or
“i-PRO Configuration Tool (iCT)”
<Control No.: C0133>”Extra optical zoom”
<Control No.: C0124>”Camera images that appear to overlap”
<Control No.: C0128> - Operating Instructions
“Image rotation →180°” - R LED





















