i-PRO WV-S6131 Network Camera
Product Information
The Network Camera is available in two models: WV-S6131 and WV-S6111. The product is manufactured by i-PRO Co., Ltd. and is authorized by i-PRO Americas Inc. for the U.S and Canada, and i-PRO EMEA B.V. for Europe and other countries. The product is equipped with a model number and serial number for identification purposes. The product comes with an installation guide, a CD-ROM, an important safety instructions manual, and a code label.
Product Usage Instructions
- Read the important safety instructions manual and keep it for future reference.
- Follow the included installation instructions to properly install the Network Camera.
- Use only attachments/accessories specified by the manufacturer.
- Use only the cart, stand, tripod, bracket, or table specified by the manufacturer or sold with the product.
- When using a cart, use caution when moving the cart/apparatus combination to avoid injury from tip-over.
- Do not use this product near water.
- Clean the product only with a dry cloth.
- Do not block any ventilation openings and install in accordance with the manufacturer’s instructions.
- Do not install the product near any heat sources such as radiators, heat registers, stoves, or other apparatus that produce heat.
- Unplug the product during lightning storms or when unused for long periods of time.
- If the product has been damaged in any way, refer to the servicing instructions in the Important Information manual and contact qualified service personnel.
WV-S6131
- Before attempting to connect or operate this product, please read these instructions carefully and save this manual for future use.
- For information about the basic description of this product, refer to the Important Information on the provided CD-ROM. For information about how to perform the settings and how to operate the camera, refer to the Operating Instructions on the provided CD-ROM.
- The model number is abbreviated in some descriptions in this manual.
For U.S. and Canada:
i-PRO Americas Inc.
https://www.i-pro.com/
For Europe and other countries:
i-PRO Co., Ltd. Fukuoka, Japan
https://www.i-pro.com/
i-PRO EMEA B.V. UK Branch 1010 Cambourne Business Park, Cambridgeshire CB23 6DP
Authorised Representative in EU: i-PRO EMEA B.V. Laarderhoogtweg 25, 1101 EB Amsterdam, Netherlands
Important safety instructions
- Read these instructions.
- Keep these instructions.
- Heed all warnings.
- Follow all instructions.
- Do not use this apparatus near water.
- Clean only with dry cloth.
- Do not block any ventilation openings. Install in accordance with the manufacturer’s instructions.
- Do not install near any heat sources such as radiators, heat registers, stoves, or other apparatus (including amplifiers) that produce heat.
- Only use attachments/accessories specified by the manufacturer.
- Use only with the cart, stand, tripod, bracket, or table specified by the manufacturer, or sold with the apparatus. When a cart is used, use caution when moving the cart/apparatus combination to avoid injury from tip-over.

- Unplug this apparatus during lightning storms or when unused for long periods of time.
- Refer all servicing to qualified service personnel. Servicing is required when the apparatus has been dam-aged in any way, such as power-supply cord or plug is damaged, liquid has been spilled or objects have fallen into the apparatus, the apparatus has been exposed to rain or moisture, does not operate normally, or has been dropped.
Troubleshooting
Before requesting service, refer to the Important Information (included in the CD-ROM) and “Troubleshooting” in the Operating Instructions (included in the CD-ROM) and confirm the trouble.
Open Source Software
- This product contains open source software licensed under GPL (GNU General Public License), LGPL (GNU Lesser General Public License), etc.
- Customers can duplicate, distribute and modify the source code of the software under license of GPL and/or LGPL.
- Refer to the “readme.txt” file on the provided CD-ROM for further information about open source software licenses and the source code.
- Please note that we shall not respond to any inquiries regarding the contents of the source code.
WARNING
- To prevent injury, this apparatus must be secure-ly attached to the wall/ceiling in accordance with the installation instructions.
- To prevent fire or electric shock hazard, do not expose this apparatus to rain or moisture.
- The apparatus should not be exposed to drip-ping or splashing.
- All work related to the installation of this product should be made by qualified service personnel or system installers.
- The installation shall be carried out in accordance with all applicable installation rules.
- The connections should comply with local electrical code.
- Batteries (battery pack or batteries installed) shall not be exposed to excessive heat such as sunlight, fire or the like.
CAUTION
- Any changes or modifications not expressly approved by the party responsible for compliance could void the user’s authority to operate the equipment.
- The network camera is only intended for a connection to an ethernet or PoE network without routing to the outside plant.
- The model number and serial number of this product may be found on the surface of the unit. You should note the model number and serial number of this unit in the space provided and retain this book as a permanent record of your purchase to aid identification in the event of theft.
Model No.
Serial No.
NOTE
This equipment has been tested and found to comply with the limits for a Class A digital device, pursuant to Part 15 of the FCC Rules. These limits are designed to provide reasonable protection against harmful interference when the equipment is operated in a commercial environment. This equipment generates, uses, and can radiate radio frequency energy and, if not installed and used in accordance with the instruction manual, may cause harmful interference to radio communications. Operation of this equipment in a residential area is likely to cause harmful interference in which case the user will be required to correct the interference at his own expense.
FCC Caution
To assure continued compliance, (example – use only shielded interface cables when connecting to computer or peripheral devices). Any changes or modifications not expressly approved by the party responsible for compliance could void the user’s authority to operate this equipment.
Disposal of Old Equipment and Batteries
Only for European Union and countries with recycling systems
These symbols on the products, packaging, and/or accompanying documents mean that used electrical and electronic products and batteries must not be mixed with general household waste. For proper treatment, recovery and recycling of old products and used batteries, please take them to applicable collection points in accordance with your national legislation. By disposing of them correctly, you will help to save valuable resources and prevent any potential negative effects on human health and the environment. For more information about collection and recycling, please contact your local municipality. Penalties may be applicable for incorrect disposal of this waste, in accordance with national legislation.
Note for the battery symbol (bottom symbol)
This symbol might be used in combination with a chemical symbol. In this case it complies with the requirement set by the Directive for the chemical involved.
About the user manuals
Product documentation is composed of the following documents.
- Installation Guide (this document): Explains installation, cable connections, mounting and removal. This manual uses the WV-S6131 as an example in the explanations.
- Important Information (included in the CD-ROM): Provides basic information about the product.
- Operating Instructions (included in the CD-ROM): Explains how to perform the settings and how to operate this camera.
- Installation Guide (this document): Explains installation, cable connections, mounting and removal. This manual uses the WV-S6131 as an example in the explanations.
- Operating Instructions (included in the CD-ROM): Explains how to perform the settings and how to operate this camera.
Adobe® Reader® is required to read these operating instructions on the provided CD-ROM. When the Adobe Reader is not installed on the PC, download the latest Adobe Reader from the Adobe web site and install it. The external appearance and other parts shown in this manual may differ from the actual product within the scope that will not interfere with normal use due to improvement of the product.
Standard accessories
Installation Guide (this document) ……………………1 set
IMPORTANT SAFETY INSTRUCTIONS …………… 1 pc.
CD.ROM*1 …………………………………………………. 1 pc.
Code label*2……………………………………………….. 1 pc.
- The CD-ROM contains the operating instructions and different kinds of tool software programs.
- This label may be required for network management. Use caution not to lose this label.
The following parts are used during installation procedures
- Camera mount bracket…………………………………. 1 pc.
- Camera fixing screw (M3)……………………………… 2 pcs. (incl. 1 spare)
- Decorative cover (upper part and lower part)……. 1 pc.
- Power cable plug*3………………………………………. 1 pc.
*3 The power cord plug is attached to the camera.
Preparations
Other items that are needed (not included)
Prepare the required parts for each installation method before starting the installation. The following are the requirements for the various installation methods.
| Installation method | Mounting screw | Minimum pull- out strength*1 |
| ⒶInstalling the camera to a ceiling that has adequate structural strength Use the camera mount bracket (accessory). | M4 screws/ 4pcs. | 196 N {44 lbf} |
| ⒷInstalling the camera to a ceiling that has inadequate structural strength The area of the ceiling that the camera will be installed to must be sufficiently reinforced, or the optional ceiling mount bracket for the camera (WV-Q105A*2, weight approx. 150 g {0.33 lbs}) must be used. |
M10 anchor bolts/2pcs. | 5 times or more of the total weight in- cluding the camera |
| ⒸInstalling the camera embedded to a ceiling that has inadequate structural strength The area of the ceiling that the camera will be installed to must be sufficiently reinforced, or the optional ceiling embedding bracket for the camera (WV-Q126A*2, weight approx. 1.3 kg {2.87 lbs}) must be used. |
M10 anchor bolts/2pcs. | 5 times or more of the total weight in- cluding the camera |
| ⒹInstalling the camera to a wall Use the wall mount bracket (WV-Q119*2, weight approx. 650 g {1.43 lbs}). | M4 screws/ 4pcs. | 196 N {44 lbf} |
- The minimum pull-out strength is the value per screw.
- For details on procedure for attaching mount bracket and camera, read the operating instructions of each mount bracket.
IMPORTANT
- Prepare mounting screws (M4) and anchor bolts to be mounted on a ceiling and wall separately.
- Select screws according to the material of the location that the camera will be mounted to. In this case, wood screws and nails should not be used.
- If the mounting location such as plaster board is too weak to support the total weight, the area shall be sufficiently reinforced.
Examples of when using the mount brackets (optional accessory) to install the camera.
Ceiling mount bracket (WV-Q105A)

Ceiling embedding bracket (WV-Q126A)

Wall mount bracket (WV-Q119)

Preparations before installation
- Insert an SD memory card (locally procured) as occasion demands.
* SDXC/SDHC/SD memory card is described as SD memory card. - Insert an SD memory card following the procedure shown below. For the detailed procedure, refer to Important Information on the provided CD-ROM.
- Slide the SD memory card cover to the arrow direction to open the cover.
- Insert an SD memory card fully into the SD memory card slot, and then push the memory card straight into the slot until a click is heard. (The label should face the bottom side of the camera)
- Shut the SD memory card cover.

Installation
The installation tasks are explained using 4 steps.

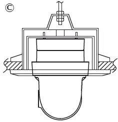
Step 1 Fix the mount bracket and hang the camera
This Installation Guide explains the above “Installing the camera to a ceiling that has adequate structural strength”. When you use mount brackets (optional accessory), read their operating instructions.
- Process the installation surface.
Decide the attachment position and bore holes for screws or anchors on the ceiling and a hole for wiring (ø25 mm {31/32 inches}) as occasion demands.
Note:
- The center point of the camera mount bracket (accessory) should be more than 100 mm {3-15/16 inches} away from obstacles such as a wall.
- The camera mount bracket (accessory) should be installed with its “⇧FRONT” mark in the i-PRO logo direction (shooting direction) after installation.
Attach the camera mount bracket using 4 fixing screws (M4: locally procured)
Remove the protective cap of each connecting terminal if the audio input and the audio output are used. Keep the removed protective caps for future
use. Minimum pull-out strength:
196 N {44 lbf} (per 1 pc.)
IMPORTANT
The protective caps are used to prevent dirt and dust from entering inside this product. Keep the protective caps inserted in connectors that are not used.
- Attach the safety wire fixed with the camera mount bracket to the camera. After attaching the safety wire to the camera, confirm that the ring part at the end of the safety wire is securely hooked on the safety wire holder.
Note
- The camera is not fixed temporarily. Take care not to hit the camera against periphery (especially the dome section).
- Retain a work space of 350 mm {1 ft 1-25/32 inches} or more from the ceiling when you hang the camera from the ceiling.
Process the decorative cover (accessory) as necessary
Remove the cutout part on the decorative cover when directly attaching the cable to a ceiling with open wiring. Install the camera and wire through
the cutout part of the decorative cover as shown in the illustration below when you finally fit the decorative cover.
IMPORTANT
- To prevent an injury and protect the cable, finish the side through hole for the cable with a file so that it does not become sharp.
- Make sure that no cable is pinched by the decorative cover when installing it.
Step 2 Making connections
Refer to the Important Information on the provided CD-ROM for details about each cable.
- As necessary, use a cable tie (locally procured) to tie the cables together.
- Make sure to use the stereo mini plug.

Note
- Since the space around the connector is limited, use audio cables and an Ethernet cable that do not exceed the sizes described in the illustrations.

IMPORTANT
- Turn off each system’s power supply (PoE hub or device to supply power to the camera) before making a connection.
- The 12 V DC power supply shall be insulated from the commercial AC power.
- Connect an Ethernet cable (category 5e or better, straight) to the network connector.
- If needed, connect a microphone or the line out of an external device to the audio input connector.
- If needed, connect a powered speaker to the audio output connector.
Note
- The audio output can be switched to the monitor output. The default is “Audio”. Refer to the “Operating Instructions” on the provided CD-ROM for descriptions of how to switch the output.
- If the audio output is used for the monitor output, connect a ø3.5 mm stereo mini connector (locally procured) to the wire as shown in the right figure and use it.
When connecting an AC adaptor or an external power supply, use the power cable plug (accessory) to connect it to the camera.
- Remove 3 mm – 7 mm {1/8 inches – 9/32 inches} of the outer jacket of the cable for the AC adaptor, expose the wire more and twist the stripped part of the wire sufficiently. When connecting an external power supply to the camera, use the 16 AWG to 24 AWG single-wired
or stranded wired cables. - Loosen the screws of the power cable plug and insert the wire for the AC adaptor into the plug.
- Tighten the screw of the power cable plug. (Recommended tightening torque: 0.34 N· m {0.25 lb f·ft})
- Install the power cable plug into the camera.
Caution
- A READILY ACCESSIBLE DISCONNECT DEVICE SHALL BE INCORPORATED TO THE EQUIPMENT POWERED BY 12 V DC POWER SUPPLY.
- ONLY CONNECT 12 V DC CLASS 2 POWER SUPPLY (UL 1310/CSA 223) or LIMITED POWER SOURCE (IEC/EN/UL/CSA 60950-1).
If needed, connect the alarm input/output cables to the EXT I/O terminals.
Connect the cables of external devices to the EXT I/O terminal.
- Remove 8 mm – 9 mm {5/16 inches – 11/32 inches} of the outer jacket of the cable and twist the cable core to prevent the short circuit first. Specification of cable (wire): 20 AWG – 26 AWG, Single core, twisted
- Push down the button of the desired terminal on the external I/O terminal plug with a ballpoint pen, and release the button when the cable of the external device is fully inserted into the terminal hole.
External I/O terminal

Note
- Do not connect 2 wires or more directly to a terminal. When it is necessary to connect 2 or more wires, use a splitter.
- Check whether the stripped part of the wire is not exposed and is securely connected.
- The default of EXT I/O terminals is “Off”. Refer to the Operating Instructions on the provided CD-ROM for further information about the EXT I/O terminal settings.
Step 3 Fixing the camera
Mount the camera onto the camera mount bracket (accessory) and fix it temporarily.
- Remove the protective tube (for protection during transportation) covering the lock plate.
- Fit the lock plate of the camera onto the guide part of the camera mount bracket, rotate the camera clockwise by 20 ° as seen from the bottom and fix it temporarily after inserting the camera while putting the center of the camera onto the center of the camera mount bracket.
IMPORTANT
- When mounting the camera onto the camera mount bracket, hold the fixed section of the unit. Mounting the camera while holding the dome section may result in malfunction.

Fix the camera on the camera mount bracket using the camera fixing screw (M3, accessory).
Recommended tightening torque: 0.68 N· m {0.50 lbf ·ft}
Wires connected to the camera are omitted in the illustrations.
Motion of the decorative cover (accessory) when it is fitted.
When attaching the decorative cover to the camera, 3 tabs on the inside of the decorative cover are passed through the guides on the side of the camera and fixed.
Enlarged view of the guide part

Install the decorative cover by the following 2 steps,【 3】,【 4】,【 5】 and【 6】,【 7).
Match the “❘” position of the decorative cover to the arrow of the unit, and then slightly push up the decorative cover while holding the lower part of the decorative cover.
- Push the decorative cover up until it is approx. 10 mm {13/32 inches} from the ceiling, and then turn the decorative cover by approx. 16 ° in the direction of the arrow (clockwise as seen from the bottom) of the figure below.
- After completing, push up the decorative cover to the ceiling until it covers all of the fixed section of the unit.

- Turn the decorative cover further an angle of 16 ° (in the arrow direction of the upper-right figure) clockwise as seen from the bottom to secure the cover.
IMPORTANT: - Make sure that no cable is pinched by the decorative cover.
Make sure that all of the end part of the locking arm has come out from the hole in the decorative cover.

Remove the cover film from the lens after the installation is completed, and then turn on the camera.
IMPORTANT
- Once the camera is turned on, it starts to be initialized and panning/tilting/zoom/ focus automatically operate. Do not touch the dome section with your hand while the camera is rotating.
Detach the camera
Detach the decorative cover (accessory) from the camera by following Step 3 “Fixing the camera” (Left) in the reverse order of【 3】→【7】.
- Turn the decorative cover by approx. 16 ° in the direction of the arrow (counterclockwise) as illustrated while pushing down the locking arm with a tip of the ball-point pen, and pull it slightly down from the ceiling.
- Turn the decorative cover a further 16 ° in the direction of the arrow (counterclockwise) as illustrated, and then remove the decorative cover.
IMPORTANT
- Hold the decorative cover with both hands when removing it.

- Detach the 12 V DC power cable plug (accessory) or the Ethernet cable from the camera (When using PoE), and then turn off the power of the camera.
IMPORTANT: - Before turning off the camera power, make sure that the SD MOUNT indicator is turned off. If you turn off the camera power while the SD MOUNT indicator is lit or flashing, the recorded data may be corrupted or damaged.
Remove the fixing screw (accessory) that is fixing the camera on the camera mount bracket (accessory).

Rotate the fixed section by approx. 20 ° counterclockwise to detach the camera from the camera mount bracket.
IMPORTANT
- When detaching the camera from the camera mount bracket, hold the fixed section of the unit. Detaching the camera while holding the dome section may result in malfunction.
Note:
- Take care not to hit the camera (especially the dome section) against surrounding objects as the camera is unfixed.
- Disconnect the remaining connected cables from the camera.
- Detach the safety wire from the camera and take off the camera from the installation surface.
The status indicator will light or blink as follows depending on the camera status. (Refer to the illustration of Step 2 Making connections)
| Operation status | Indicator status | |
| When the power is turned on | Before the network con- nection is established | Lights orange → Lights off → Blinks orange → Lights orange |
| When the network con- nection is established | Lights orange → Lights off → Blinks orange → Blinks green → Lights green | |
| During the standby or connection | Cable is not connected | Lights orange |
| Cable is connected | Lights green | |
| During the upgrade process | Blinks orange | |
| Initialization (When the network connection is established) | Lights orange → Lights off → Blinks orange → Lights orange → Blinks orange → Blinks green → Lights green | |
| Port forwarding error caused by the UPnP function | Blinks orange (in 2 seconds intervals (on for 1 second/off for 1 second)) | |
| Trouble happening on the camera | Blinks red | |
| Failure in writing data on the SD memory card | Lights red | |


























