USER MANUAL
REFRIGERATOR
BOTTOM FREEZER
MODEL: MERB430FGF02AP
352341
www.midea.com 
Warning:
Before using this product, please read this manual carefully and keep it for future reference. The design and specifications are subject to change without prior notice for product
improvement. Consult with your dealer or manufacturer for details.
Safety warnings
1.1 WARNING
Warning risk of fire / flammable materials :
THIS appliance is intended to be used in household and similar applications such as staff kitchen areas in shops, offices and other working environments; farm houses and by clients in hotels, motels and other residential type environments; bed and breakfast type environments; catering and similar non-retail applications.
THIS appliance is not intended for use by persons (including children) with reduced physical, sensory or mental capabilities, or lack of experience and knowledge, unless they have been given supervision or instruction concerning the use of the appliance by a person responsible for their safety.) Children should be supervised to ensure that they do not play with the appliance.
IF the supply cord is damaged, it must be replaced by the manufacturer, its service agent, or similarly qualified persons in order to avoid a hazard.
DO not store explosive substances such as aerosol cans with a flammable propellant in this appliance.
THE appliance has to be unplugged after use and before carrying out user maintenance on the appliance.
WARNING: Keep ventilation openings, in the appliance enclosure or in the built-in structure, clear of obstruction.
WARNING: Do not use mechanical devices or other means to accelerate the defrosting process, other than those recommended by the manufacturer.
WARNING: Do not damage the refrigerant circuit.
WARNING: Do not use electrical appliances inside the food storage compartments of the appliance, unless they are of the type recommended by the manufacturer.
WARNING: Please abandon the refrigerator according to local regulators for it uses flammable blowing gas and refrigerant.
WARNING: When positioning the appliance, ensure the supply cord is not trapped or damaged.
WARNING: Do not locate multiple portable socket outlets or portable power supplies at the rear of the appliance.
Do not use extension cords or ungrounded two-prong adapters
DANGER
- Risk of child entrapment Before you throw away your old refrigerator or freezer:
- Take off the doors
- Leave the shelves in place so that children may not easily climb inside
THE refrigerator must be disconnected from the source of electrical supply before attempting the installation of an accessory
REFRIGERANT and cyclopentane foaming materials used for the appliance is flammable. Therefore, when the appliance is scrapped, it shall be kept away from any fire source and be recovered by a special recovering company with a corresponding qualification other than being disposed by combustion, so as to prevent damage to the environment or any other harm.
CHILDREN should be supervised to ensure that they do not play with the appliance.
FOR EN: standard This appliance can be used by children aged 8 years and above and persons with reduced physical sensory or mental capabilities or lack of experience and knowledge if they have been given supervision or instruction concerning the use of the appliance in a safe way and understand the hazards involved. Children shall not play with the appliance. Cleaning and user maintenance shall not be made by children without supervision. Children aged from 3 to 8 years are allowed to load and unload refrigerating appliances.
To avoid contamination of food please respect the following instructions:
- Opening the door for long periods can cause a significant increase of the temperature in the compartments of the appliance.
- Clean regular surfaces that can come in contact with food and accessible drainage systems.
- Clean water tanks if they have not been used for 48 h; flush the water system connected to a water supply if water has not been drawn for 5 days. note 1
- Store raw meat and fish in suitable containers in the refrigerator, so that it is not in contact with or drip onto other food.
- Two-star ** frozen-food compartments are suitable for storing pre-frozen food, storing or making ice cream, and making ice cubes. note 2
- One * -, two ** -and three-star *** compartments are not suitable for the freezing of fresh food.
NOT 3
- If the refrigerating appliance is left empty for long periods, switch off, defrost, clean, dry, and leave the door open to prevent mold from developing within the appliance.
Note 1,2,3 Please confirm whether it is applicable according to your product compartment type.
WARNING: To avoid a hazard due to the instability of the appliance, it must be fixed in accordance with the instructions.
WARNING: Connect to potable water supply only. (Suitable for the ice-making machine)
To Prevent A Child From Being Entrapped, Keep Out Of Reach Of Children And Not In The Vicinity Of Freezer (Or Refrigerator). Suitable for products with locks.
1.2 Meaning of safety warning symbols
| Prohibition symbol | This is a prohibition symbol. Any incompliance with instructions marked with this symbol may result in damage to the product or endanger the personal safety of the user. |
| Warning symbol | This is a warning symbol. It is required to operate in strict observance of instructions marked with this symbol, or otherwise, damage to the product or personal injury may be caused. |
| Note symbol | This is a cautioning symbol. Instructions marked with this symbol require special caution. Insufficient caution may result in slight or moderate injury or damage to the product. |
This manual contains lots of important safety information which shall be observed by the users.
1.3 Electricity-related warnings.
- Do not pull the power cord when pulling the power plug of the refrigerator. Please firmly grasp the plug and pull out it from the socket directly.
- To ensure safe use, do not damage the power cord or use the power cord when it is damaged or worn.

- Please use a dedicated power socket and the power socket shall not be shared with other electrical appliances. The power plug should be firmly contacted with the socket or else fires might be caused.
- Please ensure that the grounding electrode of the power socket is equipped with a reliable grounding line.

- Please turn off the valve of the leaking gas and then open the doors and windows in case of leakage of gas and other flammable gases. Do not unplug the refrigerator and other electrical appliances considering that a spark may cause a fire.

- Do not use electrical appliances on top of the appliance, unless they are of the type recommended by the manufacturer.

- Do not arbitrarily disassemble or reconstruct the refrigerator, nor damage the refrigerant circuit; maintenance of the appliance must be conducted by a specialist.
- The damaged power cord must be replaced by the manufacturer, its maintenance department or related professionals in order to avoid danger.

- The gaps between refrigerator doors and between doors and refrigerator body are small, be noted not to put your hand in these areas to prevent from squeezing the finger. Please be gentle when closing the refrigerator door to avoid falling articles.
- Do not pick foods or containers with wet hands in the freezing chamber when the refrigerator is running, especially metal containers in order to avoid frostbite.

- Do not allow any child to get into or climb the refrigerator; otherwise, suffocation or falling injury of the child may be caused.

- Do not place heavy objects on the top of the refrigerator considering that objects may fall when closing or opening the door, and accidental injuries might be caused.
1.5 Wa r nings fo r placement
- Do not put flammable, explosive, volatile, and highly corrosive items in the refrigerator to prevent damage to the product or fire accidents.
- Do not place flammable items near the refrigerator to avoid fires.

- The refrigerator is intended for household use, such as storage of foods; it shall not be used for other purposes, such as storage of blood, drugs or biological products, etc.

- Do not store beer, beverage, or other fluid contained in bottles or enclosed containers in the freezing chamber of the refrigerator; otherwise, the bottles or enclosed containers may crack due to freezing to cause damage.
1.6 Warnings for energy
Warning for energy
- Refrigerating appliances might not operate consistently (possibility of defrosting of contents or temperature becoming too warm in the frozen food compartment) when sited for an extended period of time below the cold end of the range of temperatures for which the refrigerating appliance is designed.
- The fact that effervescent drinks should not be stored in food freezer compartments or cabinets or in low-temperature compartments or cabinets, and that some products such as water ices should not be consumed too cold;
- The need to not exceed the storage time(s) recommended by the food manufacturers for any kind of food and particularly for commercially quick-frozen food in food-freezer and frozen-food storage compartments or cabinets;
- The precautions are necessary to prevent an undue rise in the temperature of the frozen food while defrosting the refrigerating appliance, such as wrapping the frozen food in several layers of newspaper.
- The fact that a rise in temperature of the frozen food during manual defrosting, maintenance or cleaning could shorten the storage life.
- The necessity that, for doors or lids fitted with locks and keys, the keys be kept out of the reach of children and not in the vicinity of the refrigerating appliance, in order to prevent children from being locked inside.
1.7 Warnings for disposal
Refrigerant and cyclopentane foaming material used for the refrigerator are flammable. Therefore, when the refrigerator is scrapped, it shall be kept away from any fire source and be recovered by a special recovering company with corresponding qualifications other than being disposed by combustion, so as to prevent damage to the environment or any other harm.
When the refrigerator is scrapped, disassemble the doors, and remove the gasket of the door and shelves; put the doors and shelves in a proper place, so as to prevent the trapping of any child.
Correct Disposal of this product :
This marking indicates that this product should not be disposed of with other household wastes. To prevent possible harm to the environment or human health from uncontrolled waste disposal, recycle it responsibly to promote the sustainable reuse of material resources. To return your used device, please use the return and collection systems or contact the retailer where the product was purchased. They can take this product for environmentally safe recycling.
Proper use of refrigerator
2 1 Placement
- Before use, remove all packing materials, including bottom cushions, foam pads, and tapes inside of the refrigerator; tear off the protective film on the doors and the refrigerator body.

- Keep away from heat and avoid direct sunlight. Do not place the freezer in moist or watery places to prevent rust or reduction of insulating effect.
- Do not spray or wash the refrigerator; do not put the refrigerator in moist places easy to be splashed with water so as not to affect the electrical insulation properties of the refrigerator.

- The refrigerator is placed in a well-ventilated indoor place; the ground shall be flat, and sturdy (rotate left or right to adjust the wheel for leveling if unstable).

- The top space of the refrigerator shall be greater than 30cm, and the refrigerator should be placed against a wall with a free distance of more than 10cm to facilitate heat dissipation.

- Spare enough space for the convenient opening of the doors and drawers or statements by the distributor.

Precautions before installation:
Before installation or adjusting of accessories, it shall be ensured that the refrigerator is disconnected from power.
Precautions shall be taken to prevent the fall of the handle from causing any personal injury.
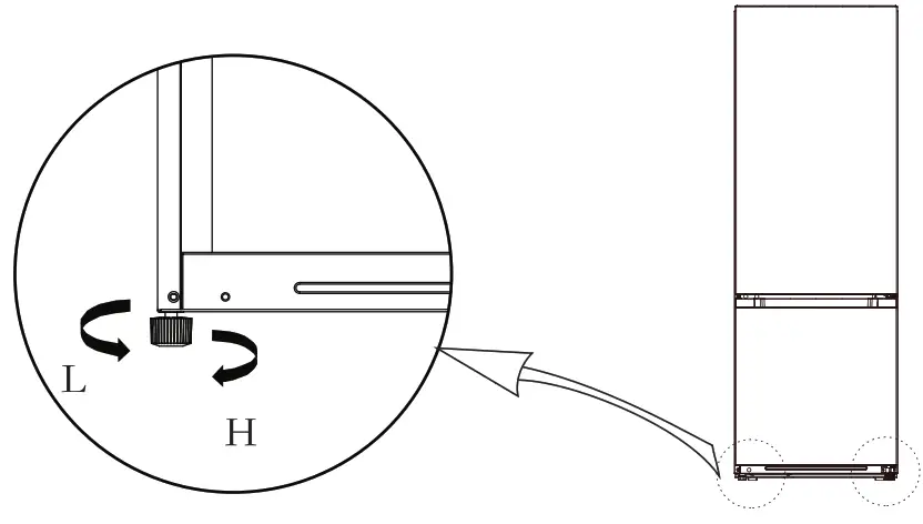
2 .2 Leveling feet
Schematic diagram of the leveling feet

(The picture above is only for reference.The actual configuration will depend on the physical product or statement by the distributor)
Adjusting procedures:
a. Turn the feet clockwise to raise the refrigerator;
b. Turn the feet counterclockwise to lower the refrigerator;
c. Adjust the right and left feet based on the procedures above to a horizontal level.
2.3 Door Right-Left Change
| List of tools to be provided by the user | |||
![]() | Cross screwdriver | ![]() | Putty knife thin-blade screwdriver |
![]() | 5/16″ socket and ratchet | ![]() | Masking tape |
| Parts to be used for door reverse | ||||
| Number | Name | Quantity | Note | |
| 1 | Right upper hinge | 1 | Pre-installed on the refrigerator, removed when the door is reversed, and kept for future use | ![]() |
| 2 | Upper right hinge cover | 1 | Pre-installed on the refrigerator, removed when the door is reversed, and kept for future use | ![]() |
| 3 | Decorative cover | 1 | Pre-installed on the refrigerator, still used when the door is reversed | |
| 4 | Stopper | 1 | Pre-installed on the refrigerator, still used when the door is reversed | ![]() |
| 5 | Stopper Lower hinge | 1 | Pre-installed on the refrigerator, still used when the door is reversed | ![]() |
| 6 | Left decorative cover | 1 | Pre-installed on the freezer, still used when the door is reversed | ![]() |
| 7 | Left upper hinge | 1 | In the attached plastic bag, take them out for use when the door is reversed | ![]() |
| 8 | The Upper left hinge cover | 1 | In the attached plastic bag, take them out for use when the door is reversed | ![]() |
| 9 | Right decorative cover | 1 | In the attached plastic bag, take them out for use when the door is reversed | ![]() |
- Please power off this appliance before conducting this operation. Remove all food from door shelves.
- Remove the upper left hinge cover decorative cover, upper right hinge cover, and upper right hinge;

- Remove the refrigerated door body (be careful not to lose small parts such as the shaft sleeve and stop on the door);
Remove the middle hinge and remove the decorative cover of the hinge hole on the other side.
- Remove the freezing door body (be careful not to lose small parts such as the shaft sleeve and stop on the door);
Remove the hinge and adjust the angle. Remove and install the lower hinge shaft to the other side of the hinge, and install the modified lower hinge to the other side of the box.
- Change the refrigerator door:
Remove the cover plate of the upper-end cover of the refrigeration door and the left decorative cover.
Install the upper shaft sleeve and the signal line of the door body to the other side and cover the upper-end cover plate. Take out the right decorative cover from the accessory bag and install it on the other side of the upper-end cover.
- Change the freezing door:
1) Remove the shaft sleeve and cap of the upper-end cover of the freezing door and install them at the left and right swap positions.
2) Remove the door self-locking, door stop, and shaft sleeve of the freezing door, take out the left door self-locking from the accessory bag, install it on the left side of the lower end cover of the freezing door, change the door stop and shaft sleeve to the left side of the lower end cover of the freezing door.
- Install the replaced freezing door on the lower hinge, then install the middle hinge and cover the hinge hole decorative cover.

- Remove the upper left hinge cover and upper left hinge from the accessory bag. Place the refrigerated door body on the middle hinge and install the upper left hinge.
Finally, replace the hinge decorative cover to the right side of the box body.
2.4 Changing the Light
Any replacement or maintenance of the LED lamps is intended to be made by the manufacturer, its service agent, or a similarly qualified person.
2.5 Starting

- After transportation, please let the product stay for more than 2 hours before turning on the power, otherwise, it will lead to a decrease in cooling capacity or damage to the product.
- Before putting any fresh or frozen foods, the refrigerator shall run for 2-3 hours, or for above 4 hours in summer when the ambient temperature is high.
- Please pull out the plug in case of power failure or cleaning. Do not connect the refrigerator to the power supply within five minutes to prevent damage to the compressor due to successive starts.
2.6 Energy saving tips
- The appliance should be located in the coolest area of the room, away from heat-producing appliances or heating ducts, and out of direct sunlight.
- Let hot foods cool to room temperature before placing in the appliance. Overloading the appliance forces the compressor to run longer. Foods that freeze too slowly may lose quality or spoil.
- Be sure to wrap foods properly, and wipe containers dry before placing them in the appliance.This cuts down on frost build-up inside the appliance.
- The appliance storage bin should not be lined with aluminum foil, wax paper, or paper toweling. Liners interfere with cold air circulation, making the appliance less efficient.
- Organize and label food to reduce door openings and extended searches. Remove as many items as needed at one time, and close the door as soon as possible.
Structure and functions
3.1 Key components

(The picture above is only for reference. The actual configuration will depend on the physical product or statement by the distributor).
Refrigerating chamber
- The Refrigerating Chamber is suitable for the storage of a variety of fruits, vegetables, beverages, and other food consumed in the short term.
- Cooking foods shall not be put in the refrigerating chamber until cooled to room temperature.
- Foods are recommended to be sealed up before putting into the refrigerator.
- The glass shelves can be adjusted up or down for a reasonable amount of storage space and easy use.
Freezing chamber
- The low-temperature freezing chamber may keep food fresh for a long time and it is mainly used to store frozen foods and make ice.
- The freezing chamber is suitable for the storage of meat, fish, rice balls, and other foods not to be consumed in short term.
- Chunks of meat are preferable to be divided into small pieces for easy access. Please be noted food shall be consumed within the shelf time.
3.2 Functions

(The picture above is only for reference. The actual configuration will depend on the physical product or statement by the distributor)
- Operation button
A: The temperature setting button of the refrigerator compartment - Temperature control panel
LED ① : set 1 (Cold)
LED ②: setting 2 ( Recommended)
LED ③: setting 3 ( Recommended )
LED ④ : set 4 (Coldest ) - Indicator
When electrifying the refrigerator for first time, all LEDs on the indicator light up fully for 3 seconds, and then the refrigerator runs according to setting 2. In case of a failure, the corresponding LED blinks.
In case of no failure, it shows the current temperature setting of the refrigerator.Indication Fault Description LED 4 and 1Tblinks Ambient temperature sensor failure LED 4 and 2, blink Defrost sensor failure of freezer chamber LED 4 and 3, blinks Temperature sensor failure of the refrigerating chamber - Temperature setting
Each time the temperature setting button A is pressed once, the temperature setting changes one time. After the temperature setting has been completed, the refrigerator will run according to the setting after 15s.
The shift regulation is:
- Quick cool mode
Long press the temperature setting button for 3s, after LED ② and LED ③ light up for the 30s, it will enter into Quick cool mode. Long press the temperature setting button for 3s, it will cancel Quick cool mode. - Freezer temperature adjustment paddle
It is located at the lower left corner of the refrigerator, and the factory position of the paddle is on the right.
If the paddle moves to the left, the temperature of the freezer compartment will increase, and if the paddle moves to the right, the temperature of the freezer compartment will decrease. - Multi-function box temperature adjustment paddle
The paddle can control the temperature of the multi-function box area. The paddle is located at the bottom of the refrigerated air duct, and the factory position is on the far right. Slide the paddle to the left, and the temperature of the multifunction box will drop. The temperature of the multifunction box can be adjusted by moving the position of the paddle.
Maintenance and care of the refrigerator
4.1 Overall cleaning
- Dust behind the refrigerator and on the ground shall be timely cleaned to improve the cooling effect and energy saving.
- Check the door gasket regularly to make sure there is no debris. Clean the door gasket with a soft cloth dampened with soapy water or diluted detergent.
- The interior of the refrigerator should be cleaned regularly to avoid odor.
- Please turn off the power before cleaning the interior, and remove all foods, drinks, shelves, drawers, etc.
- Use a soft cloth or sponge to clean the inside of the refrigerator, with two tablespoons of baking soda and a quart of warm water. Then rinse with water and wipe clean. After cleaning, open the door and let it dry naturally before turning on the power.
- For areas that are difficult to clean in the refrigerator (such as narrow sandwiches, gaps, or corners), it is recommended to wipe them regularly with a soft rag, soft brush, etc. and when necessary, combined with some auxiliary tools (such as thin sticks) to ensure no contaminants or bacterials accumulation in these areas.
- Do not use soap, detergent, scrub powder, spray cleaner, etc., as these may cause odors in the interior of the refrigerator or contaminated food.
- Clean the bottle frame, shelves, and drawers with a soft cloth dampened with soapy water or diluted detergent. Dry with a soft cloth or dry naturally.
Wipe the outer surface of the refrigerator with a soft cloth dampened with soapy water, detergent, etc., and then wipe dry. - Do not use hard brushes, clean steel balls, wire brushes, abrasives (such as toothpaste), organic solvents (such as alcohol, acetone, banana oil, etc.), boiling water, acid or alkaline items, which may damage the fridge surface and interior. Boiling water and organic solvents such as benzene may deform or damage plastic parts.
- Do not rinse directly with water or other liquids during cleaning to avoid short circuits or affecting electrical insulation after immersion.

Please unplug the refrigerator for defrosting and cleaning.
4.2 Defrosting
- The refrigerator is made based on the air-cooling principle and thus has an automatic defrosting function. Frost formed due to a change of season or temperature may also be manually removed by disconnection of the appliance from the power supply or by wiping with a dry towel.
4.3 Out of operation.
- Power failure: In case of power failure, even if it is in summer, foods inside the appliance can be kept for several hours; during the power failure, the times of door opening shall be reduced, and no more fresh food shall be put into the appliance.
- Long-time nonuse: The appliance shall be unplugged and then cleaned; then the doors are left open to prevent odor.
- Moving: Before the refrigerator is moved, take all objects inside out, fix the glass partitions, vegetable holder, freezing chamber drawers and etc. with tape, and tighten the leveling feet; close the doors and seal them with tape. During moving, the appliance shall not be laid upside down or horizontally, or be vibrated; the inclination during movement shall be no more than 45°.
The appliance shall run continuously once it is started. Generally, the operation of the appliance shall not be interrupted, or otherwise, the service life may be impaired
Troubleshooting
You may try to solve the following simple problems by yourself. If they cannot be solved, please contact the after-sales department.
| Failed operation | Check whether the appliance is connected to power or whether the plug is in well contact. Check whether the voltage is too low. Check whether there is a power failure or partial circuits have tripped. |
| Odor | Odorous foods shall be tightly wrapped. Check whether there is any rotten food. Clean the inside of the refrigerator. |
| Long-time operation of the compressor | Long operation of the refrigerator is normal in summer when the ambient temperature is high. It is not recommended to have too much food in the appliance at the same time. Food shall get cool before being put into the appliance. The doors are opened too frequently. |
| Light fails to get lit | Check whether the refrigerator is connected to the power supply and whether the illuminating light is damaged. |
| Doors cannot be properly closed | The door is stuck by food packages. The refrigerator is tilted. |
| Loud noise | Check whether the floor is level and whether the refrigerator is placed stably. Check whether accessories are placed at proper locations. |
| The door seal fails to be tight | Remove foreign matters on the door seal. Heat the door seal and then cool it for restoration (or blow it with an electrical drier or use a hot towel for heating). |
| Water pan overflows | There is too much food in the chamber or food stored contains too much water, resulting in heavy defrosting. The doors are not closed properly, resulting in frosting due to entry of air and increased water due to defrosting. |
| Hot housing | Heat dissipation of the built-in condenser via the housing is normal. When housing becomes hot due to high ambient temperature and storage of too much food, it is recommended to provide sound ventilation to facilitate heat dissipation. |
| Surface condensation | Condensation on the exterior surface and door seals of the refrigerator is normal when the ambient humidity is too high. Just wipe the condensate with a clean towel. |
| Abnormal noise | Buzz: The compressor may produce buzzes during operation, and the buzzes are loud, particularly upon start or stop. This is normal. Creak: Refrigerant flowing inside of the appliance may produce a creak, which is normal. |






















































